LEMON Manuals: Even more car manuals for everyone: 1960-2025
Home >> Infiniti >> 2012 >> G25 Base >> Repair and Diagnosis >> Restraints >> Restraints Control Systems >> Seat Belt Control System (Sedan) >> System Description >> Pre-Crash Seat Belt System >> System Diagram
April 5, 2026: LEMON Manuals is launched! Read the announcement.

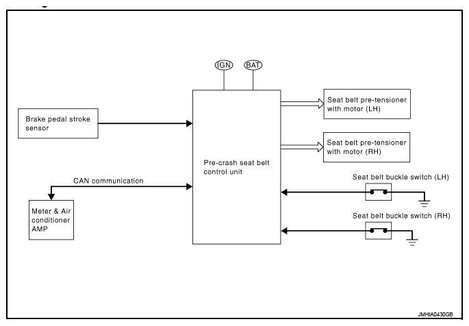
System Diagram

Fig 1: Pre-Crash Seat Belt - System Diagram
G07015571Courtesy of NISSAN NORTH AMERICA, INC.