LEMON Manuals: Even more car manuals for everyone: 1960-2025
Home >> Infiniti >> 2012 >> G37 Base, 2D Convertible >> Repair and Diagnosis >> Engine Performance >> System >> Engine Control System - Introduction (1 Of 2) (Convertible) >> DTC/Circuit Diagnosis >> Trouble Diagnosis - Specification Value >> Diagnosis Procedure >> Overall Sequence
April 5, 2026: LEMON Manuals is launched! Read the announcement.

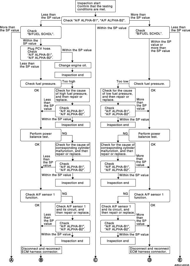
Overall Sequence

Fig 1: Trouble Diagnosis Flow Chart (1 Of 2)
G08443728Courtesy of NISSAN NORTH AMERICA, INC.
Fig 2: Trouble Diagnosis Flow Chart (2 Of 2)
G08443729Courtesy of NISSAN NORTH AMERICA, INC.