LEMON Manuals: Even more car manuals for everyone: 1960-2025
Home >> Infiniti >> 2012 >> G37 Base, 2D Convertible >> Repair and Diagnosis >> External Pages >> Different car >> Section 118 (Audio, Visual, Navigation System) >> [Base Audio & Navigation] >> Removal And Installation >> Rear View Camera >> Adjustment
April 5, 2026: LEMON Manuals is launched! Read the announcement.

Rear View Camera: Adjustment

WARNING: This page is about a different car, the 2011 Nissan Leaf. However, it is still accessible from the selected car via links, so may be relevant.

If the side distance guiding lines are dislocated after installation of the rear view camera, adjust the position of the side distance guiding lines.

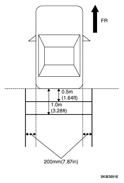
  1. Draw the correction lines at the rear of the vehicle passing through the following points: 20 cm from both sides of the vehicle, and 0.5 m and 1.0 m from the rear end of the bumper.
  2. Set "Adjust offset of rear view camera" mode in Confirmation/Adjustment mode.
    Fig 1: Identifying Side Distance Guiding Lines
    G05220442Courtesy of NISSAN MOTOR CO., U.S.A.
  3. Operate the touch panel and select the guiding line pattern so that its angle is aligned with the correction line of the rear of the vehicle.

    Selection range (-10°) - (+10°) in increments of 0.2° step

    Fig 2: Identifying Guiding Line Pattern
    G05220443Courtesy of NISSAN MOTOR CO., U.S.A.
  4. Press the upper/lower/left/right switch to perform the fine adjustment of the guiding lines so that the position of the guiding lines is aligned with the correction lines of the rear of the vehicle. The position of adjusted guiding line is recorded to the AV control unit by pressing the "Enter" switch.
    CAUTION: Never perform other operations while the guiding line position is memorized.

    Upper/lower adjustment range (-10°) - (+10°) in increments of 0.2° step

    Left/right adjustment range (-10°) - (+10°) in increments of 0.2° step