LEMON Manuals: Even more car manuals for everyone: 1960-2025
Home >> Infiniti >> 2012 >> G37 Base, 2D Convertible >> Repair and Diagnosis >> External Pages >> Different car >> Section 28 (Driver Information System) >> Service Information >> Board Computer >> Electrical Component Inspection >> Ambient Sensor
April 5, 2026: LEMON Manuals is launched! Read the announcement.

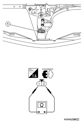
Ambient Sensor

WARNING: This page is about a different car, the 2010 Nissan Sentra. However, it is still accessible from the selected car via links, so may be relevant.

After disconnecting the ambient sensor harness connector, measure resistance between ambient sensor terminals 1 and 2 using the table below.

TEMPERATURE AND RESISTANCE CHART

Temperature °C (°F) Resistance kΩ (Approx.)
-30 (-22) 28.62
-20 (-4) 16.50
-10 (14) 9.92
0 (32) 6.19
10 (50) 3.99
20 (68) 2.65
30 (86) 1.81
40 (104) 1.27
50 (122) 0.90
55 (131) 0.77
60 (140) 0.66
Fig 1: Measuring Resistance Between Ambient Sensor Terminals 1 And 2
G06553709Courtesy of NISSAN MOTOR CO., U.S.A.

If NG, replace ambient sensor.