LEMON Manuals: Even more car manuals for everyone: 1960-2025
Home >> Infiniti >> 2012 >> G37 IPL, Standard Trans >> Repair and Diagnosis >> External Pages >> Different car >> Section 93 (Audio, Visual And Navigation System) >> BOSE Audio With Navigation >> System Description >> System >> Multi Av System >> MULTI AV SYSTEM : System Diagram
April 5, 2026: LEMON Manuals is launched! Read the announcement.

MULTI AV SYSTEM : System Diagram

WARNING: This page is about a different car, the 2011 Nissan 370Z. However, it is still accessible from the selected car via links, so may be relevant.

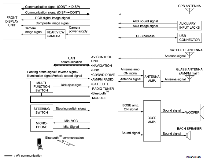
COUPE MODELS

Fig 1: Multi AV System - System Diagram (Coupe Models)
G07103638Courtesy of NISSAN MOTOR CO., U.S.A.
NOTE: The name MULTIFUNCTION SWITCH indicates the integration of PRESET SWITCH and MULTIFUNCTION SWITCH virtually.

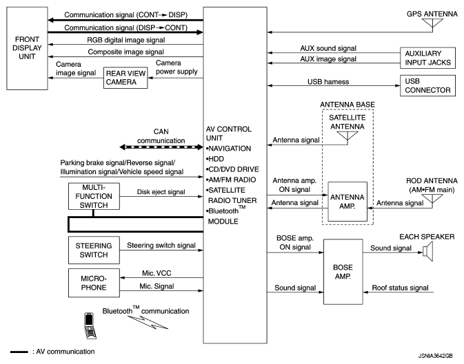
ROADSTER MODELS

Fig 2: Multi AV System - System Diagram (Roadster Models)
G07103639Courtesy of NISSAN MOTOR CO., U.S.A.
NOTE:
  • The name MULTIFUNCTION SWITCH indicates the integration of PRESET SWITCH and MULTIFUNCTION SWITCH virtually.
  • An antenna base integrated with antenna amp. and satellite antenna are adopted.
Fig 3: Rod Antenna Circuit Diagram
G05731530Courtesy of NISSAN MOTOR CO., U.S.A.