LEMON Manuals: Even more car manuals for everyone: 1960-2025
Home >> Infiniti >> 2012 >> G37 IPL, Standard Trans >> Repair and Diagnosis >> External Pages >> Different variant/trim >> Section 11 (HVAC Control System (Sedan)) >> Removal And Installation >> Preset Switch >> Exploded View
April 5, 2026: LEMON Manuals is launched! Read the announcement.

Exploded View

WARNING: This page is about a different variant/trim than selected.
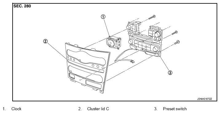
Fig 1: Exploded View Of Preset Switch
G08459004Courtesy of NISSAN NORTH AMERICA, INC.