LEMON Manuals: Even more car manuals for everyone: 1960-2025
Home >> Infiniti >> 2012 >> G37 IPL, Standard Trans >> Repair and Diagnosis >> External Pages >> Different variant/trim >> Section 37 (Security Control System (Sedan)) >> System Description >> INFINITI Vehicle Immobilizer System-NATS >> System Diagram
April 5, 2026: LEMON Manuals is launched! Read the announcement.

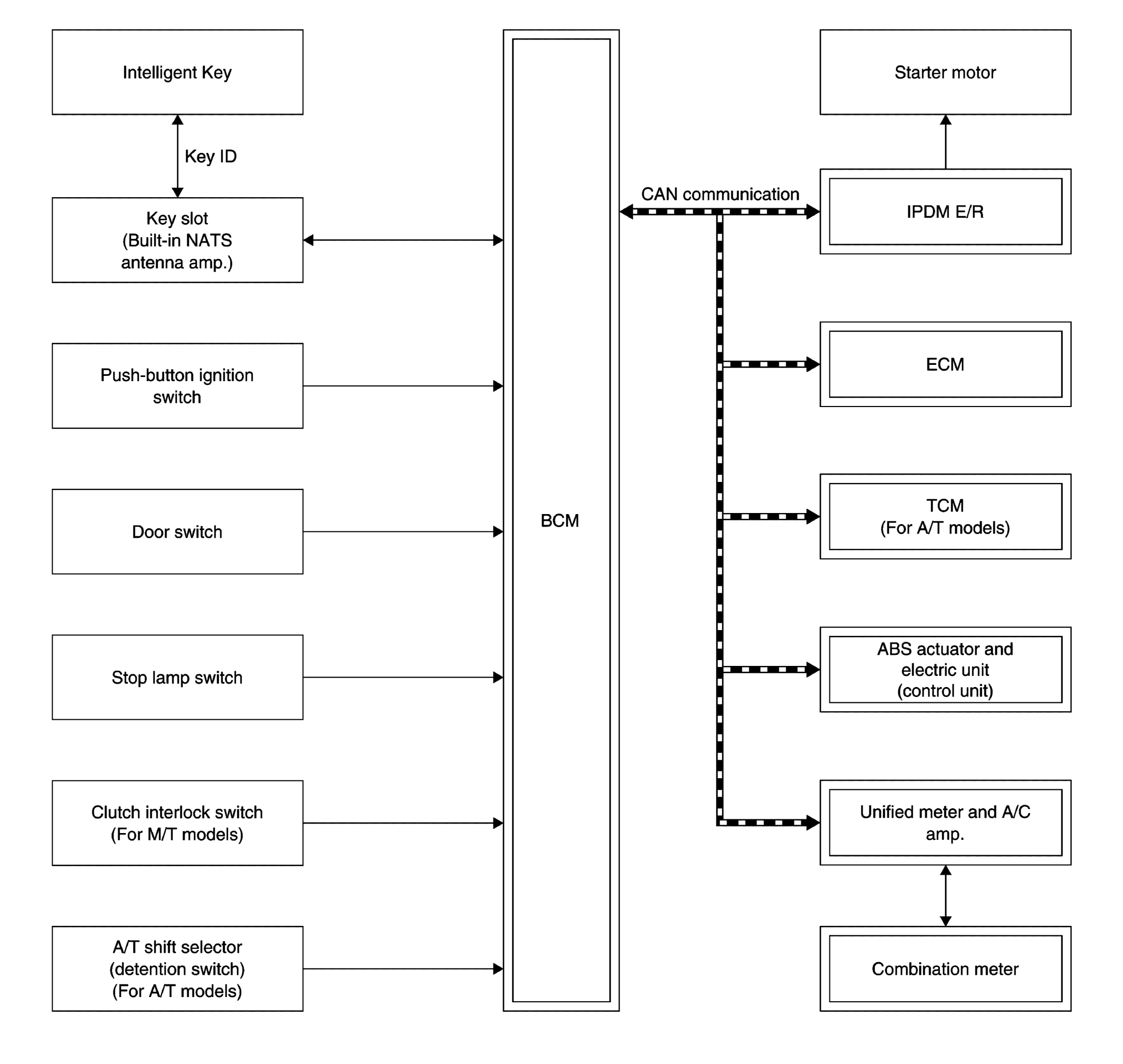
System Diagram

WARNING: This page is about a different variant/trim than selected.
Fig 1: Infiniti Vehicle Immobilizer System Diagram (NATS)
G08219614Courtesy of NISSAN NORTH AMERICA, INC.