LEMON Manuals: Even more car manuals for everyone: 1960-2025
Home >> Infiniti >> 2012 >> M35h >> Repair and Diagnosis (Single Page) >> Electrical >> Body Electrical >> Power Control System (IPDM E/R) >> System Description >> System >> Relay Control System >> RELAY CONTROL SYSTEM: System Diagram
April 5, 2026: LEMON Manuals is launched! Read the announcement.

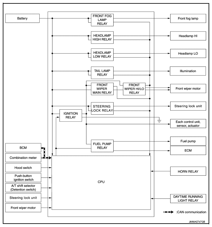
RELAY CONTROL SYSTEM: System Diagram

Fig 1: Relay Control System - System Diagram
G08252088Courtesy of NISSAN NORTH AMERICA, INC.
NOTE: Steering lock relay and steering lock unit, as shown in the system diagram, are for models with steering lock unit only.