Operation Principle
When System is Normal (Neutral)
| Name | Current application | Open/closed |
|---|---|---|
| Flow connection valve | Current applied | Closed |
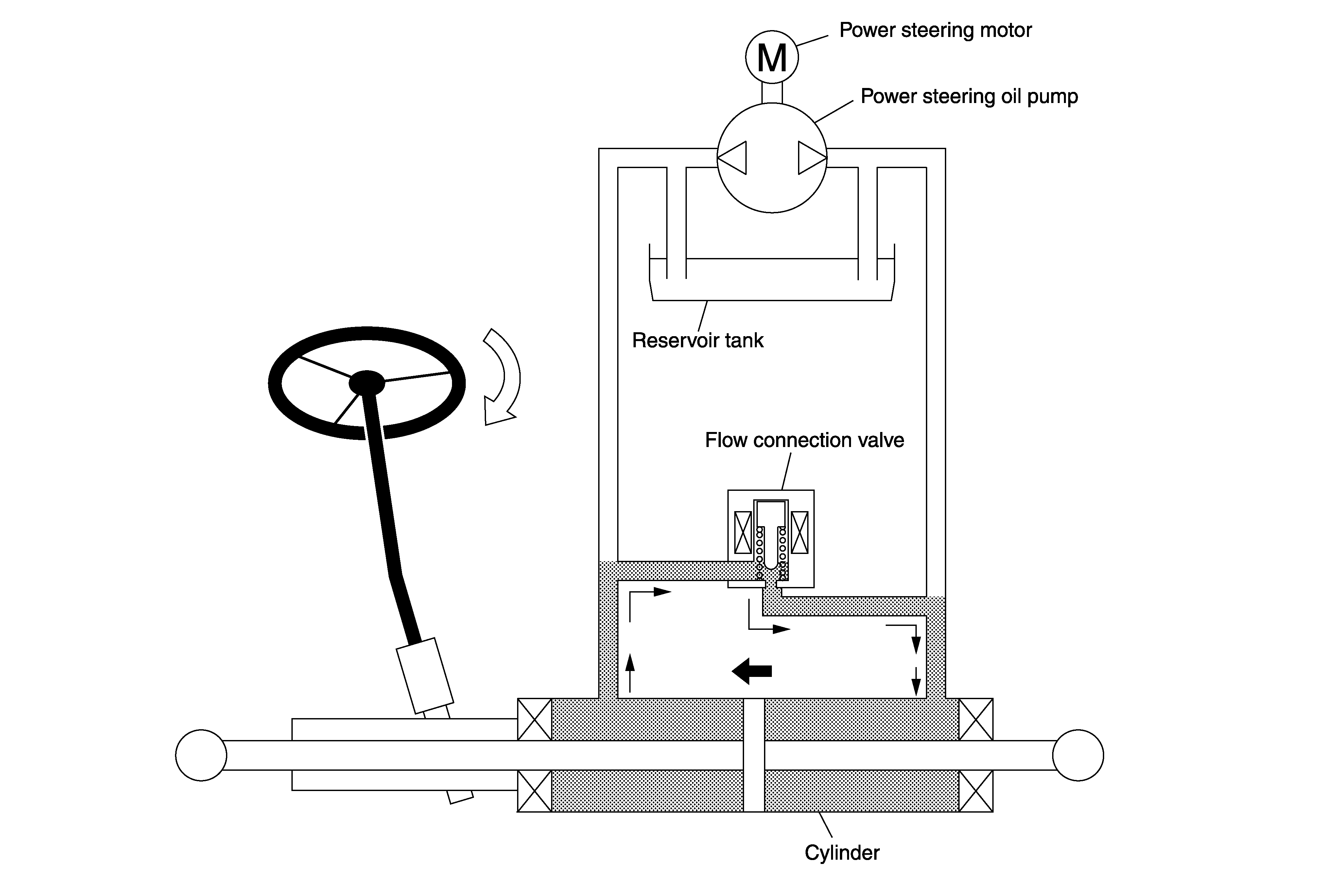
Because the power steering motor is not being operated, no discharge pressure is generated by the power steering oil pump and no steering assist force is generated.
When System is Normal (During Steering)
NOTE:
The illustration shows the hydraulic path during steering to the right. During steering to the left, the motor turns in the opposite direction and the hydraulic path is reversed.
| Name | Current application | Open/closed |
|---|---|---|
| Flow connection valve | Current applied | Closed |
- The power steering control module controls the power steering motor so that the power steering oil pump generates hydraulic pressure according to the vehicle speed in the same direction as the steering.
- The hydraulic pressure generated by the power steering oil pump is applied to the left side of the cylinder, assisting the rack in the left direction.
When System Malfunction Occurs (During Steering)
NOTE:
The illustration shows the hydraulic path during steering to the right. The path is reversed during steering to the left.
| Name | Current application | Open/closed |
|---|---|---|
| Flow connection valve | Current not applied. | Open |
- When a system malfunction occurs and the power steering control module stops control of the power steering oil pump, the power steering control module shuts off the current to the flow connection valve, opening the valve.
- When the flow connection valve opens, the cylinder left/right hydraulic paths are bypassed, allowing steering even when the power steering oil pump is stopped.