LEMON Manuals: Even more car manuals for everyone: 1960-2025
Home >> Infiniti >> 2012 >> M37 Base >> Repair and Diagnosis >> External Pages >> Different car >> Section 114 (Audio, Visual & Navigation System (Base Audio Without Navigation)) >> Removal And Installation >> Rear View Camera >> Adjustment
April 5, 2026: LEMON Manuals is launched! Read the announcement.

Rear View Camera: Adjustment

WARNING: This page is about a different car, the 2013 Infiniti M56 and 2013 Infiniti M37. However, it is still accessible from the selected car via links, so may be relevant.

Adjust the guide line position if the guide line position is shifted after installing the rear view camera.

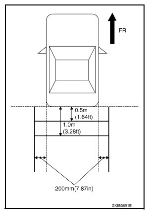
  1. Draw lines on rearward area of the vehicle passing through the following points: 200 mm (7.87 in) from both sides of the vehicle, and 0.5 m (1.64 ft), 1.0 m (3.28 ft) from the rear end of the bumper.
  2. Set into "Adjust Guide Lines" mode of "Confirmation/Adjustment" mode.
    Fig 1: Identifying Vehicle Rear End Guide Line Adjustment Position
    G08884784Courtesy of NISSAN NORTH AMERICA, INC.
  3. Rotate the center dial, and then select the guiding line pattern so that its angle is aligned with the correction line of the rear of the vehicle.

    Selected pattern: 7 

    Fig 2: Identifying Adjusting Offset Of Rear View Camera Screen
    G08884785Courtesy of NISSAN NORTH AMERICA, INC.
  4. Make fine adjustment to the correction line of the rear of the vehicle with up/down/left/right switches so that its position is aligned with the guiding line. Press "OK" switch and record the adjusted guiding line position to the AV control unit.

    Up/Down adjustment range: (-20°) - (20°) 

    Left/Right adjustment range: (-20°) - (20°) 

    CAUTION: After the adjustment, never perform other operations for one minute.