LEMON Manuals: Even more car manuals for everyone: 1960-2025
Home >> Infiniti >> 2014 >> Q50 Base, AWD >> Repair and Diagnosis (Single Page) >> Engine Performance >> System >> Engine Control System - Symptom Diagnosis, Maintenance And Removal And Installation (Except Hybrid) >> Removal And Installation >> Fuel Pump Control Module (FPCM) >> Exploded View
April 5, 2026: LEMON Manuals is launched! Read the announcement.

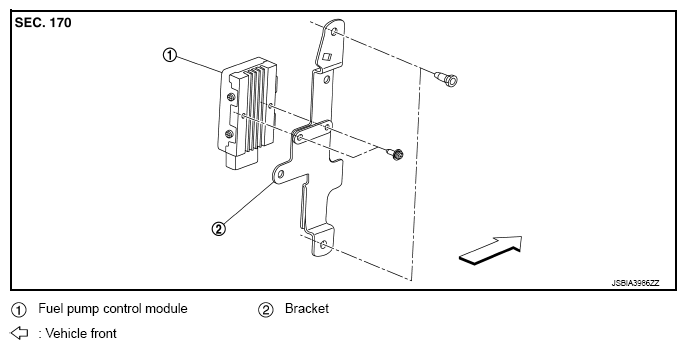
Exploded View

Fig 1: Exploded View Of Fuel Pump Control Module (FPCM)
G09160186Courtesy of NISSAN NORTH AMERICA, INC.