LEMON Manuals: Even more car manuals for everyone: 1960-2025
Home >> Infiniti >> 2014 >> Q50 Base, AWD >> Repair and Diagnosis (Single Page) >> Steering >> Power Steering >> Steering Control System (Direct Adaptive Steering) (Except Hybrid) >> Removal And Installation >> Steering Force Control Module >> Exploded View
April 5, 2026: LEMON Manuals is launched! Read the announcement.

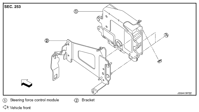
Exploded View

Fig 1: Exploded View Of Steering Force Control Module
G09159424Courtesy of NISSAN NORTH AMERICA, INC.