LEMON Manuals: Even more car manuals for everyone: 1960-2025
Home >> Infiniti >> 2014 >> Q60 Base, 2D Convertible, Automatic Trans >> Repair and Diagnosis (Single Page) >> Accessories & Equipment >> Anti-Theft Systems >> Security Control System (Convertible) >> System Description >> INFINITI Vehicle Immobilizer System-NATS >> System Diagram
April 5, 2026: LEMON Manuals is launched! Read the announcement.

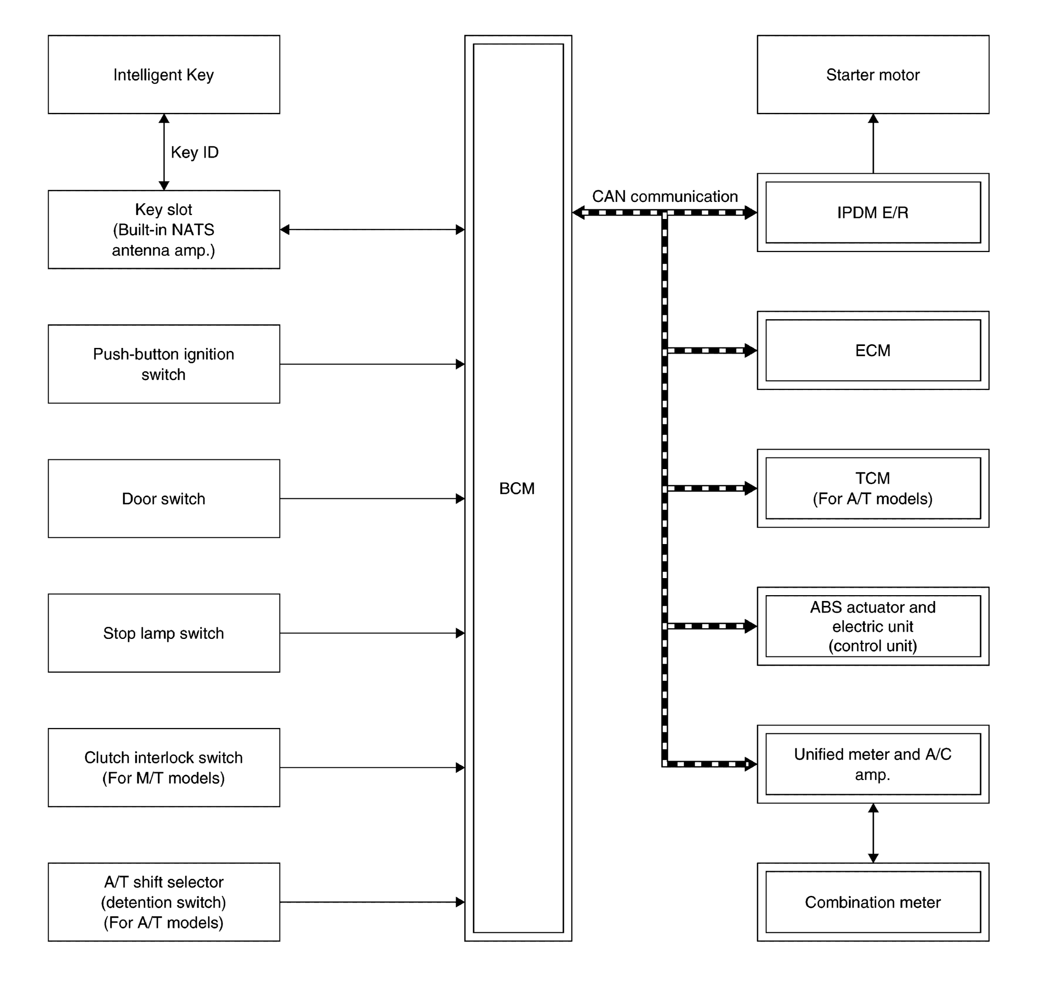
System Diagram

Fig 1: Infiniti Vehicle Immobilizer System-Nats - System Diagram
G08234895Courtesy of NISSAN NORTH AMERICA, INC.