LEMON Manuals: Even more car manuals for everyone: 1960-2025
Home >> Infiniti >> 2014 >> Q60 Base, 2D Convertible, Automatic Trans >> Repair and Diagnosis (Single Page) >> Body & Frame >> Seats >> Automatic Drive Positioner (Convertible) >> System Description >> Automatic Drive Positioner System >> Memory Function >> MEMORY FUNCTION: System Diagram
April 5, 2026: LEMON Manuals is launched! Read the announcement.

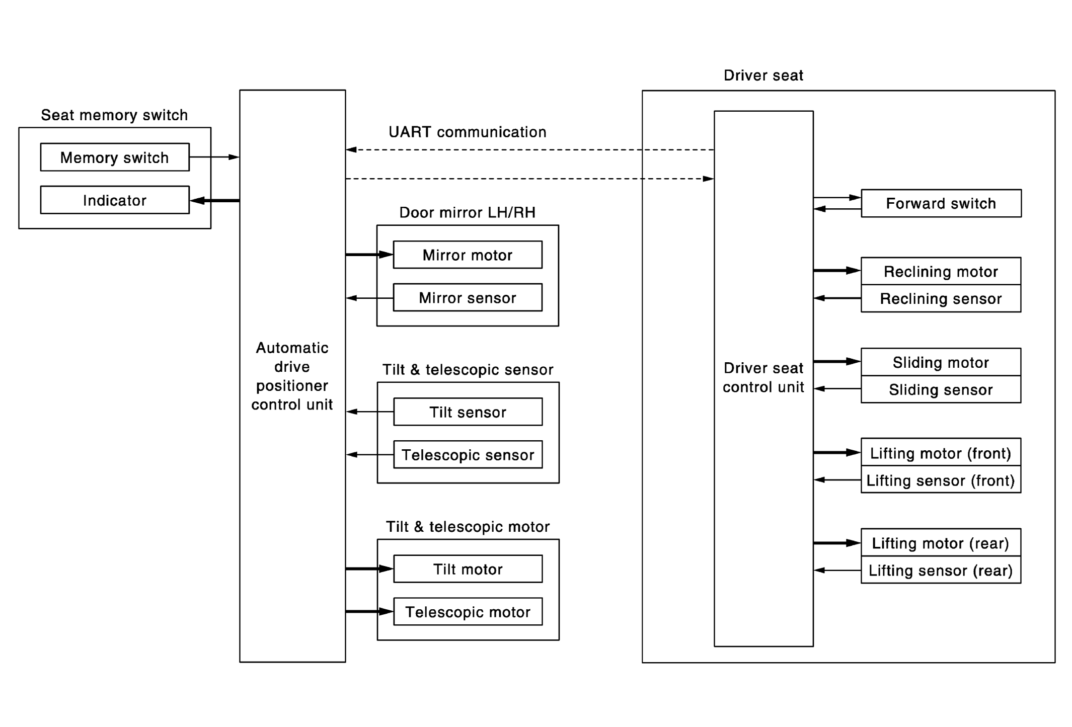
MEMORY FUNCTION: System Diagram

Fig 1: Memory Function System Diagram
G05970108Courtesy of NISSAN NORTH AMERICA, INC.