LEMON Manuals: Even more car manuals for everyone: 1960-2025
Home >> Infiniti >> 2014 >> Q60 Base, 2D Convertible, Automatic Trans >> Repair and Diagnosis (Single Page) >> Brakes >> Traction Control >> Brake Control System (VDC/TCS/Abs) (Convertible) >> Removal And Installation >> Yaw Rate/Side G Sensor >> Exploded View
April 5, 2026: LEMON Manuals is launched! Read the announcement.

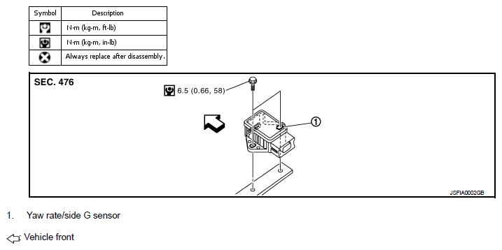
Exploded View

Fig 1: Yaw Rate/Side G Sensor And Screw With Torque Specifications
G09466184Courtesy of NISSAN NORTH AMERICA, INC.

Refer to "COMPONENTS " for symbols in the figure.