LEMON Manuals: Even more car manuals for everyone: 1960-2025
Home >> Infiniti >> 2014 >> Q60 Base, 2D Convertible, Automatic Trans >> Repair and Diagnosis (Single Page) >> Electrical >> Starter >> Starting System (Convertible) >> System Description >> Starting System >> M/T >> M/T: System Diagram
April 5, 2026: LEMON Manuals is launched! Read the announcement.

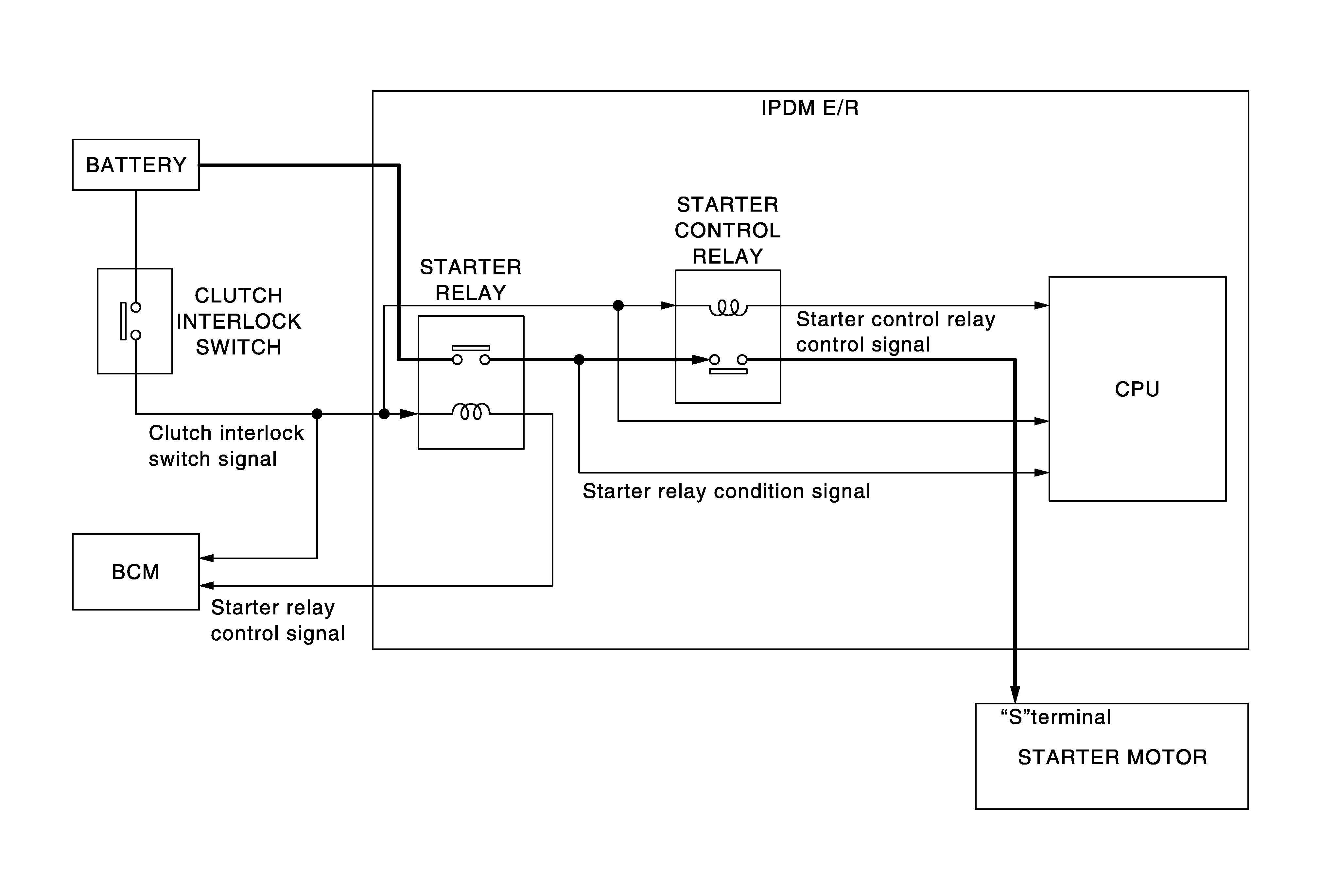
M/T: System Diagram

Fig 1: Starting System Diagram (M/T)
G05972976Courtesy of NISSAN NORTH AMERICA, INC.