LEMON Manuals: Even more car manuals for everyone: 1960-2025
Home >> Infiniti >> 2014 >> Q60 Base, 2D Convertible, Automatic Trans >> Repair and Diagnosis >> Engine Performance >> System >> Engine Control System - Component Testing (Convertible) >> Cooling Fan >> Component Inspection (Cooling Fan Relay)
April 5, 2026: LEMON Manuals is launched! Read the announcement.

Component Inspection (Cooling Fan Relay)

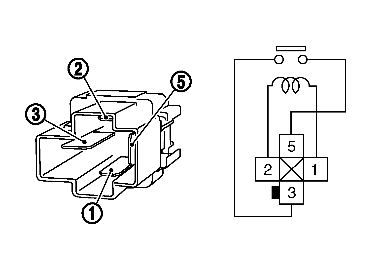
  1. CHECK COOLING FAN RELAY 
    1. Turn ignition switch OFF.
    2. Remove cooling fan relay.
    3. Check the continuity between cooling fan relay terminals under the following conditions.
      Terminals Conditions Continuity
      3 and 5 12 V direct current supply between terminals 1 and 2 Existed
      No current supply Not existed

      Is the inspection result normal? 

      YES: INSPECTION END

      NO: Replace cooling fan relay.

      Fig 1: Identifying VVEL Actuator Motor Relay Terminals
      G05733502Courtesy of NISSAN NORTH AMERICA, INC.