LEMON Manuals: Even more car manuals for everyone: 1960-2025
Home >> Infiniti >> 2014 >> Q60 Base, 2D Convertible, Automatic Trans >> Repair and Diagnosis >> Steering >> Power Steering >> Steering System (Convertible) >> Removal And Installation >> Steering Gear And Linkage >> Disassembly and Assembly >> Assembly
April 5, 2026: LEMON Manuals is launched! Read the announcement.

Disassembly and Assembly: Assembly

  1. Apply recommended fluid to O-ring, and then install O-ring to gear housing assembly.
  2. Install gear-sub assembly to gear housing assembly.
    CAUTION: In order to protect oil seal from any damage, insert sub-gear assembly out straightly.
  3. Install inner socket to gear housing assembly with the following procedure.
    1. Attach lock plate to rack part of gear housing assembly.
      CAUTION: Never reuse the lock plate.
    2. Apply thread sealant into the thread of inner socket.

      Use Genuine Medium Strength Thread Locking Sealant or equivalent. Refer to  "RECOMMENDED CHEMICAL PRODUCTS AND SEALANTS ".

    3. Screw inner socket into rack part and tighten at the specified torque.
    4. Secure with lock plate.
  4. Decide on the neutral position for the rack.

    Rack stroke neutral position (L): Refer to  "RACK STROKE ".

    Fig 1: Identifying Rack Stroke Neutral Position
    G05224421Courtesy of NISSAN NORTH AMERICA, INC.
  5. Install rear cover cap to gear sub-assembly.
    CAUTION: Make sure that the projection of rear cover cap is aligned with the marking position of gear housing assembly.
  6. Apply recommended thread locking sealant to the thread (2 turns thread), and then screw in the adjusting screw until it reaches height "H" from gear housing assembly measured before disassembling.

    Use Genuine High Performance Thread Sealant or equivalent. Refer to  "RECOMMENDED CHEMICAL PRODUCTS AND SEALANTS ".

    Fig 2: Identifying Adjusting Screw Height
    G04921817Courtesy of NISSAN NORTH AMERICA, INC.
  7. Move rack assembly 10 strokes throughout the full stroke so that the parts can fit with each other.
  8. Adjust pinion rotating torque with the following procedure.
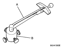
    1. Measure pinion rotating torque within ±180° of neutral position of the rack assembly using Tools. Stop the gear at the point where highest torque is read.

      A: Preload gauge [SST: ST3127S000 (J-25765-A)] 

      B: Preload adapter [SST: KV48103400 (-)] 

      Fig 3: Adjusting Pinion Rotating Torque Using Tools
      G04921838Courtesy of NISSAN NORTH AMERICA, INC.
    2. Loosen adjusting screw and retighten to 5.4 N.m (0.55 kg-m, 48 in-lb), and then loosen by 20 to 40°.
    3. Measure pinion rotating torque using Tools to make sure that the measured value is within the standard. Readjust if the value is outside the standard. Replace steering gear assembly if the value is outside the standard after readjusting or adjusting screw rotating torque is 5 N.m (0.51 kg-m, 44 in-lb) or less.

      Pinion rotating torque 

      Around neutral position (within±100°) average (A): Refer to  "PINION ROTATING TORQUE "

      Maximum variation (B): Refer to  "PINION ROTATING TORQUE "

      Fig 4: Rack Assembly Turning Angle Versus Torque Graph
      G05224424Courtesy of NISSAN NORTH AMERICA, INC.
    4. Turn pinion fully to left.
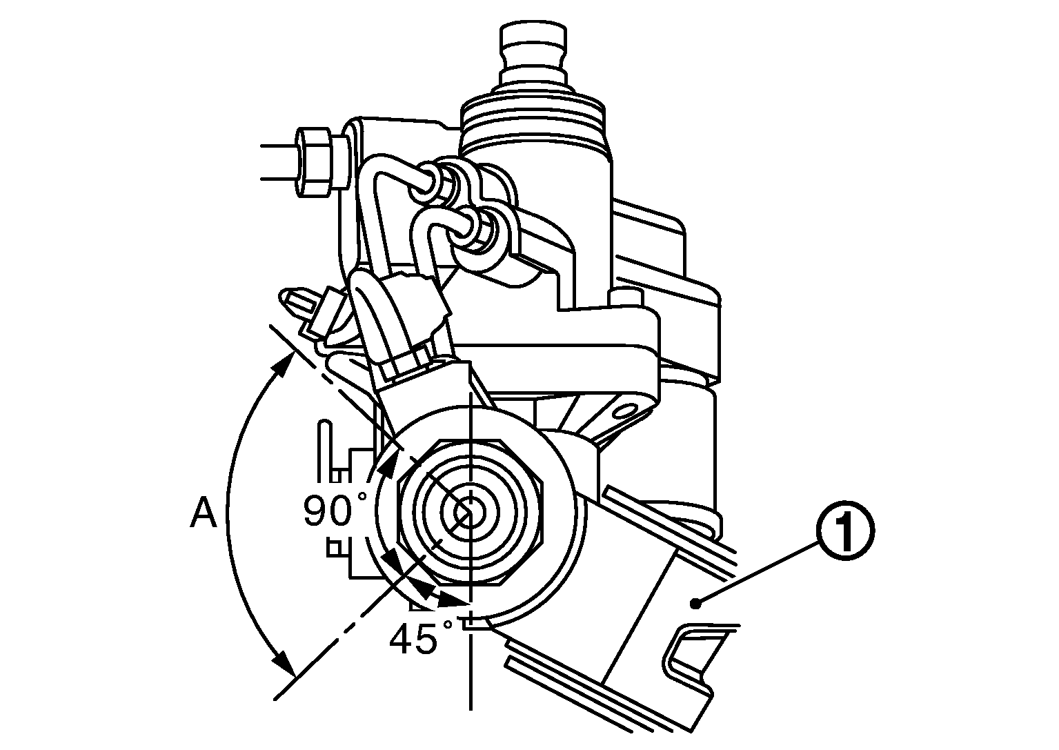
    5. Install dial gauge at 5 mm (0.20 in) (L) from the edge of gear housing assembly (1), and tooth point.
    6. Measure vertical movement of rack assembly when pinion is turned clockwise with torque of 19.6 N.m (2.0 kg-m, 14 ft-lb).

      Readjust adjusting screw angle if the measured value is outside the standard.

      Vertical movement: 0.265 mm (0.0104 in) 

      Fig 5: Measuring Vertical Movement Of Rack Assembly Using Tool
      G05224425Courtesy of NISSAN NORTH AMERICA, INC.
      • If reading is outside of the specification, readjust screw angle with adjusting screw.
        CAUTION:
        • If reading is still outside of specification, or if the rotating torque of adjusting screw is less than 5 N.m (0.51 kg-m, 44 in-lb), replace steering gear assembly.
        • Never turn adjusting screw more than twice.
        • Replace steering gear assembly when adjusting screw is removed or turned more than twice.
  9. Install large end of boot to gear housing assembly.
  10. Install small end of boot to inner socket boot mounting groove.
  11. Install boot clamp to boot small end.
    Fig 6: Identifying Boot Clamp, Boot Clamp Of Large And Small Side
    G04921841Courtesy of NISSAN NORTH AMERICA, INC.
  12. Install boot clamp to the large side of boot with the following procedure.
    CAUTION: Never reuse boot clamp.
    1. Tighten large side of boot with boot clamp (stainless wire).

      Wire length (L): 370 mm (14.57 in) 

      Fig 7: Tightening Large Side Of Boot Using Boot Clamp (Stainless Wire)
      G04876910Courtesy of NISSAN NORTH AMERICA, INC.
    2. Wrap clamp around boot groove for two turns. Insert a flat-bladed screwdriver in loops on both ends of wire. Twist 4 to 4.5 turns while pulling them with force of approximately 98 N (10 kg, 22 lb).
    3. Twist boot clamp as shown below. Pay attention to relationship between winding and twisting directions.
      Fig 8: Twisting Boot Clamp
      G04876911Courtesy of NISSAN NORTH AMERICA, INC.
    4. Twisted area (A) of clamp is in the opposite side of adjusting screw (1) as shown in the figure (to prevent contact with other parts).
      Fig 9: Identifying Clamp Twisted Area
      G05224429Courtesy of NISSAN NORTH AMERICA, INC.
    5. Bent cut end of the wire as shown in the figure below after twisting the wire 4 to 4.5 turns so that cut end does not contact with boot.
      CAUTION: Keep gap from cylinder tube 5 mm (0.20 in) or more.

      Wire angle (A): 45° 

      Fig 10: Identifying Wire Bent Cut End Angle
      G05224430Courtesy of NISSAN NORTH AMERICA, INC.
  13. Install cylinder tubes to gear housing assembly.
  14. Install low pressure piping.
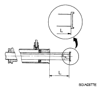
  15. Adjust inner socket to standard length (L), and then tighten lock nut (1) to the specified torque. Check length again after tightening lock nut.

    Inner socket length (L): Refer to  "INNER SOCKET LENGTH ".

    Fig 11: Identifying Inner Socket Length
    G07052996Courtesy of NISSAN NORTH AMERICA, INC.
    CAUTION: Adjust toe-in after this procedure. The length achieved after toe-in adjustment is not necessary the above value.