LEMON Manuals: Even more car manuals for everyone: 1960-2025
Home >> Infiniti >> 2014 >> Q60 Journey >> Repair and Diagnosis (Single Page) >> Accessories & Equipment >> Entertainment Systems >> Audio, Visual & Navigation System (Base Audio With Rear View Camera) (Coupe) >> System Description >> System >> Multi Av System >> MULTI AV SYSTEM: System Diagram
April 5, 2026: LEMON Manuals is launched! Read the announcement.

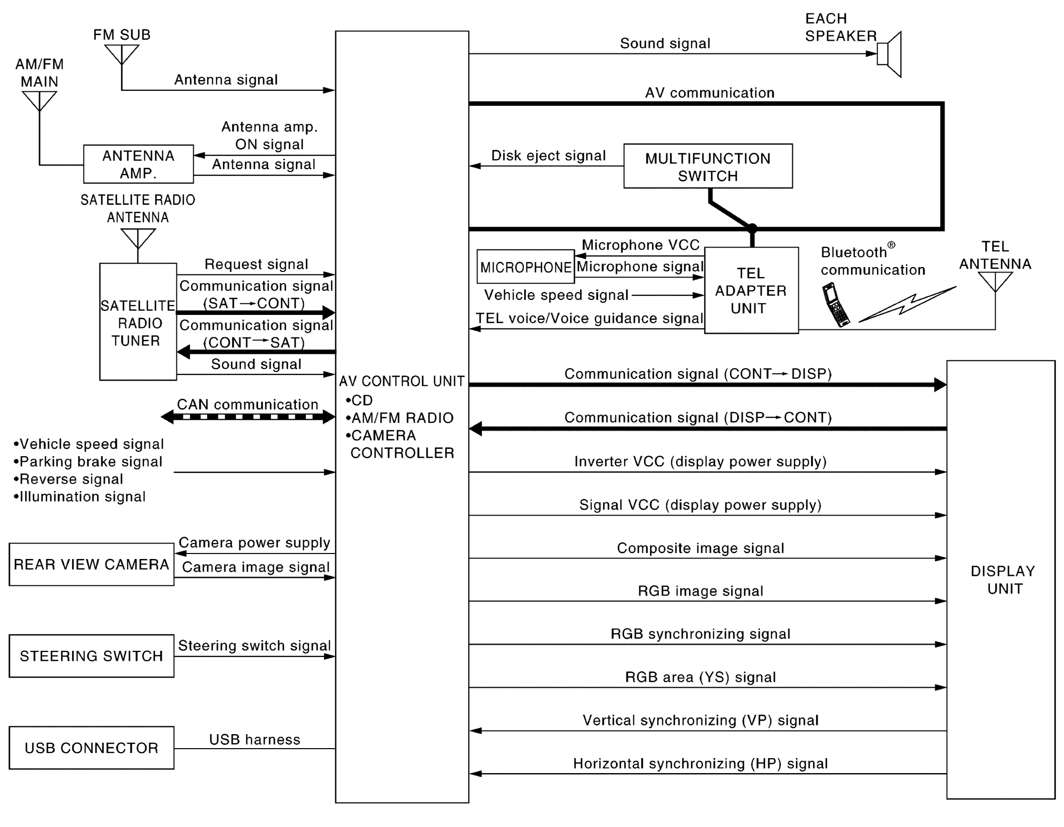
MULTI AV SYSTEM: System Diagram

Fig 1: Multi AV - System Diagram
G08763084Courtesy of NISSAN NORTH AMERICA, INC.
NOTE: The name MULTIFUNCTION SWITCH indicates the integration of PRESET SWITCH and MULTIFUNCTION SWITCH virtually.