LEMON Manuals: Even more car manuals for everyone: 1960-2025
Home >> Infiniti >> 2014 >> QX50 Base, AWD >> Repair and Diagnosis (Single Page) >> Accessories & Equipment >> Anti-Theft Systems >> Door & Lock >> System Description >> Intelligent Key System >> Intelligent Key System >> INTELLIGENT KEY SYSTEM: System Diagram
April 5, 2026: LEMON Manuals is launched! Read the announcement.

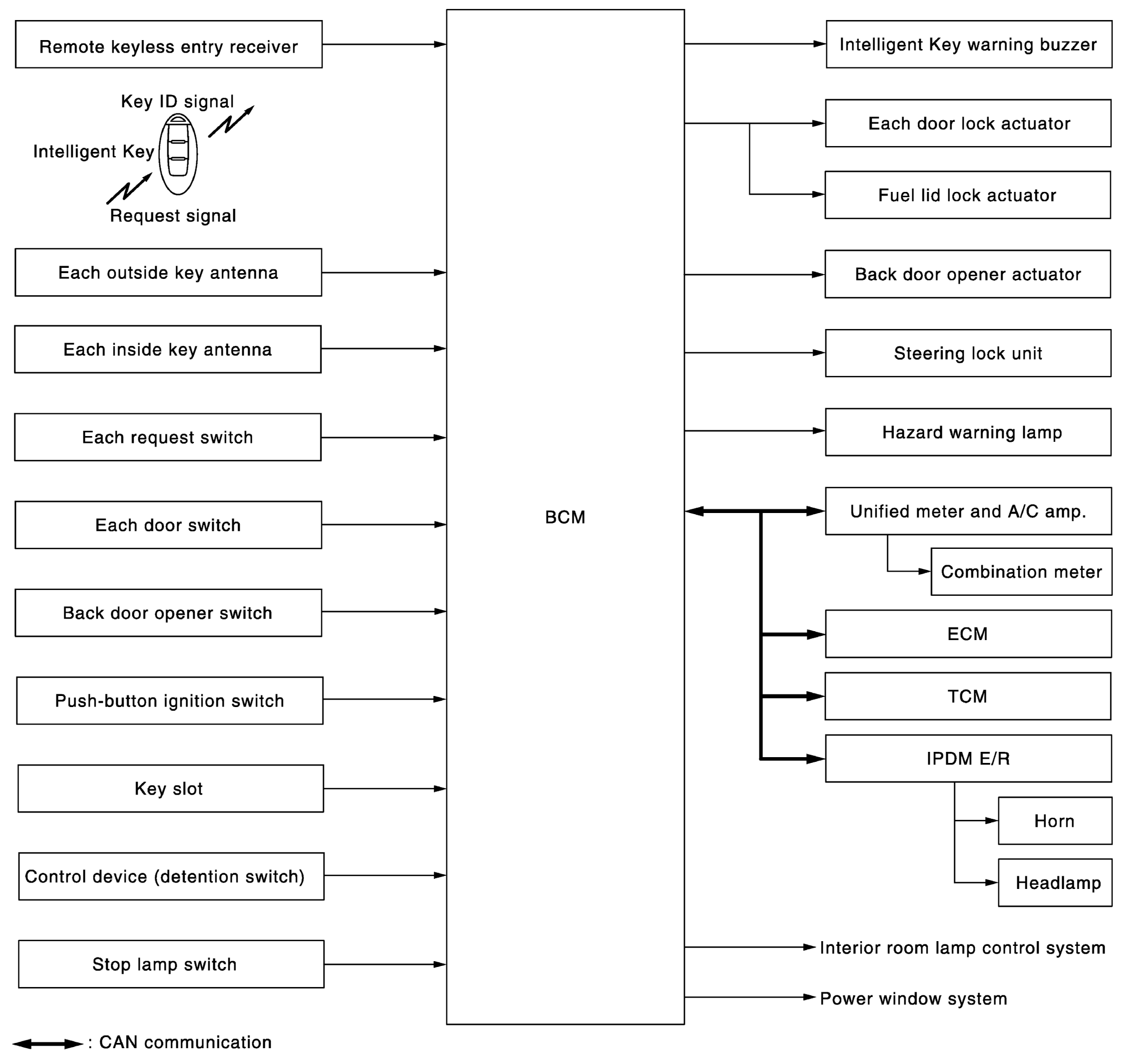
INTELLIGENT KEY SYSTEM: System Diagram

Fig 1: Intelligent Key System Diagram
G06291929Courtesy of NISSAN NORTH AMERICA, INC.