LEMON Manuals: Even more car manuals for everyone: 1960-2025
Home >> Infiniti >> 2014 >> QX80 AWD >> Repair and Diagnosis >> Electrical >> Body Electrical >> Power Control System (IPDM/Er) >> System Description >> System >> Power Consumption Control System >> POWER CONSUMPTION CONTROL SYSTEM: System Diagram
April 5, 2026: LEMON Manuals is launched! Read the announcement.

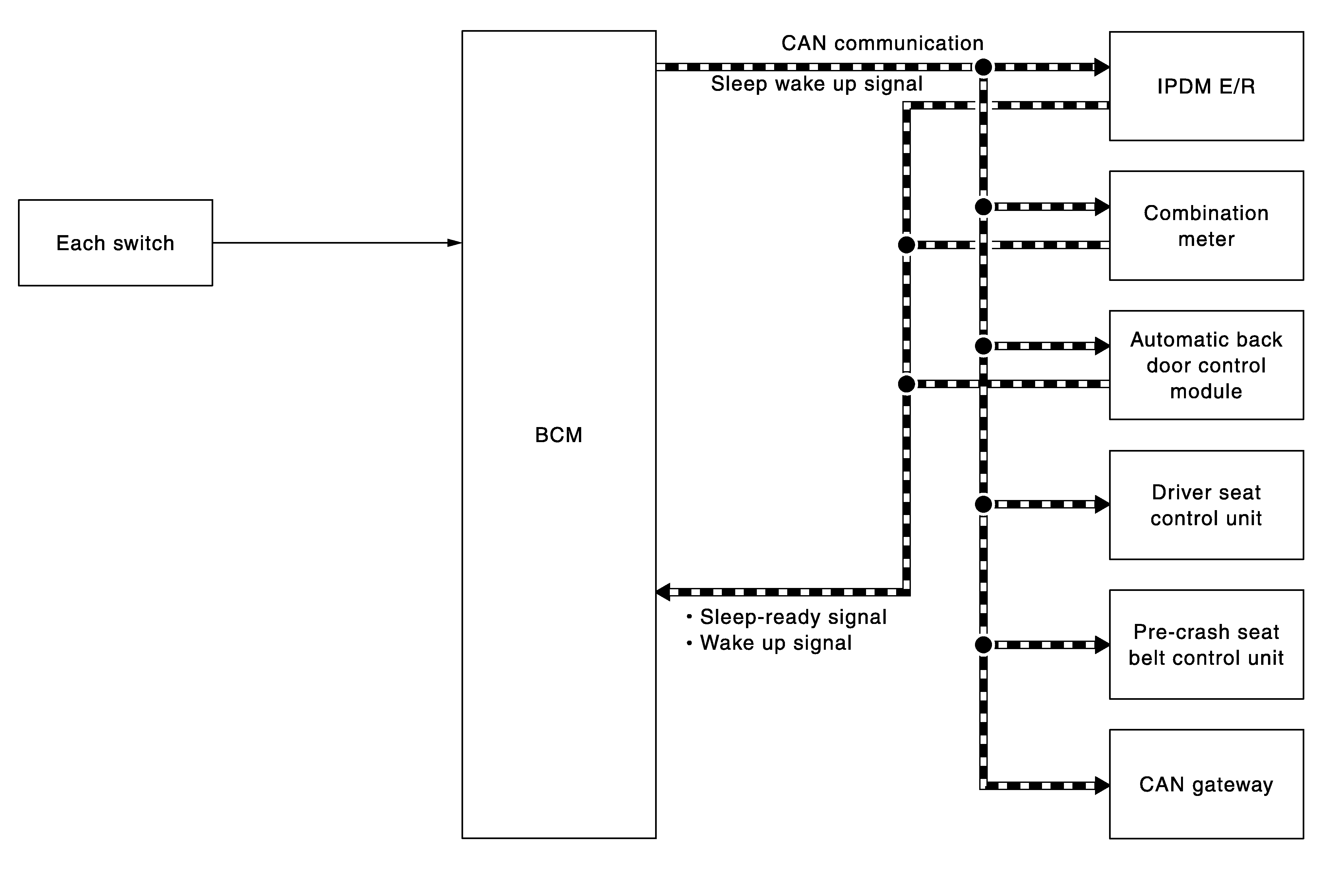
POWER CONSUMPTION CONTROL SYSTEM: System Diagram

Fig 1: Power Consumption Control System Diagram
G07024498Courtesy of NISSAN NORTH AMERICA, INC.