LEMON Manuals: Even more car manuals for everyone: 1960-2025
Home >> Infiniti >> 2014 >> QX80 AWD >> Repair and Diagnosis >> Transmission >> Automatic Transmission >> System Description >> System >> A/T Control System >> A/T CONTROL SYSTEM: System Diagram
April 5, 2026: LEMON Manuals is launched! Read the announcement.

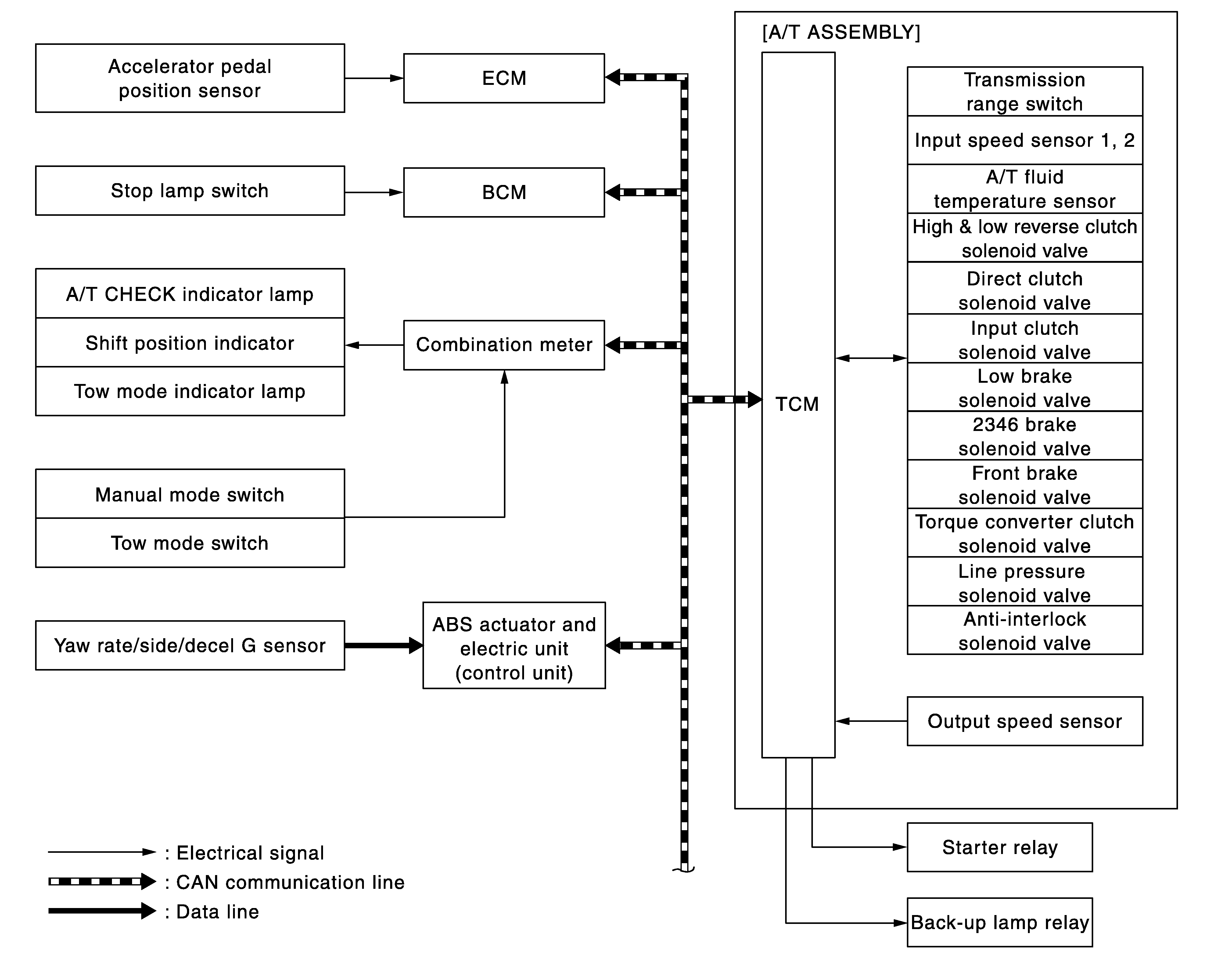
A/T CONTROL SYSTEM: System Diagram

Fig 1: A/T Control System Diagram
G07022984Courtesy of NISSAN NORTH AMERICA, INC.