LEMON Manuals: Even more car manuals for everyone: 1960-2025
Home >> Infiniti >> 2014 >> QX80 AWD >> Repair and Diagnosis >> Transmission >> Transfer Case >> System Description >> System >> 4WD System >> 4WD SYSTEM: System Description >> System Diagram
April 5, 2026: LEMON Manuals is launched! Read the announcement.

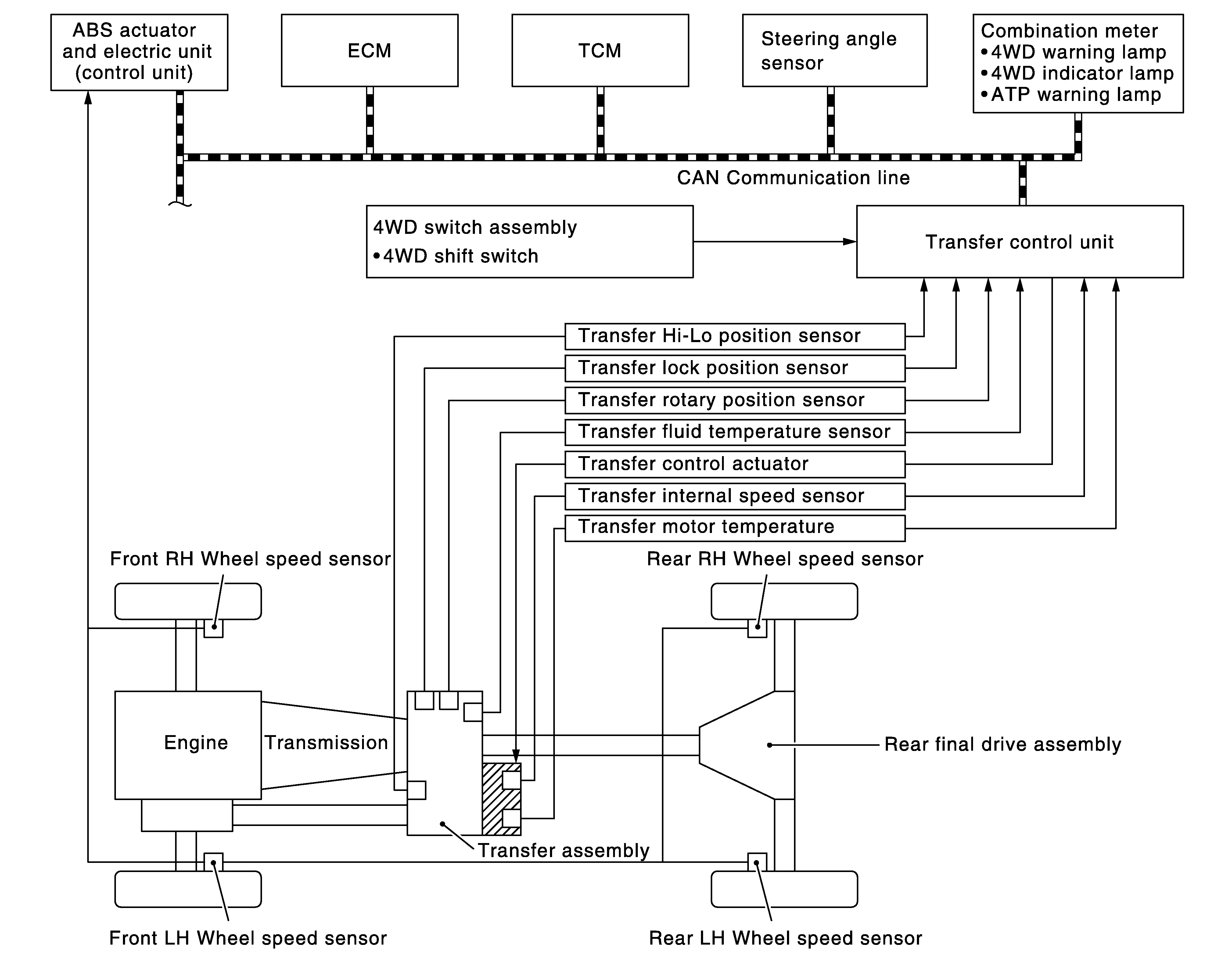
System Diagram

Fig 1: 4WD System Diagram
G07023515Courtesy of NISSAN NORTH AMERICA, INC.