LEMON Manuals: Even more car manuals for everyone: 1960-2025
Home >> Infiniti >> 2020 >> Q50 Luxe, AWD >> Repair and Diagnosis >> External Pages >> Different car >> Section 153 (Power Control System) >> System Description >> System >> System Description >> System Diagram
April 5, 2026: LEMON Manuals is launched! Read the announcement.

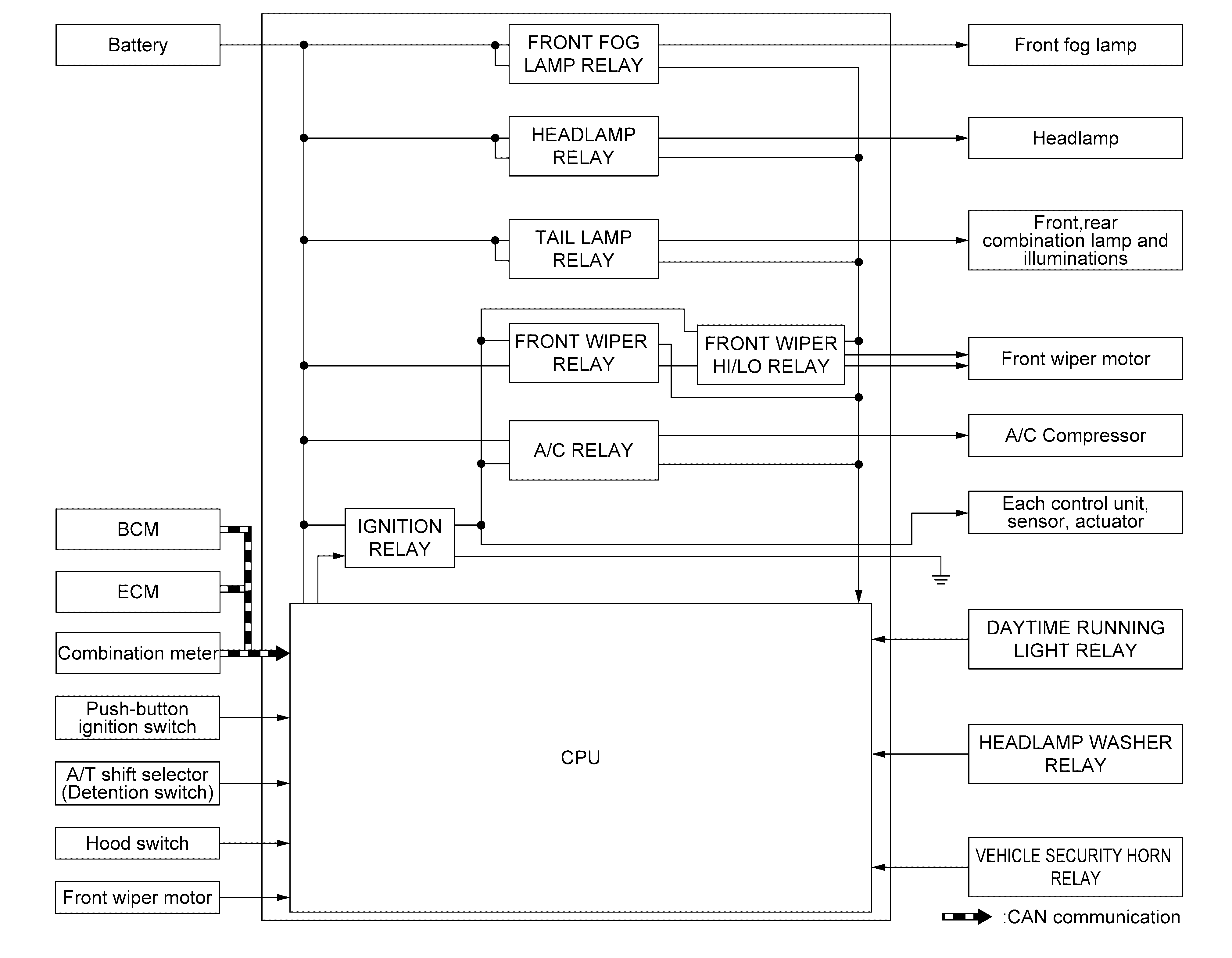
System Diagram

WARNING: This page is about a different car, the 2019 Infiniti Q50. However, it is still accessible from the selected car via links, so may be relevant.

VR Engine Models 

GNSJMMIA2327GB-327Courtesy of NISSAN NORTH AMERICA, INC.

2.0L Turbo Gasoline Engine Models 

GNSJMMIA2324GB-324Courtesy of NISSAN NORTH AMERICA, INC.