LEMON Manuals: Even more car manuals for everyone: 1960-2025
Home >> Infiniti >> 2020 >> QX80 Limited >> Repair and Diagnosis >> Brakes >> Traction Control >> Brake Control System (Diagnostics) >> Description >> System (Brake Control) >> Brake Control System >> System Description >> System Diagram
April 5, 2026: LEMON Manuals is launched! Read the announcement.

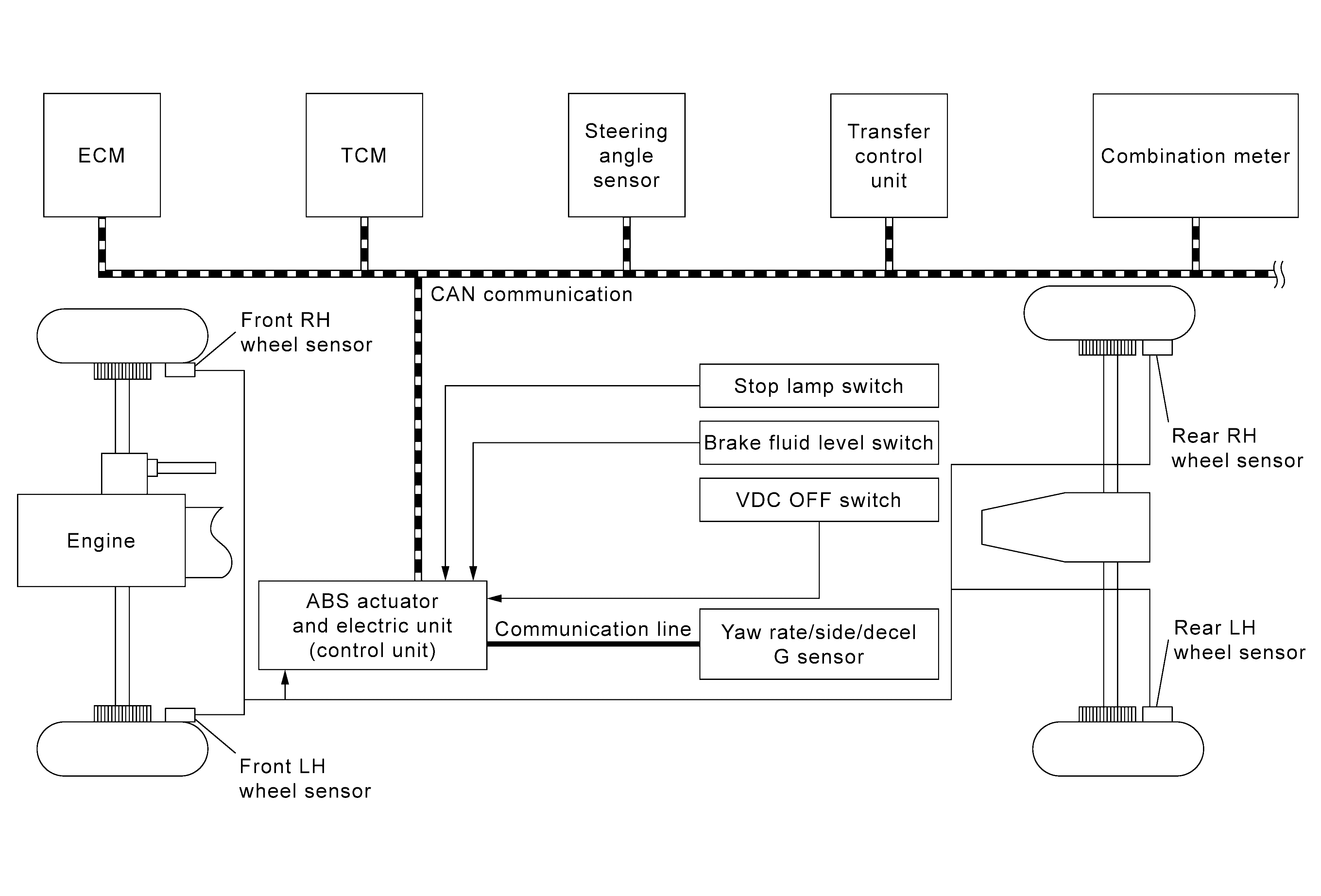
System Diagram

NOTE: Transfer control unit is applied to models with 4WD system.
GNSJSFIA4087GB-087Courtesy of NISSAN NORTH AMERICA, INC.