LEMON Manuals: Even more car manuals for everyone: 1960-2025
Home >> Infiniti >> 2021 >> Q50 Pure, AWD >> Repair and Diagnosis (Single Page) >> Accessories & Equipment >> Drivers Assistance Systems - ADAS >> Audio, Visual & Navigation System (Diagnostics) (2 Of 2) >> Component/Circuit Diagnosis >> Back-Up Lamp Relay >> Component Inspection >> Models with Around View Monitor System
April 5, 2026: LEMON Manuals is launched! Read the announcement.

Models with Around View Monitor System

  1. CHECK BACK-UP LAMP RELAY 
    1. Turn ignition switch OFF.
    2. Remove back-up lamp relay.
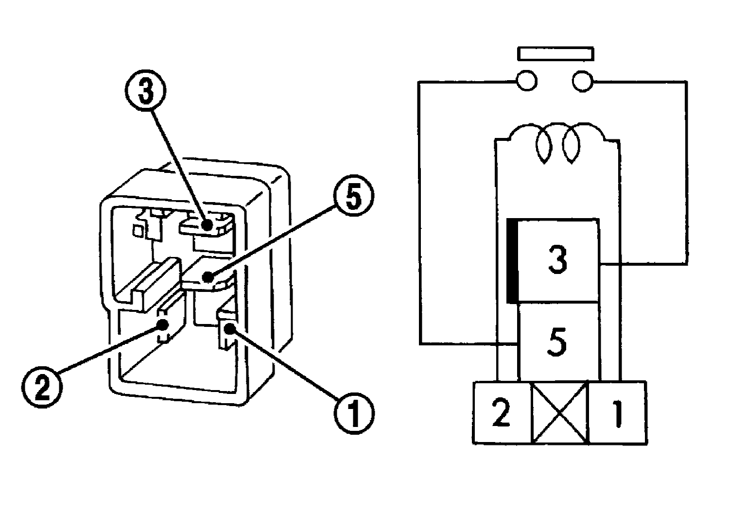
    3. Check the continuity between back-up lamp relay terminals as per the following condition.
      GNSJSBIA0671Z-671Courtesy of NISSAN NORTH AMERICA, INC.

      Back-up lamp relay

      Condition

      Continuity

      Terminal

      3

      5

      12 V direct current supply between terminals 1 and 2

      Existed

      No current supply

      Not existed

    Is the inspection result normal?

    YES

    INSPECTION END

    NO

    Replace back-up lamp relay.