LEMON Manuals: Even more car manuals for everyone: 1960-2025
Home >> Infiniti >> 2021 >> Q50 Pure, AWD >> Repair and Diagnosis (Single Page) >> Accessories & Equipment >> Drivers Assistance Systems - ADAS >> Cruise Control System (Diagnostics) >> Description >> System (Intelligent Cruise Control) >> Vehicle-To-Vehicle Distance Control Mode Function >> Operation >> Switch Name and Function
April 5, 2026: LEMON Manuals is launched! Read the announcement.

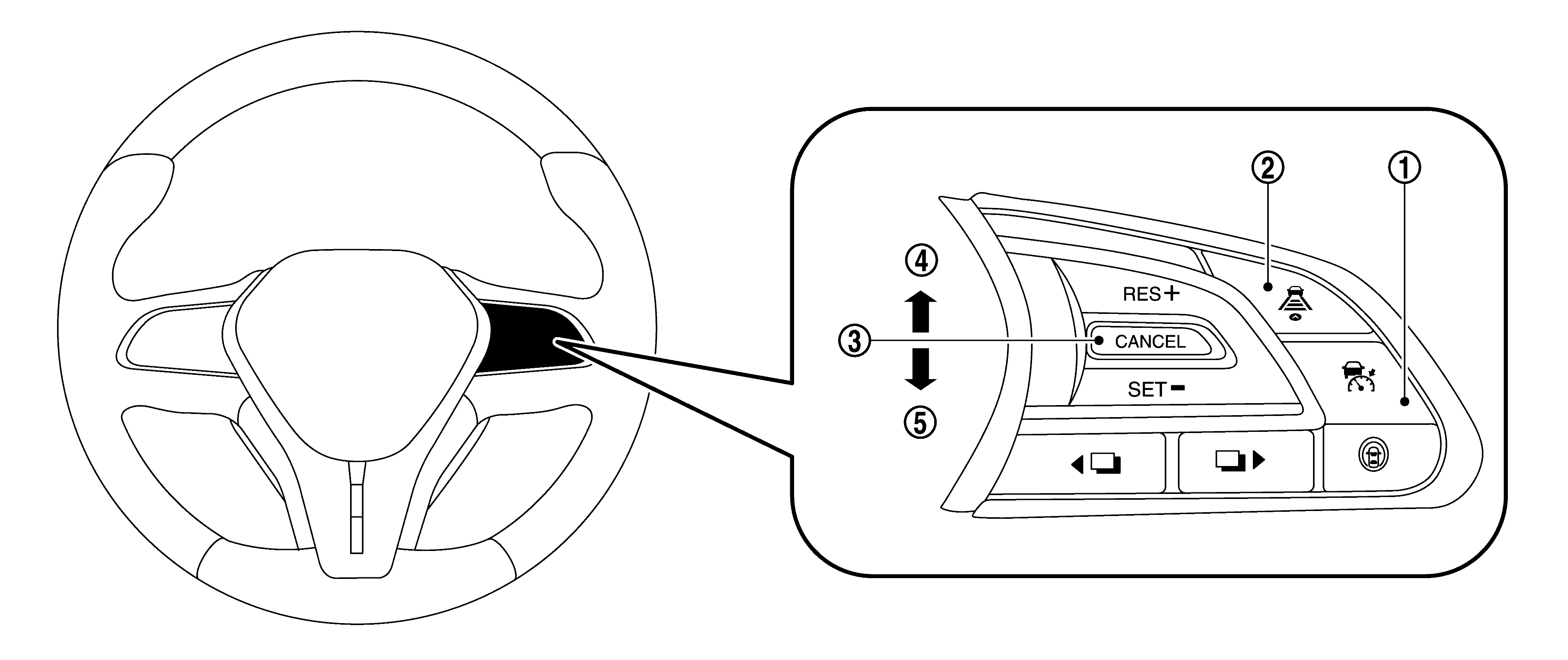
Switch Name and Function

GNSJSOIA2530Z-530Courtesy of NISSAN NORTH AMERICA, INC.

No.

Switch name

Description

SYMBOL

MAIN switch

Master switch to activate the system (Press for less than 1.5 seconds)

SYMBOL

DISTANCE switch

Changes the following distance from: Long, Middle, Short

SYMBOL

CANCEL switch

Deactivates the system without erasing the set speed

SYMBOL

RESUME/ACCELERATE switch

Resumes set speed or increases speed incrementally

  • Push and hold the switch to increase the set speed by 5 km/h (5 MPH)
  • Push then quickly release the switch to increase the set speed by 1 km/h (1 MPH)

SYMBOL

SET/COAST switch

Sets desired cruise speed or reduces speed incrementally

  • Push and hold the switch to decrease the set speed by 5 km/h (5 MPH)
  • Push then quickly release the switch to decrease the set speed by 1 km/h (1 MPH)
NOTE: The minimum set speed is 32 km/h (20 MPH)