LEMON Manuals: Even more car manuals for everyone: 1960-2025
Home >> Infiniti >> 2021 >> Q50 Pure, AWD >> Repair and Diagnosis (Single Page) >> Transmission >> Transfer Case >> Transfer Case (Service Information) >> Disassembly And Assembly >> Front Final Drive >> Front Final Drive Differential Assembly >> FRONT FINAL DRIVE DIFFERENTIAL ASSEMBLY : Adjustment >> Side Bearing Preload
April 5, 2026: LEMON Manuals is launched! Read the announcement.

Side Bearing Preload

  1. Remove carrier cover and side retainer. Refer to FRONT FINAL DRIVE DIFFERENTIAL ASSEMBLY : Disassembly & Assembly .
  2. Make sure all parts are clean. Also, make sure the bearings are well lubricated with gear oil.
  3. Place the differential case assembly into gear carrier.
    G04076241Courtesy of NISSAN NORTH AMERICA, INC.
  4. Install side bearing adjusting shim before disassembling or shim which thickness is the same as the one before disassembling.
    G04076261Courtesy of NISSAN NORTH AMERICA, INC.
  5. Install side retainer assembly to gear carrier.
    CAUTION: Never install O-ring.
  6. Install side retainer mounting bolts to the specified torque.
    G04076262Courtesy of NISSAN NORTH AMERICA, INC.
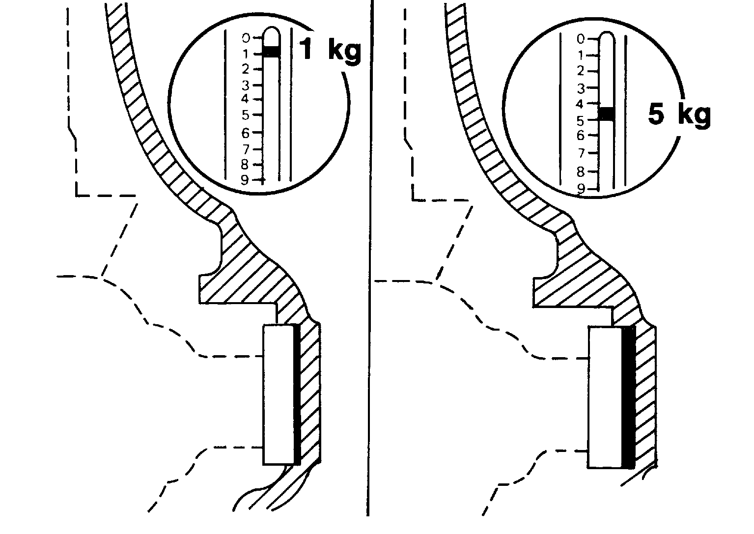
  7. Measure the turning torque of the gear carrier at the drive gear mounting bolts with a spring gauge (commercial service tool).
    G04076263Courtesy of NISSAN NORTH AMERICA, INC.

    Specification

    : 34.2 - 39.2 N (3.5 - 4.0 kg, 7.7 - 8.8 lb) of pulling force at the drive gear bolt

  8. If the turning torque is outside the specification, use a thicker/thinner side bearing adjusting shim to adjust. For selecting adjusting shim, refer to the latest parts information.
    G04076264Courtesy of NISSAN NORTH AMERICA, INC.

    If the turning torque is less than the specified range:

    Decrease the side bearing adjusting shim thickness.

    If the turning torque is greater than the specification:

    Increase the side bearing adjusting shim thickness.

  9. Record the total amount of shim thickness required for the correct carrier side bearing preload.