LEMON Manuals: Even more car manuals for everyone: 1960-2025
Home >> Infiniti >> 2021 >> Q50 Pure, AWD >> Repair and Diagnosis (Single Page) >> Transmission >> Transfer Case >> Transfer Case (Service Information) >> Disassembly And Assembly >> Front Final Drive >> Front Final Drive Differential Assembly >> FRONT FINAL DRIVE DIFFERENTIAL ASSEMBLY : Adjustment >> Tooth Contact
April 5, 2026: LEMON Manuals is launched! Read the announcement.

Tooth Contact

Before inspection and adjustment, drain gear oil.

  1. Remove carrier cover. Refer to FRONT FINAL DRIVE DIFFERENTIAL ASSEMBLY : Disassembly & Assembly .
  2. Apply red lead to drive gear.
    G04076208Courtesy of NISSAN NORTH AMERICA, INC.
    CAUTION: Apply red lead to both the faces of 3 to 4 gears at 4 locations evenly spaced on drive gear.
  3. Rotate drive gear back and forth several times, check drive pinion gear to drive gear tooth contact.
    G04076209Courtesy of NISSAN NORTH AMERICA, INC.
    CAUTION: Check tooth contact on drive side and reverse side.
    G05225486Courtesy of NISSAN NORTH AMERICA, INC.
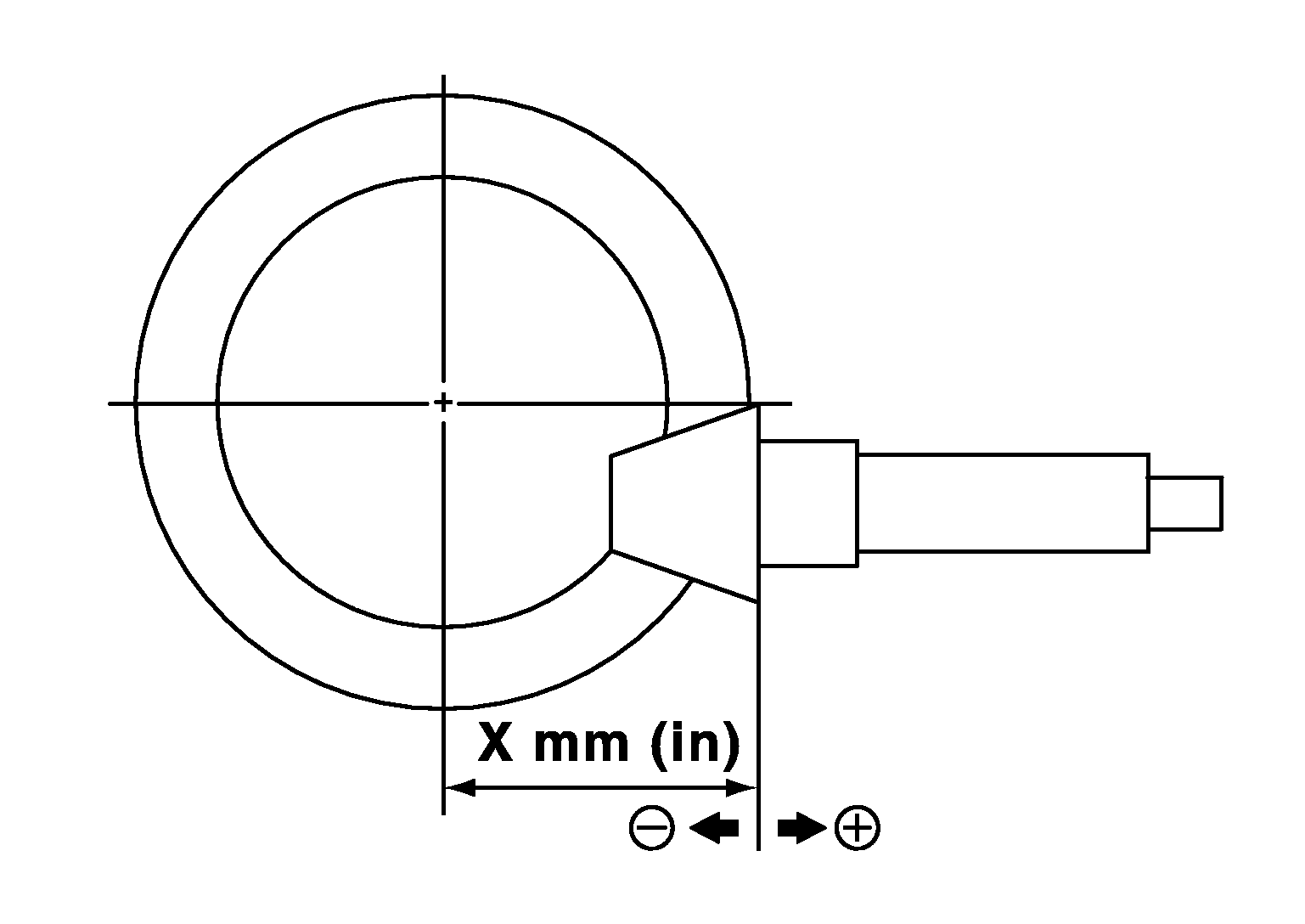
  4. If tooth contact is improperly adjusted, follow the procedure below to adjust the pinion height [dimension (X)].
    G04076232Courtesy of NISSAN NORTH AMERICA, INC.
    • If the tooth contact is near the face (face contact), or near the heel (heel contact), thicken pinion height adjusting washers to move drive pinion closer to drive gear.
      G04076233Courtesy of NISSAN NORTH AMERICA, INC.

      For selecting adjusting washer, refer to the latest parts information.

    • If the tooth contact is near the flank (flank contact), or near the toe (toe contact), thin pinion height adjusting washers to move drive pinion farther from drive gear.
      G04076234Courtesy of NISSAN NORTH AMERICA, INC.

      For selecting adjusting washer, refer to the latest parts information.