LEMON Manuals: Even more car manuals for everyone: 1960-2025
Home >> Infiniti >> 2021 >> Q50 Pure, AWD >> Repair and Diagnosis (Single Page) >> Transmission >> Transfer Case >> Transfer Case (Service Information) >> Disassembly And Assembly >> Front Final Drive >> Front Final Drive Differential Assembly >> FRONT FINAL DRIVE DIFFERENTIAL ASSEMBLY : Adjustment >> Total Preload Torque
April 5, 2026: LEMON Manuals is launched! Read the announcement.

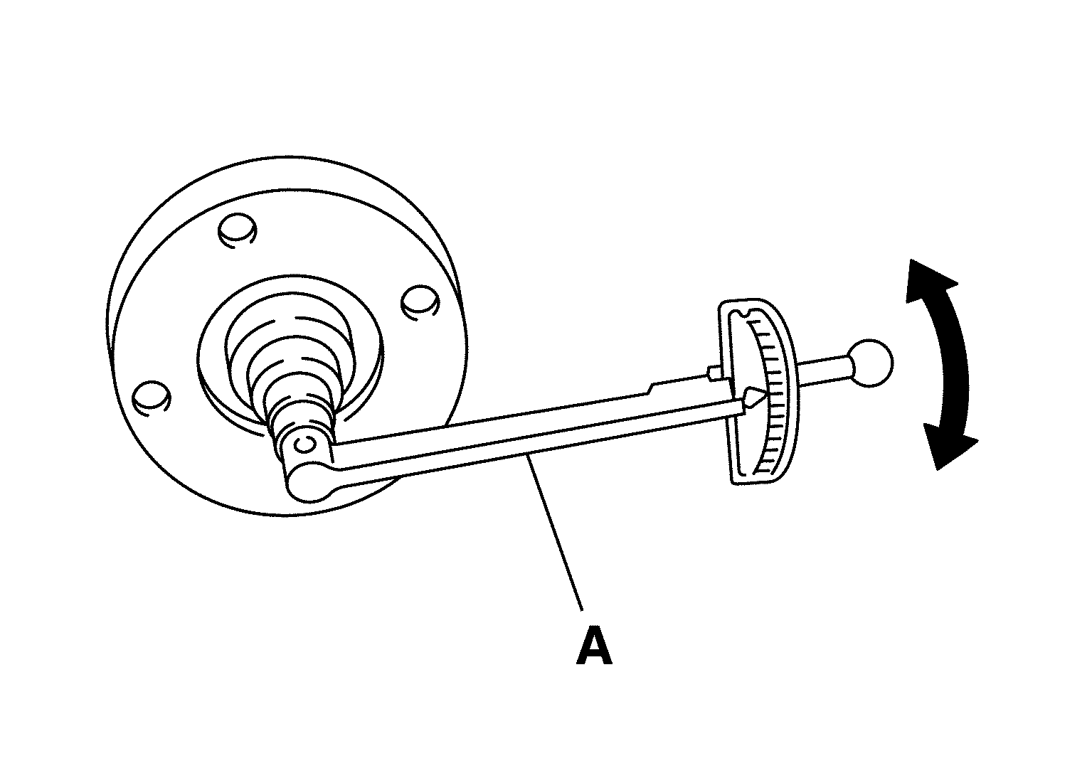
Total Preload Torque

  1. Rotate drive pinion back and forth 2 to 3 times to check for unusual noise and rotation malfunction.
  2. Rotate drive pinion at least 20 times to check for smooth operation of the bearing.
  3. Measure total preload with preload gauge (A) [SST: ST3127S000 (J-25765-A)].
    G04076206Courtesy of NISSAN NORTH AMERICA, INC.

    Total preload torque

    : Refer to FRONT FINAL DRIVE : Service Data .

    NOTE: Total preload torque = Pinion bearing preload torque + Side bearing preload torque
    • If measured value is out of the specification, disassemble it to check and adjust each part. Adjust the pinion bearing preload and side bearing preload.

      Adjust the pinion bearing preload first, then adjust the side bearing preload.

    When the preload torque is large

    On pinion bearings:

    Decrease the drive pinion bearing adjusting washer and drive pinion adjusting washer thickness. For selecting adjusting washer, refer to the latest parts information.

    On side bearings:

    Increase the side bearing adjusting shim thickness. For selecting adjusting washer, refer to the latest parts information.

    When the preload torque is small

    On pinion bearings:

    Increase the drive pinion bearing adjusting washer and drive pinion adjusting washer thickness. For selecting adjusting washer, refer to the latest parts information.

    On side bearings:

    Decrease the side bearing adjusting shim thickness. For selecting adjusting washer, refer to the latest parts information.