LEMON Manuals: Even more car manuals for everyone: 1960-2025
Home >> Infiniti >> 2021 >> Q50 Pure, AWD >> Repair and Diagnosis (Single Page) >> Transmission >> Transfer Case >> Transfer Case (Service Information) >> Disassembly And Assembly >> Front Final Drive >> Front Final Drive Differential Assembly >> FRONT FINAL DRIVE DIFFERENTIAL ASSEMBLY : Disassembly & Assembly >> Assembly
April 5, 2026: LEMON Manuals is launched! Read the announcement.

FRONT FINAL DRIVE DIFFERENTIAL ASSEMBLY : Disassembly & Assembly: Assembly

  1. Install side gear thrust washers with the same thickness as the ones installed prior to disassembly or reinstall the old ones on the side gears.
    G04076276Courtesy of NISSAN NORTH AMERICA, INC.
  2. Install side gears and thrust washers into differential case.
    G04076277Courtesy of NISSAN NORTH AMERICA, INC.
    CAUTION:
    • Never reuse circular clip.
    • Make sure that the circular clip is installed to side gear (side retainer side).
  3. Align 2 pinion mate gears in diagonally opposite positions, then rotate and install them into differential case after installing thrust washer to pinion mate gear.
  4. Align the lock pin holes on differential case with shaft, and install pinion mate shaft.
    G04076278Courtesy of NISSAN NORTH AMERICA, INC.
  5. Measure side gear end play. If necessary, select the appropriate side gear thrust washers.
    1. Place differential case straight up so that side gear to be measured comes upward.
      G05729145Courtesy of NISSAN NORTH AMERICA, INC.
    2. Using feeler gauge, measure the clearance between side gear back and differential case at 3 different points, while rotating side gear. Average the 3 readings, and then measure the clearance of the other side as well.
      G04076257Courtesy of NISSAN NORTH AMERICA, INC.

      Side gear back clearance

      : Refer to FRONT FINAL DRIVE : Service Data .

      CAUTION: To prevent side gear from tilting, insert feeler gauges with the same thickness from both sides.
    3. If the back clearance is outside the specification, use a thicker/thinner side gear thrust washer to adjust. For selecting thrust washer, refer to the latest parts information.

      When the back clearance is large:

      Use a thicker thrust washer.

      When the back clearance is small:

      Use a thinner thrust washer.

      CAUTION: Select a side gear thrust washer for right and left individually.
  6. Drive a lock pin into pinion mate shaft, using a punch.
    G04076279Courtesy of NISSAN NORTH AMERICA, INC.

    Make sure lock pin is flush with differential case.

    CAUTION: Never reuse lock pin.
  7. Align the matching mark of drive gear with the mark of differential case, then place drive gear.
    G04076280Courtesy of NISSAN NORTH AMERICA, INC.
  8. Apply thread locking sealant into the thread hole of drive gear.
    G04076281Courtesy of NISSAN NORTH AMERICA, INC.
    CAUTION: Drive gear back and threaded holes must be cleaned and decreased sufficiently.
  9. Install drive gear on the mounting bolts.
    G04076282Courtesy of NISSAN NORTH AMERICA, INC.
    CAUTION: Tighten bolts in a crisscross fashion.
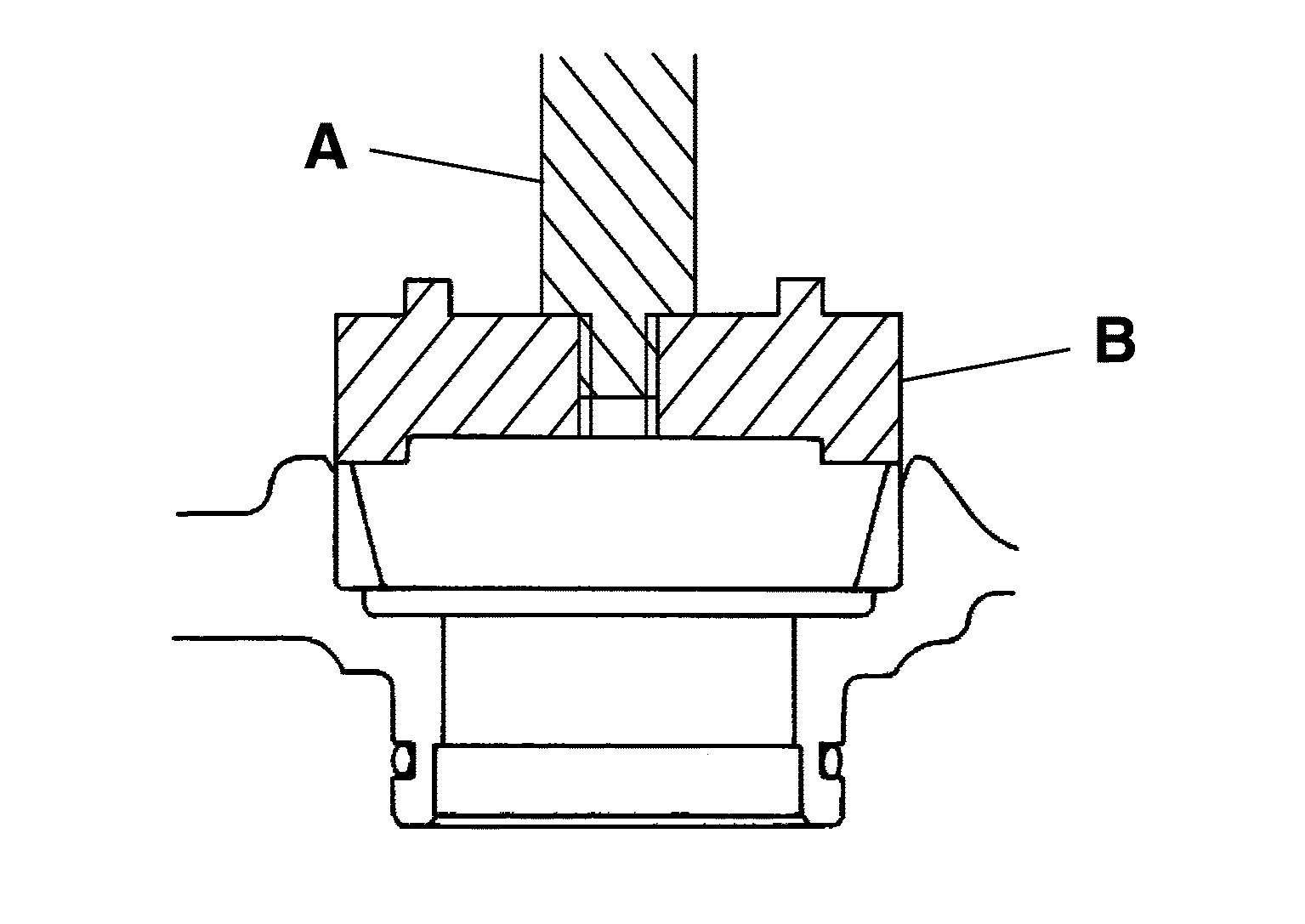
  10. Press side bearing inner races to differential case, using the drift (A) and the base (B).
    G04076283Courtesy of NISSAN NORTH AMERICA, INC.

    A: Drift [SST: ST33230000 (J-25805-01)]

    B: Base [SST: ST33061000 (J-8107-2)]

    CAUTION: Never reuse side bearing inner race.
  11. Press-fit side bearing outer race into side retainer with the drift bar (A) and the drift (B).
    G04076258Courtesy of NISSAN NORTH AMERICA, INC.

    A: Drift bar [SST: ST30611000 (J-25742-1)]

    B: Drift [SST: KV31103000 (J-38982)]

    CAUTION:
    • At first, using a hammer, tap bearing outer race until it becomes flat to side retainer.
    • Never reuse side bearing outer race.
  12. Press-fit side bearing outer race into gear carrier with the drift bar (A) and the drift (B).
    G04076259Courtesy of NISSAN NORTH AMERICA, INC.

    A: Drift bar [SST: ST30611000 (J-25742-1)]

    B: Drift [SST: KV31103000 (J-38982)]

    CAUTION:
    • At first, using a hammer, tap bearing outer race until it becomes flat to gear carrier.
    • Never reuse side bearing outer race.
  13. Place the differential case assembly into gear carrier.
    G04076241Courtesy of NISSAN NORTH AMERICA, INC.
  14. Measure side bearing preload. If necessary, select the appropriate side bearing adjusting shim. Refer to FRONT FINAL DRIVE DIFFERENTIAL ASSEMBLY : Adjustment .
  15. Install selected side bearing adjusting shim SYMBOL . Refer to FRONT FINAL DRIVE DIFFERENTIAL ASSEMBLY : Adjustment .
    G04076287Courtesy of NISSAN NORTH AMERICA, INC.

    SYMBOL

    : O-ring

  16. Apply multi-purpose grease to O-ring, and install it to side retainer.
    CAUTION: Never reuse O-ring.
  17. Install side retainer assembly to gear carrier.
  18. Install side retainer mounting bolts.
    G04076262Courtesy of NISSAN NORTH AMERICA, INC.
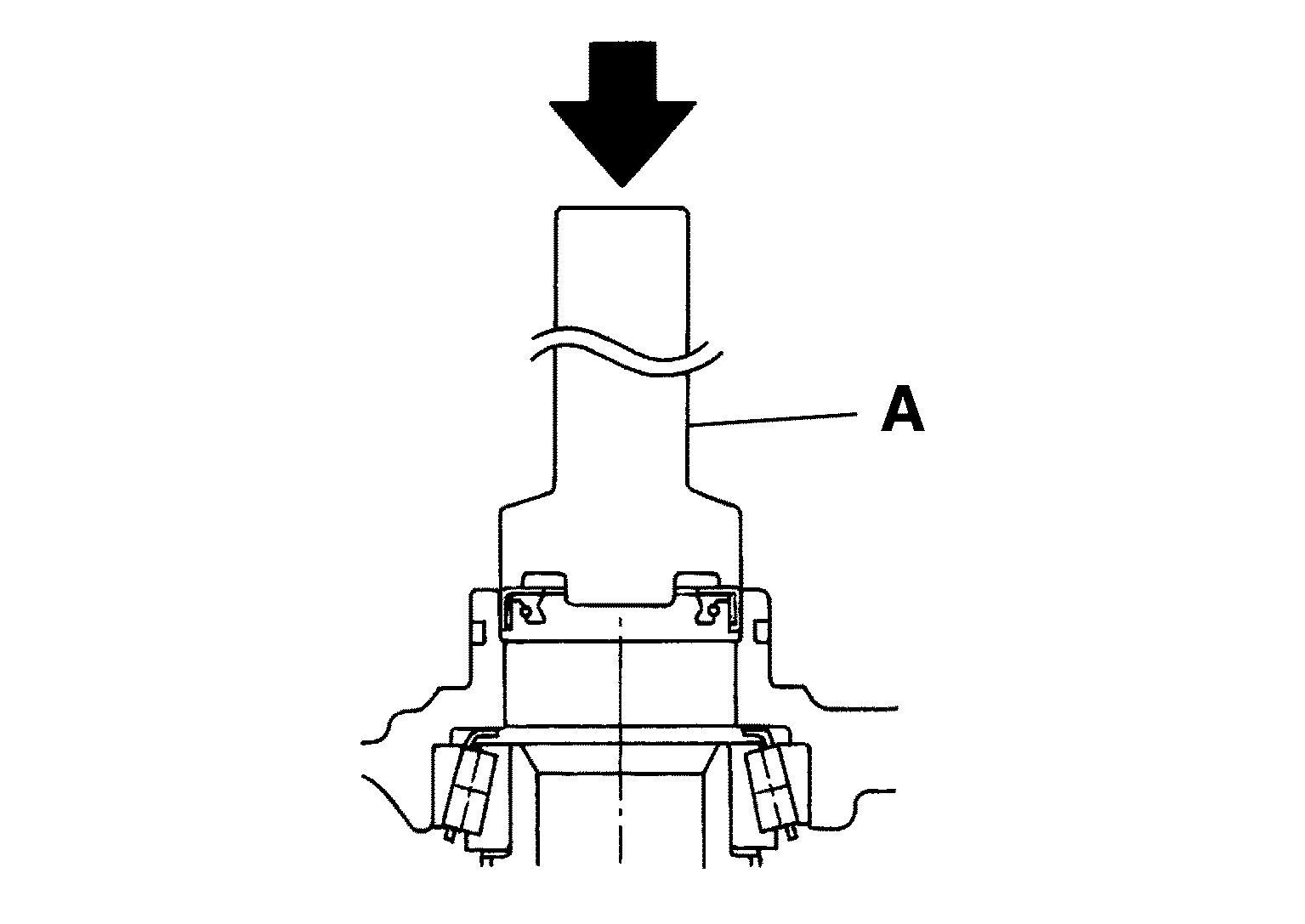
  19. Using the drift (A) [SST: ST33400001 (J-26082)], press-fit side oil seal so that its surface comes face-to-face with the end surface of the side retainer.
    G04076193Courtesy of NISSAN NORTH AMERICA, INC.
    CAUTION:
    • Never reuse oil seal.
    • When installing, never incline oil seal.
    • Apply multi-purpose grease onto oil seal lips, and gear oil onto the circumference of oil seal.
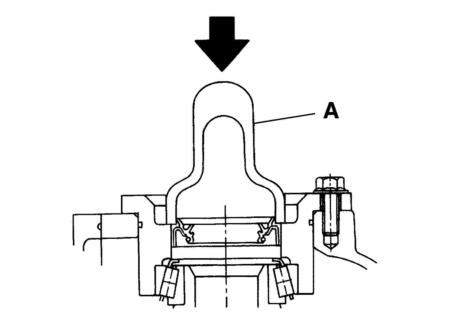
  20. Using the drift (A) [SST: KV38102100 (J-25803-01)], press-fit side oil seal so that its surface comes face-to-face with the end surface of gear carrier.
    G04076194Courtesy of NISSAN NORTH AMERICA, INC.
    CAUTION:
    • Never reuse oil seal.
    • When installing, never incline oil seal.
    • Apply multi-purpose grease onto oil seal lips, and gear oil onto the circumference of oil seal.
  21. Apply multi-purpose grease to O-ring, and install it to gear carrier.
    CAUTION: Never reuse O-ring.
  22. Check and adjust drive gear runout, tooth contact, drive gear to drive pinion backlash, and total preload torque. Refer to FRONT FINAL DRIVE DIFFERENTIAL ASSEMBLY : Adjustment .

    Recheck above items. Readjust as described above, if necessary.

  23. Apply sealant to mating surface of carrier cover.
    G04076291Courtesy of NISSAN NORTH AMERICA, INC.
    CAUTION: Remove old sealant from mounting surfaces. Also remove any moisture, oil, or foreign material from application and mounting surfaces.
  24. Install carrier cover on gear carrier and tighten mounting bolts.
    G04076292Courtesy of NISSAN NORTH AMERICA, INC.
  25. Set breather connector angle SYMBOL as shown in the figure, below.
    • 2.0L turbo gasoline engine 
      GNSJSDIB0013Z-013Courtesy of NISSAN NORTH AMERICA, INC.

      SYMBOL

      : Companion flange side

      Angle SYMBOL

      : 45 deg. +/- 15 deg.

    • VR30DDTT 
      GNSJSDIB0014Z-014Courtesy of NISSAN NORTH AMERICA, INC.

      SYMBOL

      : Companion flange side

      Angle SYMBOL

      : 0 - 30 deg.