LEMON Manuals: Even more car manuals for everyone: 1960-2025
Home >> Infiniti >> 2021 >> Q60 Pure, AWD >> Repair and Diagnosis >> Steering >> Steering Control Systems >> Steering Control System (Diagnostics) >> Basic Inspection >> Direct Adaptive Steering >> DAST Calibration (Mode 2) >> Work Procedure >> Direct Adaptive Steering System
April 5, 2026: LEMON Manuals is launched! Read the announcement.

Direct Adaptive Steering System

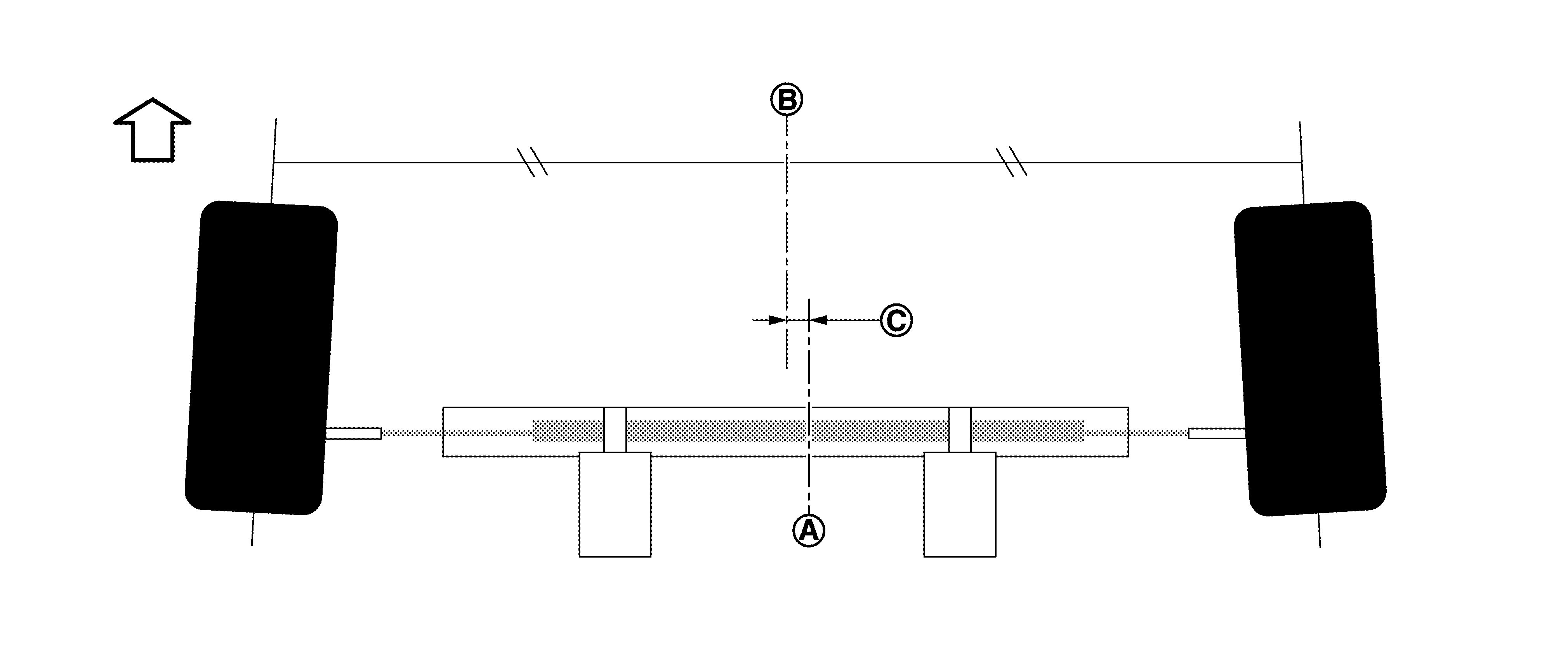
"DAST CALIBRATION (MODE2)" is a function to calculate an off-center of the steering rack after adjust toe-in without using the alignment tester.

Off-center SYMBOL is calculated by the difference between a neutral position of the vehicle's alignment SYMBOL and the neutral position of the steering rack SYMBOL .

CAUTION: When adjusting toe-in without using the alignment tester, always perform "DAST CALIBRATION (MODE2)".
GNSJSGIA1330Z-330Courtesy of NISSAN NORTH AMERICA, INC.

SYMBOL : Vehicle front

Toe-in adjustment: Refer to Work Procedure .