LEMON Manuals: Even more car manuals for everyone: 1960-2025
Home >> Infiniti >> 2021 >> QX50 Autograph, FWD >> Repair and Diagnosis (Single Page) >> Accessories & Equipment >> Entertainment Systems >> Audio, Visual & Navigation System (Diagnostics, Service Information) >> System Description >> Navigation System >> System Description >> System Diagram
April 5, 2026: LEMON Manuals is launched! Read the announcement.

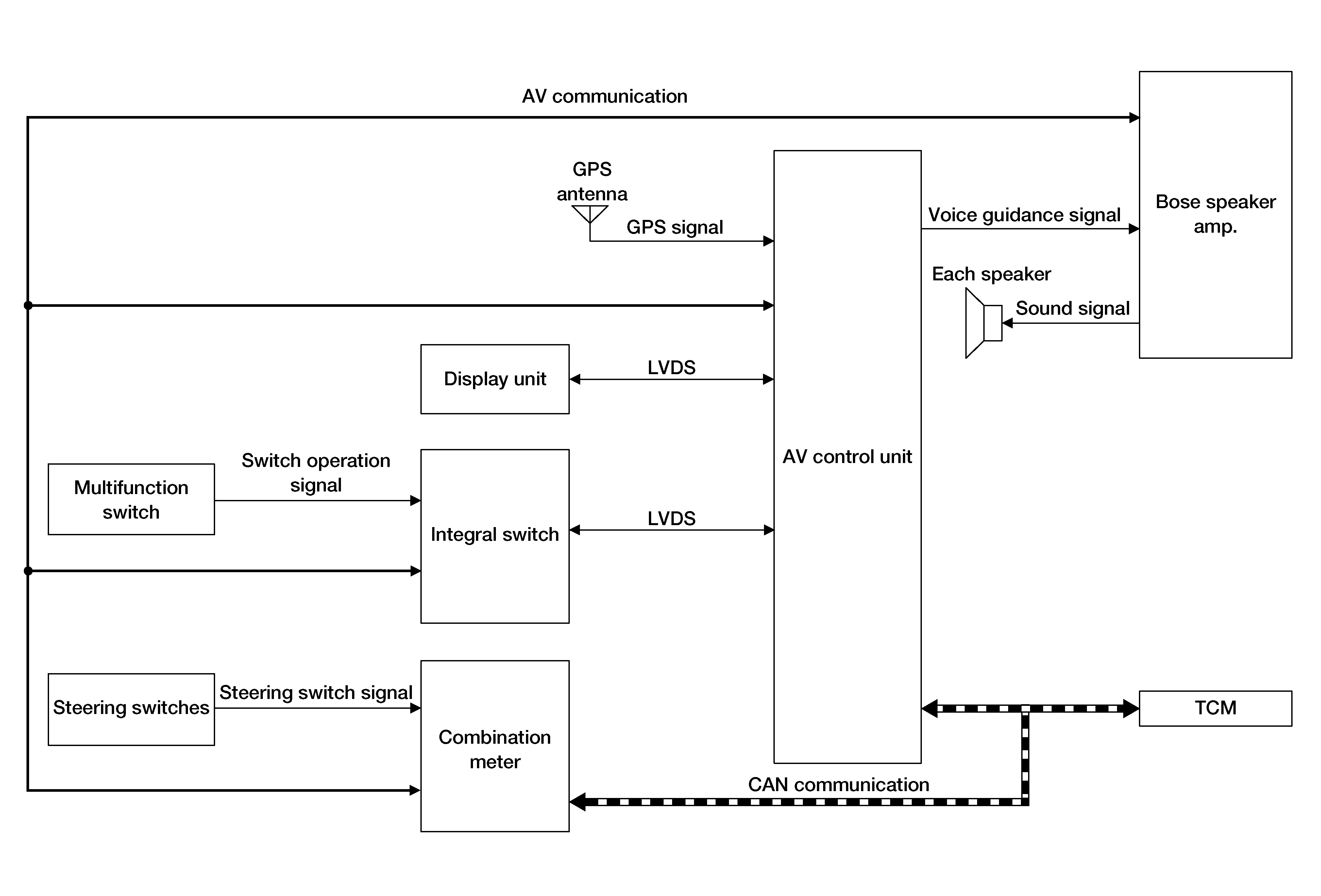
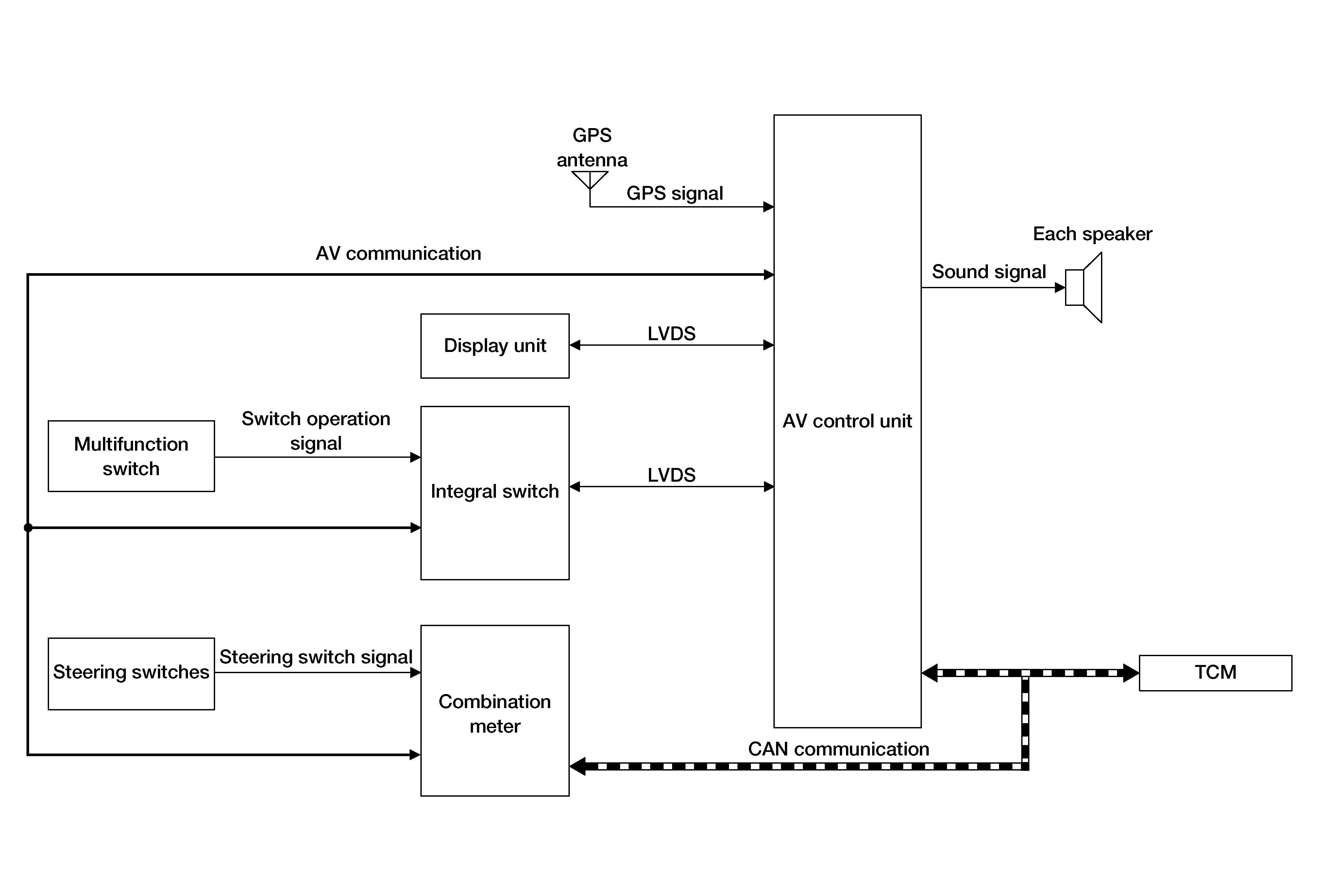
System Diagram

Without Bose Audio System 

G05938329Courtesy of NISSAN NORTH AMERICA, INC.

With Bose Audio System 

GNSAWNIA0393GB-393Courtesy of NISSAN NORTH AMERICA, INC.

AV Control Unit Input Signal (CAN Communication) 

Transmit unit

Signal name

Combination meter

Parking brake switch signal

TCM

Shift position signal (Reverse signal)