LEMON Manuals: Even more car manuals for everyone: 1960-2025
Home >> Infiniti >> 2021 >> QX80 Premium Select, AWD >> Repair and Diagnosis >> Body & Frame >> Door Locks >> Security Control System (Diagnostics) >> Description >> System >> Vehicle Security System >> System Description >> System Diagram
April 5, 2026: LEMON Manuals is launched! Read the announcement.

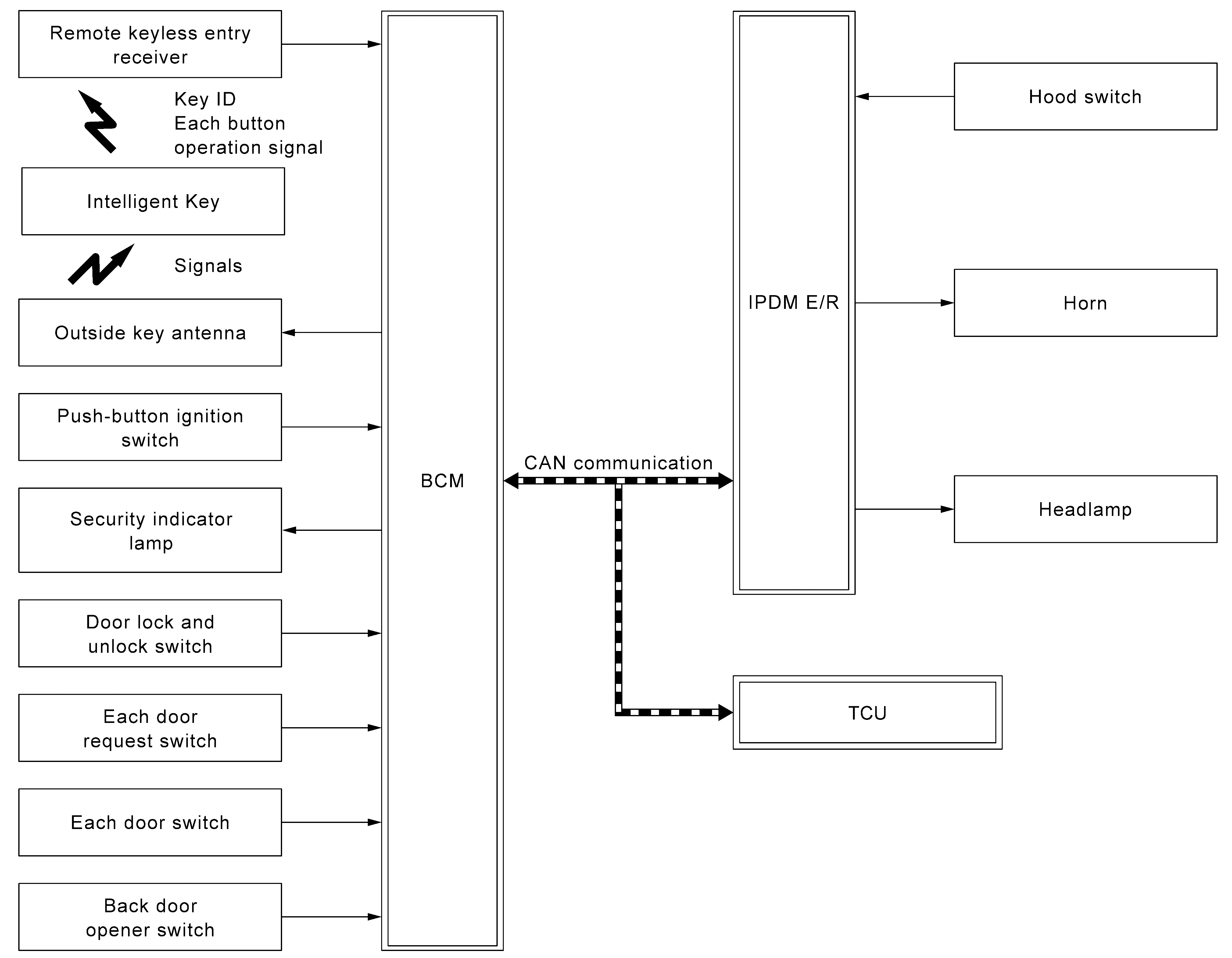
System Diagram

GNSILL0162125Courtesy of NISSAN NORTH AMERICA, INC.