LEMON Manuals: Even more car manuals for everyone: 1960-2025
Home >> Infiniti >> 2021 >> QX80 Premium Select, AWD >> Repair and Diagnosis >> Brakes >> Traction Control >> Brake Control System (Diagnostics) >> Basic Inspection >> Lane Camera Unit >> Camera Aiming Adjustment >> Work Procedure >> Target Setting
April 5, 2026: LEMON Manuals is launched! Read the announcement.

Target Setting

CAUTION:
  • Be sure to place the target correctly according to work procedures because the system may not operate normally.
  • Perform this operation in a horizontal position where there is a clear view for 5 m (16.4 ft) forward and 3 m (9.84 ft) wide.
  • Place the target in a well-lighted location. (Poor lighting may make it hard to adjust.)
  • The target may not be detected when there is a light source within 1.5 m (4.92 ft) from either side and within 1 m (3.28 ft) upward/downward from the target.
  • Check the location of the sun. (Sunlight should not shine directly on the front of the vehicle.)
  • The target may not be detected when there is the same pattern of black and white as the target when the pattern is within 1 m (3.28 ft) from either side and upward/downward position from the target. (It is desirable that the vehicle is positioned on the opposite side of a single-color wall.)
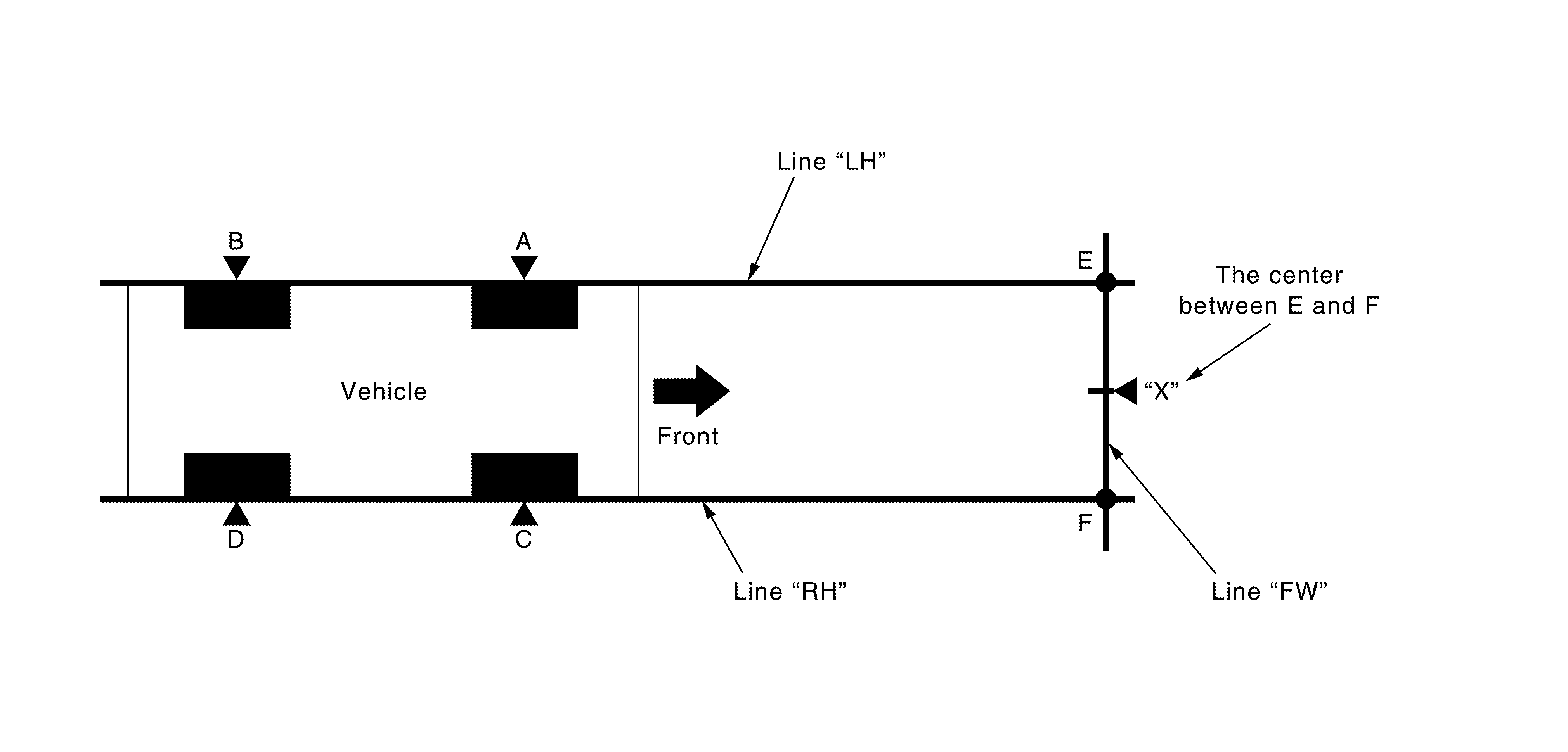
  1. TARGET SETTING 
    GNSJSOIA1662GB-662Courtesy of NISSAN NORTH AMERICA, INC.

    A - E (C - F)

    : 3, 000 mm (118.11 in)

    1. Mark points "A", "B", "C" and "D"at the center of the lateral surface of each wheels.
      G09161974Courtesy of NISSAN NORTH AMERICA, INC.
      NOTE: Hang a string with a cone from the fender so as to pass through the center of wheel, and then mark a point at the center of the lateral surface of the wheel.
    2. Draw line "LH" passing through points "A" and "B" on the left side of vehicle.
      NOTE: Approximately 4 m (13.12 ft) or more from the front end of vehicle.
    3. Mark point "E" on the line "LH" at the positions 3, 000 mm (118.11 in) from point "A".
    4. Draw line "RH" passing through points "C" and "D" on the right side of vehicle in the same way as step 2.
      NOTE: Approximately 4 m (13.12 ft) or more from the front end of vehicle.
    5. Mark point "F" on the line "RH" at the positions 3, 000 mm (118.11 in) from point "C".
    6. Draw line "FW" passing through the points "E" and "F" on the front side of vehicle.
    7. Mark point "X" at the center of point "E" and "F" on the line "FW".
      CAUTION: Make sure that "E" to "X" is equal to "F" to "X".
    8. Place a target on either side of point "X". Each distance from point "X" must be equal each other.
      GNSJSOIA1663GB-663Courtesy of NISSAN NORTH AMERICA, INC.

      Dt

      : 3, 000 mm (118.11 in)

    Proceed to Camera Aiming Adjustment.