LEMON Manuals: Even more car manuals for everyone: 1960-2025
Home >> Infiniti >> 2024 >> Q50 Luxe, AWD >> Repair and Diagnosis >> Steering >> Steering Control Systems >> Steering Control System >> Basic Inspection >> Direct Adaptive Steering >> DAST Calibration (Mode 2) >> Work Procedure
April 5, 2026: LEMON Manuals is launched! Read the announcement.

Work Procedure

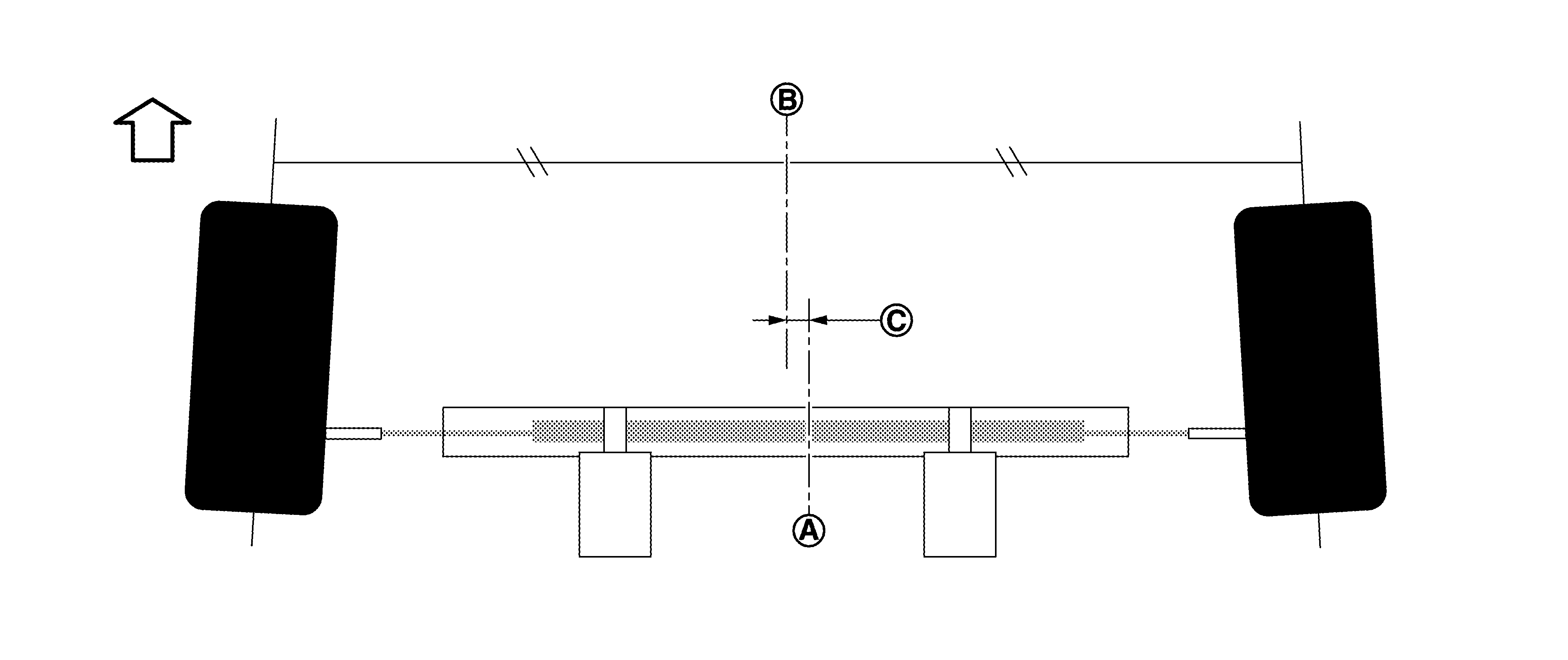
"DAST CALIBRATION (MODE2)" is a function to calculate an off-center of the steering rack after adjust toe-in without using the alignment tester. Off-center SYMBOL is calculated by the difference between a neutral position of the vehicle's alignment SYMBOL and the neutral position of the steering rack SYMBOL .

CAUTION:

When adjusting toe-in without using the alignment tester, always perform "DAST CALIBRATION (MODE2)".

GNSDB149374Courtesy of NISSAN NORTH AMERICA, INC.

SYMBOL : Vehicle front. Toe-in adjustment: Refer to Work Procedure .