LEMON Manuals: Even more car manuals for everyone: 1960-2025
Home >> Infiniti >> 2024 >> QX80 Premium Select, AWD >> Repair and Diagnosis >> Brakes >> Traction Control >> Brake Control System >> Basic Inspection >> Lane Camera Unit >> Camera Aiming Adjustment >> Work Procedure
April 5, 2026: LEMON Manuals is launched! Read the announcement.

Work Procedure

Description 

Always adjust the camera aiming after removing and installing or replacing the lane camera unit.

CAUTION:
  • Place the vehicle on level ground when the camera aiming adjustment is operated.
  • Be sure to place the target correctly according to work procedures because the system may not operate normally.
  • Follow the CONSULT when performing the camera aiming. (Camera aiming adjustment cannot be operated without CONSULT.)

Preparation 

  1. PERFORM SELF-DIAGNOSIS 

    Perform self-diagnosis of lane camera unit.

    Is any DTC detected?

    Except "C1B01">>

    Perform diagnosis on the detected DTC and repair or replace the applicable item. Refer to DTC Index . Refer to DTC Index .

    "C1B01" or no DTC>>

    GO TO 2.

  2. PREPARATION BEFORE CAMERA AIMING ADJUSTMENT 
    1. Perform pre-inspection for diagnosis. Refer to Work Procedure .
    2. Adjust the tire pressure to the specified pressure value.
    3. Maintain no-load in vehicle.
    4. Check if coolant and engine oil are filled up to correct level and fuel tank is full.
    5. Shift the selector lever to "P" position and release the parking brake.
    6. Clean the windshield.
    7. Completely clear off the instrument panel.
      NOTE: If any fixed object is put on instrument panel, cover the upper of the instrument panel with black cloth to prevent an object from reflecting in the windshield.

    >>

    GO TO 3.

  3. PREPARATION OF AIMING ADJUSTMENT JIG 

    Prepare the aiming adjustment jig according to the following procedure and the figure.

    1. Prepare six sheets of white paper and black paper, respectively, with dimensions of 120 mm (4.72 in) x 120 mm (4.72 in) to create a left target and right target.
      NOTE: Correct the magnification of print and print the target mark sample in this service information on the black paper. Target Mark Sample
    2. Tape three sheets of black paper and three sheets of white paper together to make a target of 360 mm (14.17 in) x 240 mm (9.45 in).
      GNSDB142683Courtesy of NISSAN NORTH AMERICA, INC.
      L : 120 mm (4.72 in)
      W : 120 mm (4.72 in)
      NOTE:
      • Use a transparent tape.
      • Never apply tape to target surface.
      • Never allow a clearance on the black and white boundary.
    3. Stick a printed target mark on the board with a scotch tape or a piece of double-sided tape.
      NOTE:
      • Use the board that peripheral area of the target is monochrome such as a white-board.
      • Notice that the cross of the target is horizontal and vertical.
      GNSDB131926Courtesy of NISSAN NORTH AMERICA, INC.
      SYMBOL Board SYMBOL String SYMBOL Cone
      SYMBOL Center between two targets
      Side of a target (Ts) : 120 mm (4.72 in)
      Height of a target lower end (Htl) : 1, 180 mm (46.46 in)
      Height of a target center (Ht) : 1, 300 mm (51.18 in)
      Height of a target upper end (Htu) : 1, 420 mm (55.91 in)
      Width between a right target center from a left target center (Dbt) : 720 mm (28.35 in)
      W1 : 180 mm (7.09 in)
      W2 : 180 mm (7.09 in)

    >>

    Proceed to Target Setting.

Target Setting 

CAUTION:
  • Be sure to place the target correctly according to work procedures because the system may not operate normally.
  • Perform this operation in a horizontal position where there is a clear view for 5 m (16.4 ft) forward and 3 m (9.84 ft) wide.
  • Place the target in a well-lighted location. (Poor lighting may make it hard to adjust.)
  • The target may not be detected when there is a light source within 1.5 m (4.92 ft) from either side and within 1 m (3.28 ft) upward/downward from the target.
  • Check the location of the sun. (Sunlight should not shine directly on the front of the vehicle.)
  • The target may not be detected when there is the same pattern of black and white as the target when the pattern is within 1 m (3.28 ft) from either side and upward/downward position from the target. (It is desirable that the vehicle is positioned on the opposite side of a single-color wall.)
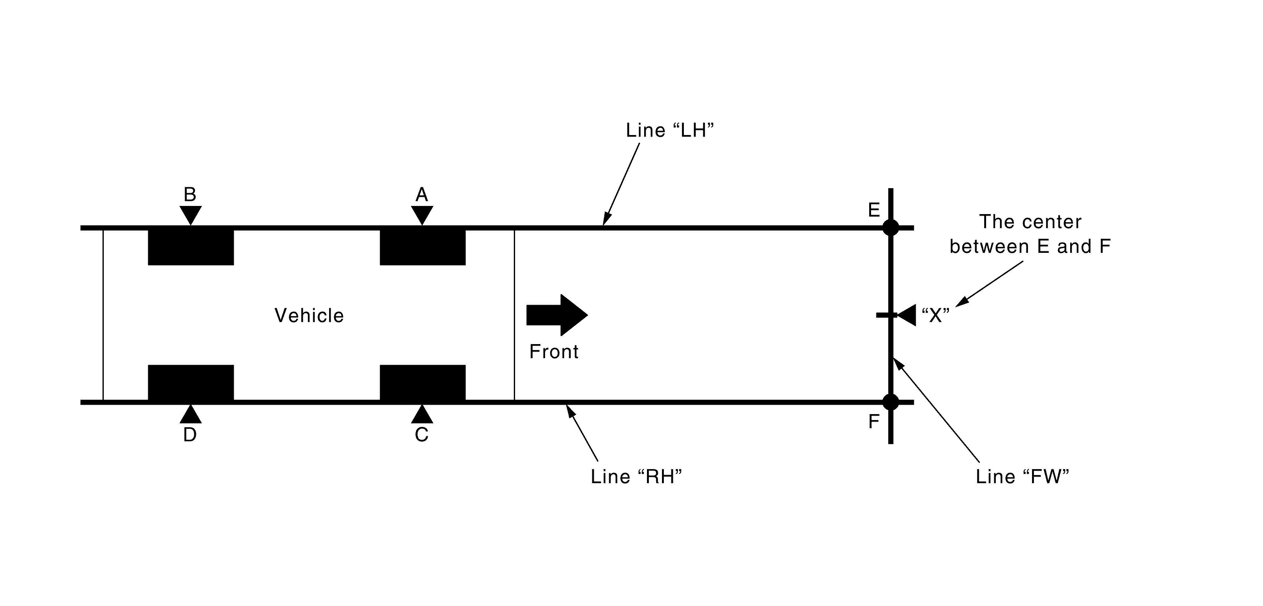
  1. TARGET SETTING 
    GNSDB132020Courtesy of NISSAN NORTH AMERICA, INC.
    A - E (C - F) : 3, 000 mm (118.11 in)
    1. Mark points "A", "B", "C" and "D"at the center of the lateral surface of each wheels.
      GNSDB143507Courtesy of NISSAN NORTH AMERICA, INC.
      NOTE: Hang a string with a cone from the fender so as to pass through the center of wheel, and then mark a point at the center of the lateral surface of the wheel.
    2. Draw line "LH" passing through points "A" and "B" on the left side of vehicle.
      NOTE: Approximately 4 m (13.12 ft) or more from the front end of vehicle.
    3. Mark point "E" on the line "LH" at the positions 3, 000 mm (118.11 in) from point "A".
    4. Draw line "RH" passing through points "C" and "D" on the right side of vehicle in the same way as step 2.
      NOTE: Approximately 4 m (13.12 ft) or more from the front end of vehicle.
    5. Mark point "F" on the line "RH" at the positions 3, 000 mm (118.11 in) from point "C".
    6. Draw line "FW" passing through the points "E" and "F" on the front side of vehicle.
    7. Mark point "X" at the center of point "E" and "F" on the line "FW".
      CAUTION:

      Make sure that "E" to "X" is equal to "F" to "X".

    8. Place a target on either side of point "X". Each distance from point "X" must be equal each other.
      GNSDB131627Courtesy of NISSAN NORTH AMERICA, INC.
      Dt : 3, 000 mm (118.11 in)

    >>

    Proceed to Camera Aiming Adjustment.

Camera Aiming Adjustment 

CAUTION:

Perform the adjustment under unloaded vehicle condition.

  1. CHECK VEHICLE HEIGHT 

    Measure the wheel arch height.

    GNSDB142627Courtesy of NISSAN NORTH AMERICA, INC.
      Hfl: Front left wheel arch height [mm]
      Hfr: Front right wheel arch height [mm]
    CAUTION:

    Be sure to measure wheel arch height correctly.

    >>

    GO TO 2.

  2. CAMERA AIMING ADJUSTMENT 

    SYMBOL With CONSULT

    CAUTION:

    Operate CONSULT outside the vehicle, and close all the doors. (To retain vehicle attitude appropriately)

    1. Select "Work Support" on "LANE CAMERA" with CONSULT.
    2. Select "AUTO AIM".
    3. Confirm the following items;
      • The target should be accurately placed.
      • The vehicle should be stopped.
    4. Select "Start" to perform camera aiming.
      CAUTION:
      • Never select "Start" when the target is not accurately placed.
      • Wait 5 seconds or more after selecting "Start".
    5. Input the following parameters, and then select "Start".
      Hfl : Measured Value
      Hfr : Measured Value
      Vehicle Reference Value : 903 mm
      VP : 0 mm
      Dt : 3, 000 mm
      Dbt : 720 mm
      Htu : 1, 420 mm
      Htl : 1, 180 mm
      Ts : 120 mm
    6. Confirm the displayed item.
      • "Normally Completed": Select "Completion".
      • "SUSPENSION", "Abnormally completed": Perform the following services.
        Displayed item Possible cause Service procedure
        SUSPENSION - Temporary malfunction in internal processing of the front camera unit. Go back to step 1.
        00H Routine not activated Front camera unit malfunction. Position the target appropriately again.
        Then perform the aiming again.
        10H Writing error
        • Temporary malfunction in internal processing of the front camera unit.
        • Front camera unit malfunction.
        Abnormally completed 2 Front camera unit cannot detect the target.
        • A target is not -yet-placed.
        • The position of the targets is not correct.
        • The position of the front camera unit is not correct.
        • Inappropriate work environment.
        • Inappropriate vehicle condition.
        • Input value is not correct against actual setting position.
        Position the target appropriately again.
        Then perform the aiming again.
        3 Roll angle is outside the threshold.
        • The position of the targets is not correct.
        • The position of the front camera unit is not correct.
        • Inappropriate work environment.
        • Inappropriate vehicle condition.
        • Input value is not correct against actual setting position.
        4 Yaw/pitch angle is outside the threshold.
        • The position of the targets is not correct.
        • The position of the front camera unit is not correct.
        • Inappropriate work environment.
        • Inappropriate vehicle condition.
        • Input value is not correct against actual setting position.
        5 Input value of aiming is invalid.
        • Input value is not correct against actual setting position.
        Correct input value of aiming and perform camera aiming again.
        6 The size of target is different. (A numerical value input to CONSULT differs from detected size)
        • The position of the targets is not correct.
        • The position of the front camera unit is not correct.
        • Inappropriate work environment.
        • Inappropriate vehicle condition.
        • Input value is not correct against actual setting position.
        Position the target appropriately again.
        Then perform the aiming again.
        7 The size of target is different. (A numerical value input to CONSULT differs from detected size)
        • The position of the targets is not correct.
        • The position of the front camera unit is not correct.
        • Inappropriate work environment.
        • Inappropriate vehicle condition.
        • Input value is not correct against actual setting position.
        8 Yaw/pitch angle is outside the threshold.
        • The position of the targets is not correct.
        • The position of the front camera unit is not correct.
        • Inappropriate work environment.
        • Inappropriate vehicle condition.
        • Input value is not correct against actual setting position.
        9 Yaw/pitch angle is outside the threshold.
        • The position of the targets is not correct.
        • The position of the front camera unit is not correct.
        • Inappropriate work environment.
        • Inappropriate vehicle condition.
        • Input value is not correct against actual setting position.
        10 Detect several targets.
        • The position of the targets is not correct.
        • The position of the front camera unit is not correct.
        • Inappropriate work environment.
        • Inappropriate vehicle condition.
        • Input value is not correct against actual setting position.
        11 Internal process malfunction
        • Turn the ignition switch to OFF, then turn ON again. Accurately set target and perform camera aiming again.
        • If ABNORMALLY COMPLETED again after aiming, replace front camera unit.
        12 Internal process time out
        13 Waiting for the start or aiming. (Insufficient passage of time from key SW ON to the start of aiming.)
        • Inappropriate work environment.
        Position the target appropriately again.
        Then perform the aiming again.
        14 Configuration of the front camera unit is not completed. Complete the configuration of the front camera unit. Refer to Work Procedure . Then turn the ignition switch OFF→ON Then position the target appropriately again.
        Ignition switch is not turned OFF→ON after the configuration of the front camera unit is completed. Turn the ignition switch OFF→ON. Then position the target appropriately again.
        15 Writing process malfunction
        • Check self-diagnosis result. If DTC is detected, perform trouble diagnosis.
        • Turn the ignition switch to OFF, then turn ON again. Accurately set target and perform camera aiming again.
        • If ABNORMALLY COMPLETED again after aiming, replace front camera unit.
        16 Internal transmitting malfunction
        19 Unit internal malfunction
        20 Writing value malfunction
        • If front camera unit is already replaced, perform configuration again.
        • Position the target appropriately again. Then perform the aiming again.
        • If there is still malfunction after performing above procedure, replace front camera unit.
        22 Unit internal malfunction
        • Check self-diagnosis result. If DTC is detected, perform trouble diagnosis.
        • Turn the ignition switch to OFF, then turn ON again. Accurately set target and perform camera aiming again.
        • If ABNORMALLY COMPLETED again after aiming, replace front camera unit.
        58 Unit internal malfunction
        59 Unit internal malfunction
        60 Unit internal malfunction
        61 Unit internal malfunction
        62 Unit internal malfunction
        63 No aiming done Turn the ignition switch to OFF, then turn ON again. Then position the target appropriately again.
        NOTE: Replace lane camera unit if "00H Routine not activated" or "10H Writing error" are repeatedly indicated during the above two services are performed.
    7. Confirm that "Normally completed" is displayed and then select "End" to close the adjustment procedure.

    >>

    GO TO 3.

  3. PERFORM SELF-DIAGNOSIS 

    SYMBOL With CONSULT Perform self-diagnosis of "LANE CAMERA" with CONSULT. Is any DTC detected?

    YES>>

    Perform diagnosis on the detected DTC and repair or replace the applicable item. Refer to DTC Index .

    NO>>

    GO TO 4.

  4. ACTION TEST 

    Perform the LDW/LDP system operation by action test. Refer to Work Procedure .

    >>

    WORK END

Target Mark Sample 

NOTE: Change the magnification of print to 120 mm (4.72 in) x 120 mm (4.72 in) and print the target mark sample.
GNSDB143918Courtesy of NISSAN NORTH AMERICA, INC.