LEMON Manuals: Even more car manuals for everyone: 1960-2025
Home >> Lexus >> 2002 >> ES 300 V6-3.0L (1MZ-FE) >> Repair and Diagnosis >> Powertrain Management >> Computers and Control Systems >> Oxygen Sensor >> Testing and Inspection
April 5, 2026: LEMON Manuals is launched! Read the announcement.

Oxygen Sensor: Testing and Inspection

INSPECTION


OXYGEN SENSOR
OXYGEN NO.2 SENSOR




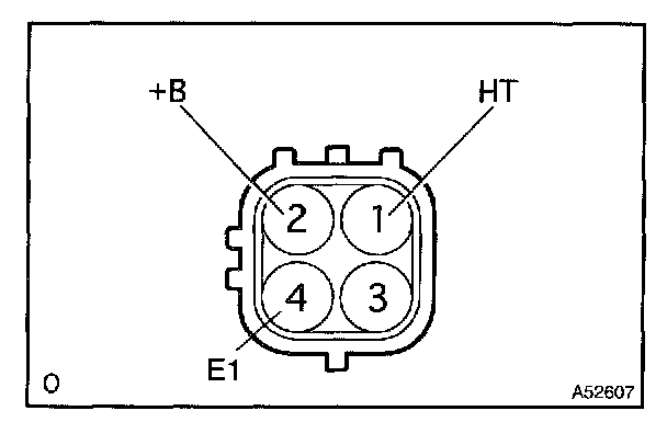
Resistance:




a. Using an ohmmeter, measure the resistance between the terminals.

If the resistance is not as specified, replace the sensor.

AIR FUEL RATIO SENSOR




Resistance:




a. Using an ohmmeter, measure the resistance between the terminals.

If the resistance is not as specified, replace the sensor.