LEMON Manuals: Even more car manuals for everyone: 1960-2025
Home >> Lexus >> 2002 >> ES 300 >> Repair and Diagnosis >> External Pages >> Different car >> Section 118 (Introduction) >> Repair Instruction >> Precaution
April 5, 2026: LEMON Manuals is launched! Read the announcement.

Repair Instruction: Precaution

WARNING: This page is about a different car, the 2004 Toyota Prius. However, it is still accessible from the selected car via links, so may be relevant.
  1. BASIC REPAIR HINT 
    1. HINTS ON OPERATIONS
      Fig 1: Locating Basic Repairing
      G02916838Courtesy of © TOYOTA, LICENSE AGREEMENT TMS1002
      Fig 2: Basic Repairing Chart
      G02916839Courtesy of © TOYOTA, LICENSE AGREEMENT TMS1002
    2. JACKING UP AND SUPPORTING VEHICLE
      1. Care must be taken when jacking up and supporting the vehicle. Be sure to lift and support the vehicle at the proper locations (see GENERAL INFORMATION  ).
      Fig 3: Applying Seal Lock Adhesive On Bolt
      G02916840Courtesy of © TOYOTA, LICENSE AGREEMENT TMS1002
    3. PRECOATED PARTS
      1. Precoated parts are bolts and nuts that are coated with a seal lock adhesive at the factory.
      2. If a precoated part is retightened, loosened or moved in anyway, it must be recoated with the specified adhesive.
      3. When reusing precoated parts, clean off the old adhesive and dry the part with compressed air. Then apply new seal lock adhesive appropriate to the bolts and nuts.
        NOTE: Perform the torque with the lower limit value of the torque tolerance.
      4. Some seal lock agents harden slowly. You may have to wait for the seal lock agent to harden.
    4. GASKETS
      1. When necessary, use a sealer on gaskets to prevent leaks.
    5. BOLTS, NUTS AND SCREWS
      1. Carefully follow all the specifications for tightening torques. Always use a torque wrench.
        Fig 4: Equal Amperage Rating Medium Current Fuse And High Current Fuse
        G02916841Courtesy of © TOYOTA, LICENSE AGREEMENT TMS1002
    6. FUSES
      1. When replacing fuses, be sure that the new fuse has the correct amperage rating. DO NOT exceed the rating or use one with a lower rating.
        Fig 5: Electrical Component Symbol Table
        G02916842Courtesy of © TOYOTA, LICENSE AGREEMENT TMS1002
    7. CLIPS
      1. The removal and installation methods of typical clips used in body parts are shown in the table below.

      HINT:

      If clips are damaged during a procedure, always replace the damaged clip with a new clip.

      Fig 6: Clips Removal And Installation Method Table (1 Of 2)
      G02916843Courtesy of © TOYOTA, LICENSE AGREEMENT TMS1002
      Fig 7: Clips Removal And Installation Method Table (2 Of 1)
      G02916844Courtesy of © TOYOTA, LICENSE AGREEMENT TMS1002
      Fig 8: Proper Method Of Removing And Installing For Vacuum Hoses
      G02916845Courtesy of © TOYOTA, LICENSE AGREEMENT TMS1002
    8. REMOVAL AND INSTALLATION OF VACUUM HOSES
      1. To disconnect vacuum hoses, pull and twist from the end of the hose. Do not pull from the middle of the hose as this may cause damage.
        Fig 9: Disconnecting Vacuum Hoses
        G02916846Courtesy of © TOYOTA, LICENSE AGREEMENT TMS1002
      2. When disconnecting vacuum hoses, use tags to identify where they should be reconnected.
      3. After completing the job, double check that the vacuum hoses are properly connected. The label under the hood shows the proper layout.
      4. When using a vacuum gauge, never force the hose onto a connector that is too large. Use a step-down adapter for adjustment. Once a hose has been stretched, it may leak air.
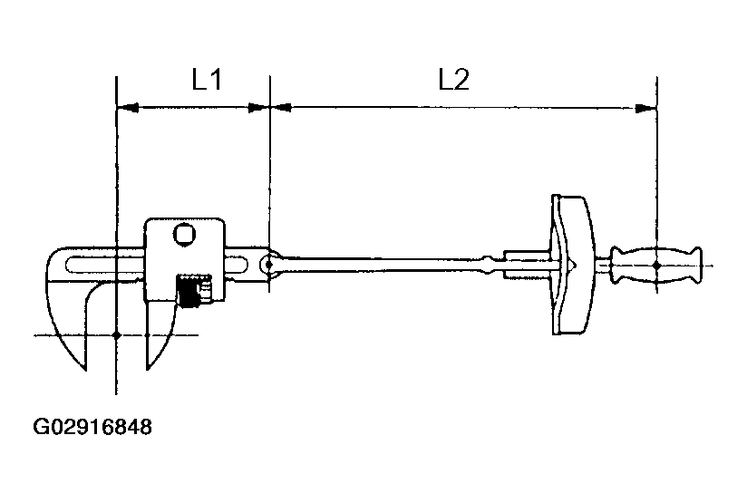
    9. TORQUE WHEN USING TORQUE WRENCH WITH EXTENSION TOOL
      Fig 10: Idenfifying Extending Length Of Torque Wrench
      G02916847Courtesy of © TOYOTA, LICENSE AGREEMENT TMS1002
      1. If SST or an extension tool is combined with the torque wrench to extend its length, do not tighten the torque wrench to the specified torque values. The resulting torque will be excessive.
      2. Use the formula below to calculate special torque values for situations where SST or an extension tool is combined with the torque wrench.
      3. Formula: T' = T x L2/(L1 + L2)
      DESCRIPTION

      T' Reading of torque wrench {N.m (kgf.cm, ft.lbf)}
      T Torque {N.m (kgf.cm, ft.lbf)}
      L1 Length of SST or extension tool (cm)
      L2 Length of torque wrench (cm)
      Fig 11: Identifying SST Length Of Torque Wrench
      G02916848Courtesy of © TOYOTA, LICENSE AGREEMENT TMS1002
  2. PRECAUTIONS FOR HIGH-VOLTAGE CIRCUIT INSPECTION AND SERVICE 
    1. Engineer must undergo special training to be able to perform high-voltage system inspection and servicing.
    2. All high-voltage wire harness connectors are colored orange. The HV battery and other high-voltage components have "High Voltage" caution labels. Do not carelessly touch these wires and components.
      Fig 12: Locating Service Plug For High-Voltage System
      G02916849Courtesy of © TOYOTA, LICENSE AGREEMENT TMS1002
    3. Before inspecting or servicing the high-voltage system, be sure to follow safety measures, such as wearing insulated gloves and removing the service plug to prevent electrocution. Carry the removed service plug in your pocket to prevent other technicians from reinstalling it while you are servicing the vehicle.
    4. After removing the service plug, wait 5 minutes before touching any of the high-voltage connectors and terminals.

      HINT:

      5 minutes are required to discharge the high-voltage condenser inside the inverter.

    5. Be sure to install the service plug before starting the hybrid system. Starting the hybrid system with the service plug removed may damage the vehicle.
      Fig 13: Selecting Proper Gloves
      G02916850Courtesy of © TOYOTA, LICENSE AGREEMENT TMS1002
    6. Before wearing insulated gloves, make sure that they are not cracked, ruptured, torn, or damaged in any way. Do not wear wet insulated gloves.
    7. When servicing the vehicle, do not carry metal objects like mechanical pencils or scales that can be dropped accidentally and cause a short circuit.
    8. Before touching a bare high-voltage terminal, wear insulated gloves and use an electrical tester to ensure that the terminal is not charged with electricity (approximately 0 V).
      Fig 14: Insulating High Voltage Connector
      G02916851Courtesy of © TOYOTA, LICENSE AGREEMENT TMS1002
    9. After disconnecting or exposing a high-voltage connector or terminal, insulate it immediately using insulation tape.
    10. The screw of a high-voltage terminal should be tightened firmly to the specified torque. Both insufficient and excessive torque can cause failure.
    11. Use the "CAUTION: HIGH VOLTAGE. DO NOT TOUCH DURING OPERATION" sign to notify other engineers that a high-voltage system is being inspected and/or repaired.
    12. Do not place the battery upside down while removing and installing it.
    13. After servicing the high-voltage system and before reinstalling the service plug, check again that you have not left a part or tool inside, that the high-voltage terminal screws are firmly tightened, and that the connectors are correctly connected.
    Fig 15: Locating Caution Attention Label
    G02916852Courtesy of © TOYOTA, LICENSE AGREEMENT TMS1002
  3. PRECAUTIONS TO BE OBSERVED WHEN INSPECTING OR SERVICING ENGINE COMPARTMENT 

    The PRIUS automatically turns the engine ON and OFF when the READY light on the instrument panel is ON. To avoid injury, remove the key from the key slot before inspecting or servicing the engine compartment.

  4. ACTIONS TO BE TAKEN WHEN BATTERIES ARE DEPLETED 
    1. Perform this procedure when the auxiliary battery is fully depleted.

      HINT:

      The following problems indicate that the auxiliary battery is depleted:

      • No display appears on the instrument panel when the power switch's power mode is set to ON (IG).
      • The hybrid system does not start.
      • The headlights are dim.
      • The sound from the horn is weak.
        NOTE: Never use a quick charger.
      1. Push the "P" position switch, and engage the parking brake.
      2. Remove the key from the key slot.
        Fig 16: Locating Relay Block
        G02916853Courtesy of © TOYOTA, LICENSE AGREEMENT TMS1002
      3. Using a booster cable, connect the rescue vehicle's 12 V battery positive (+) lead to the stalled vehicle's relay block positive (+) terminal and the negative (-) lead to the suspension support's nut on the right side.
      4. Start the engine of the rescue vehicle and run the engine at a speed slightly higher than the idling speed for 5 minutes to charge the auxiliary battery of the stalled vehicle.
      5. Depress the brake pedal and push the power switch to start the hybrid system.
        Fig 17: Locating Symbols Of HV Battery
        G02916854Courtesy of © TOYOTA, LICENSE AGREEMENT TMS1002

        If the hybrid system fails to start and the master lamp turns ON, the HV battery may be depleted.

      6. Disconnect the booster cable in the reverse order of the connection procedure.
      NOTE: If the auxiliary battery needs to be replaced, replace it only with a 12 V battery specially designed for use with the PRIUS.
    2. Perform this procedure when the HV battery is depleted.
    NOTE: Leaving the vehicle untouched for 2 to 3 months may deplete the HV battery. If the battery is fully depleted, replace the HV battery.
  5. ACTIONS TO BE TAKEN FOR VEHICLE DAMAGED BY IMPACT 
    1. Items to be prepared or operation at the site of the accident
      • Protective clothing (insulated gloves, rubber gloves, goggles, and safety shoes)
      • Saturated boric acid solution 20 L (obtain 800 g of boric acid powder, put it into a container, and dissolve it in water)
      • Red litmus paper
      • ABC fire extinguisher (effective against both oil flames and electrical flames)
      • Shop rags (for wiping off the electrolyte)
      • Vinyl tape (for insulating cable)
      • Electrical tester
    2. Actions to be taken at the place of accident
      1. Wear insulated or rubber gloves, goggles and safety shoes.
      2. Do not touch a bare cable that could be a high voltage cable. If the cable must be touched or if accidental contact is unavoidable, follow these instructions: 1) wear insulated or rubber gloves and goggles, 2) measure the voltage between the cable and the body ground using an electrical tester, and 3) insulate the cable using vinyl tape.
      3. If the vehicle catches on fire, use an ABC fire extinguisher to extinguish the fire. Trying to extinguish a fire using only a small amount of water can be more dangerous than effective. Use a substantial amount of water or wait for firefighters.
      4. Visually check the HV battery and immediate area for any electrolyte leakage. Do not touch any leaked liquid because it could be highly alkaline electrolyte. Wear rubber gloves and goggles, and then apply red litmus paper to the leak. If the paper turns blue, the liquid must be neutralized before wiping. Neutralize the liquid using the following procedures:

        1) apply saturated boric acid solution to the liquid, and 2) reapply red litmus paper and make sure it does not turn blue. Repeat steps  1 and  2 above until the paper does not turn blue. Then, wipe the neutralized liquid with a shop rag.

      5. If damage to any of the high-voltage components and cables is suspected, cut the high-voltage circuit using the procedure on the following pages.
        Fig 18: Locating High-Voltage System Part And Wiring
        G02916855Courtesy of © TOYOTA, LICENSE AGREEMENT TMS1002
        • Push the "P" position switch and engage the parking brake.
        • Remove the key from the key slot. Then disconnect the negative (-) terminal of the auxiliary battery.
          Fig 19: Locating Service Plug
          G02916856Courtesy of © TOYOTA, LICENSE AGREEMENT TMS1002
        • Remove the service plug while wearing insulated gloves.
        • Do not turn the power switch on while removing the service plug.
        • If the service plug cannot be removed due to damage to the rear portion of the vehicle, remove the HV fuse or power integration (IGCT Relay) instead.
        Fig 20: Locating HV Fuse & Power Integration (IGCT Relay)
        G02916857Courtesy of © TOYOTA, LICENSE AGREEMENT TMS1002
    3. Moving the damaged vehicle

      HINT:

      If any of the following applies, tow the vehicle away using a tow truck.

      • One or more of the high-voltage components and cables are damaged.
      • The driving, traction, or fuel system is damaged.
      • The READY lamp is not illuminated when you turn.
      • Fig 21: Locating Symbol READY
        G02916858Courtesy of © TOYOTA, LICENSE AGREEMENT TMS1002
      NOTE:
      • Before towing the vehicle away using a tow truck, disconnect the cable from the negative (-) terminal of the auxiliary battery and remove the service plug.

        Only if none of the above applies and there are no problems that might affect driving, drive the vehicle away from the place of accident to a safe, nearby place. 

      • Perform the procedure below if the READY lamp turns off, or there are abnormal noises, unusual smells, or strong vibrations while driving: 
      1. Park the vehicle in a safe place.
      2. Push the "P" position switch and engage the parking brake.
      3. Disconnect the power cable from the negative (-) terminal of the auxiliary battery.
      4. Remove the service plug while wearing insulated gloves.
    4. Actions required after moving the damaged vehicle

      If you see any liquid on the road surface, it could be highly alkaline electrolyte leakage.

      Wear rubber gloves and goggles, and apply red litmus paper to the leak. If the paper turns blue, the liquid must be neutralized before wiping. Neutralize the liquid using the following procedures: 1) apply saturated boric acid solution to the liquid, and 2) red litmus paper and make sure it does not turn blue. Repeat steps  1 and  2 above until the paper does not turn blue. Then wipe the neutralized liquid with a shop rag.

    5. Items to be prepared (when repairing damaged vehicles)
      • Protective clothing (Insulated gloves, rubber gloves, goggles, and safety shoes)
      • Saturated boric acid solution 20 L (obtain 800 g of boric acid powder, put it into a container, and dissolve it in water)
      • Red litmus paper
      • Shop rags (for wiping off the electrolyte)
      • Vinyl tape (for insulating cable)
      • Electrical tester
    6. Precautions to be observed when servicing the damaged vehicle
      1. Wear insulated or rubber gloves, goggles, and safety shoes.
      2. Do not touch a bare cable that could be a high voltage cable. If the cable must be touched or if accidental contact is unavailable, follow these instructions: 1) wear insulated or rubber gloves and goggles, 2) measure the voltage between the cable and the body ground using an electrical tester, and 3) insulate the cable using vinyl tape.
      3. Check the HV battery and immediate area for any electrolyte leakage. Do not touch any leaked liquid because it could be highly alkaline electrolyte. Wear rubber gloves and goggles, and then apply red litmus paper to the leak. If the paper turns blue, the liquid must be neutralized before wiping. Neutralize the liquid using the following procedures:

        1) apply saturated boric acid solution to the liquid, and 2) reapply red litmus paper and make sure it does not turn blue. Repeat steps 1 and 2 above until the paper does not turn blue, Then wipe the neutralized liquid with a shop rag.

      4. If the electrolyte adheres to your skin, wash the skin immediately using saturated boric acid solution or a large amount of water. If the electrolyte adheres to an article of clothing, take it off immediately.
      5. If the electrolyte comes in contact with your eyes, call out loudly for help. Do not rub your eyes. Wash them with a large amount of water and seek medical care immediately.
      6. If damage to any of the high-voltage components and cables is suspected, cut the high-voltage circuit using the procedure below.
        • Push the "P" position switch and engage the parking brake.
        • Remove the key from the key slot. Then disconnect the power cable from the negative (-) terminal of the auxiliary battery.
        • Wear insulated gloves, and then remove the service plug.
        • If you cannot remove the service plug due to damage to the rear portion of the vehicle, remove the HV fuse or IGCT relay instead.
    7. Precautions to be taken when disposing of the vehicle When scrapping the vehicle, remove the HV battery from the vehicle and return it to the location specified by the manufacturer. The same applies to any damaged HV battery.
    8. After removing the battery, keep it away from water. Water may heat the battery, which results in fire.
    9. Precautions to be observed when towing

      Tow the damaged vehicle with its front wheels or its front and rear wheels lifted off the ground.

      NOTE: Towing the damaged vehicle with its front wheels on the ground may cause the motor to generate electricity. This electricity could, depending on the nature of the damage, leak and cause a fire.
    10. Towing with 4 wheels on the ground
      NOTE:
      • If the damaged vehicle needs to be towed using a rope, do not exceed 30 km/h and tow only for very short distances. Foe example, towing from the accident site to a nearby tow truck is permissible.
      • Change the power switch's power mode to ON (IG) and shift the selector lever to the N position.
      • If any abnormality is present in the damaged vehicle during towing, stop towing immediately.
    11. Towing eyelet
    1. Install the hook.
    2. Hook a rope on to the illustrated area for towing.
      Fig 22: Locating Towing Eyelet
      G02916859Courtesy of © TOYOTA, LICENSE AGREEMENT TMS1002
  6. FOR VEHICLES EQUIPPED WITH SRS AIRBAG AND SEAT BELT PRETENSIONER 

    HINT:

    The PRIUS is equipped with a Supplemental Restraint System (SRS) and seat belt pretensioner.

    Failure to carry out the service operations in the correct sequence could cause the SRS to unexpectedly deploy during servicing and lead to serious injury.

    Furthermore, if a mistake is made when servicing the SRS, it is possible that the SRS may fail to operate properly. Before servicing (including removal or installation of parts, inspection or replacement), be sure to read the following section carefully.

    1. GENERAL NOTICE
      1. As the malfunction symptoms of the SRS are difficult to confirm the Diagnostic Trouble Codes (DTCs) become the most important source of information when troubleshooting. When troubleshooting the SRS, always check the DTCs before disconnecting the battery (see AIR BAG RESTRAINT SYSTEMS article ).
      2. Work must be started at least 90 seconds after the ignition switch is turned to the LOCK position and the negative (-) terminal cable is disconnected from the battery.

        (The SRS is equipped with a back-up power source. If work is started within 90 seconds after turning the ignition switch to lock and disconnecting the negative (-) terminal cable from the battery, the SRS may deploy).

        When the negative (-) terminal cable is disconnected from the battery, clock and audio system memory is erased. Before starting work, make a note of the settings of each memory system. When work is finished, reset the clock and audio systems as before.

        CAUTION: Never use the back-up power source (battery or other) to try to keep the system memory from being erased. The back-up power source may inadvertently power the SRS, and cause it to deploy.
      3. In minor collisions where the SRS does not deploy, the horn button assembly, instrument panel passenger airbag assembly, front seat airbag assembly, curtain shield airbag assembly and seat belt pretensioner should be inspected before further use of the vehicle (see AIR BAG RESTRAINT SYSTEMS article ).
      4. Never use SRS parts from another vehicle. When replacing parts, use new parts.
      5. Before repairs, remove the airbag sensor if impacts are likely to be applied to the sensor during repairs.
      6. Never disassemble and repair the airbag sensor assembly, horn button assembly, instrument panel passenger airbag assembly, front seat airbag assembly, curtain shield airbag assembly or seat belt pretensioner.
      7. Replace the center airbag sensor assembly, side airbag sensor assembly, horn button assembly or the instrument panel passenger airbag assembly, front seat airbag assembly or curtain shield airbag assembly if: 1) damage has occurred from being dropped, or 2) cracks, dents or other defects in the case, bracket or connector are present.
      8. Do not directly expose the airbag sensor assembly, horn button assembly, instrument panel passenger airbag assembly, front seat airbag assembly, curtain shield airbag assembly or seat belt pretensioner to hot air or flames.
      9. Use a voltmeter/ohmmeter with high impedance (10 kΩ/V minimum) for troubleshooting electrical circuits.
      10. Information labels are attached to the SRS components. Follow the instructions on the labels.
      11. After work on the SRS is completed, check the SRS warning lamp (see AIR BAG RESTRAINT SYSTEMS article ).
        Fig 23: Locating Marks Of Steering Column
        G02916860Courtesy of © TOYOTA, LICENSE AGREEMENT TMS1002
    2. SPIRAL CABLE (in Combination Switch)
      1. The steering wheel must be fitted correctly to the steering column with the spiral cable in the neutral position, otherwise cable disconnection and other problems may occur. Refer to AIR BAG RESTRAINT SYSTEMS for information about correct installation of the steering wheel.
    3. HORN BUTTON ASSEMBLY (with Airbag)
      1. When removing the horn button assembly or handling a new horn button, it should be placed with the pad surface facing up. See the illustration below.

        Placing the horn button with the pad surface facing down may lead to a serious accident if the airbag accidently inflates. Also, do not place anything on top of the horn button.

      2. Never measure the resistance of the airbag squib. This may cause the airbag to inflate, which could cause serious injury.
      3. Grease or detergents of any kind should not be applied to the steering wheel pad.
      4. Store the horn button assembly in an area where the ambient temperature is below 93°C (200°F), the humidity is not high and electrical noise is not nearby.
      5. When using electric welding anywhere on the vehicle, disconnect the airbag sensor (ECU) connectors (4 pins). These connectors contain shorting springs. This feature reduces the possibility of the airbag or seat belt pretensioner deploying due to currents entering the squib wiring.
      6. When disposing of the vehicle or the horn button assembly by itself, the airbag should be inflated using an SST before disposal (see AIR BAG RESTRAINT SYSTEMS article ). Perform the operation in a safe place away from electrical noise.
        Fig 24: Placing Method Of Horn Button Assy (With Airbag)
        G02916861Courtesy of © TOYOTA, LICENSE AGREEMENT TMS1002
        Fig 25: Precations Of Restraint System (1 Of 5)
        G02916862Courtesy of © TOYOTA, LICENSE AGREEMENT TMS1002
    4. INSTRUMENT PANEL PASSENGER AIRBAG ASSY
      1. Always place a removed or new instrument panel passenger airbag assembly with the airbag inflation direction facing upward.

        Placing the airbag assembly with the airbag inflation direction facing downward could cause a serious accident if the airbag inflates.

      2. Never measure the resistance of the airbag squib. This may cause the airbag to inflate, which could cause serious injury.
      3. Grease or detergents of any kind should not be applied to the instrument panel passenger airbag assembly.
      4. Store the airbag assembly in an area where the ambient temperature is below 93°C (200°F), the humidity is not high and electrical noise is not nearby.
      5. When using electric welding anywhere on the vehicle, disconnect the airbag ECU connectors (4 pins). These connectors contain shorting springs. This feature reduces the possibility of the airbag deploying due to currents entering the squib wiring.
      6. When disposing of a vehicle or the airbag assembly unit by itself, the airbag should be deployed using SST before disposal (see AIR BAG RESTRAINT SYSTEMS article ).

        Activate in a safe place away from electrical noise.

        Fig 26: Placing Method Of Instrument Panel Passenger Air Bag Assy
        G02916863Courtesy of © TOYOTA, LICENSE AGREEMENT TMS1002
        Fig 27: Precations Of Restraint System (2 Of 5)
        G02916864Courtesy of © TOYOTA, LICENSE AGREEMENT TMS1002
    5. CURTAIN SHIELD AIRBAG ASSEMBLY
      1. Always place the removed or new curtain shield airbag assembly in a clear plastic bag, and keep it in a safe place.
        NOTE: Plastic bag is not re-useable.
        CAUTION: Never disassemble the curtain shield airbag assembly.
      2. Never measure the resistance of the airbag squib. This may cause the airbag to inflate, which could cause serious injury.
      3. Grease or detergents of any kind should not be applied to the curtain shield airbag assembly.
      4. Store the airbag assembly in an area where the ambient temperature is below 93°C (200°F), the humidity is not high and electrical noise is not nearby.
      5. When using electric welding anywhere on the vehicle, disconnect the airbag sensor (ECU) connectors (2 pins). These connectors contain shorting springs. This feature reduces the possibility of the airbag deploying due to currents entering the squib wiring.
      6. When disposing of a vehicle or the curtain shield airbag assembly unit by itself, the airbag should be deployed using SST before disposal (see AIR BAG RESTRAINT SYSTEMS article ).

      Activate in a safe place away from electrical noise.

      Fig 28: Placing Method Of Securing Curtain Shield Airbag Assy.
      G02916865Courtesy of © TOYOTA, LICENSE AGREEMENT TMS1002
      Fig 29: Precations Of Restraint System (3 Of 5)
      G02916866Courtesy of © TOYOTA, LICENSE AGREEMENT TMS1002
    6. FRONT SEAT AIRBAG ASSEMBLY
      1. Always place a removed or new front seat airbag assembly with the airbag inflation direction facing up.

        Placing the airbag assembly with the airbag inflation direction facing downward could cause a serious accident if the airbag deploys.

      2. Never measure the resistance of the airbag squib. This may cause the airbag to inflate, which could cause serious injury.
      3. Grease should not be applied to the front seat airbag assembly, and the airbag door should not be cleaned with detergents of any kind.
      4. Store the airbag assembly in an area where the ambient temperature is below 93°C (200°F), the humidity is not high and electrical noise is not nearby.
      5. When using electric welding anywhere on the vehicle, disconnect the airbag ECU connectors (2 pins). These connectors contain shorting springs. This feature reduces the possibility of the airbag deploying due to currents entering the squib wiring.
      6. When disposing of a vehicle or the airbag assembly unit by itself, the airbag should be deployed using SST before disposal (see AIR BAG RESTRAINT SYSTEMS article ).

        Activate in a safe place away from electrical noise.

        Fig 30: Precations Of Restraint System (4 Of 5)
        G02916867Courtesy of © TOYOTA, LICENSE AGREEMENT TMS1002
      7. SEAT BELT PRETENSIONER
        1. Never measure the resistance of the seat belt pretensioner. This may cause the seat belt pretensioner to activate, which could cause serious injury.
        2. Never disassemble the seat belt pretensioner.
        3. Never install the seat belt pretensioner on another vehicle.
        4. Store the seat belt pretensioner in an area where the ambient temperature is below 80°C (176°F), the humidity is not high and electrical noise is not nearby.
        5. When using electric welding anywhere on the vehicle, disconnect the airbag sensor (ECU) connectors (2 pins). These connectors contain shorting springs. This feature reduces the possibility of the airbag deploying due to currents entering the squib wiring.
        6. When disposing of a vehicle or the seat belt pretensioner unit by itself, the seat belt pretensioner should be activated before disposal (see AIR BAG RESTRAINT SYSTEMS article ). Activate in a safe place away from electrical noise.
        7. As the seat belt pretensioner is hot after being activated, allow some time for it to cool down sufficiently before disposal. Never apply water to try to cool down the seat belt pretensioner.
        8. Grease, detergents, oil or water should not be applied to the front seat outer belt.
        Fig 31: Precation Of Restraint System (5 Of 5)
        G02916868Courtesy of © TOYOTA, LICENSE AGREEMENT TMS1002
      8. AIRBAG SENSOR ASSEMBLY (ECU)
        1. Never reuse an airbag sensor assembly that has been involved in a collision where the SRS has deployed.
        2. The connectors to the airbag sensor assembly should be connected or disconnected with the sensor mounted on the floor. If the connectors are connected or disconnected while the airbag sensor assembly is not mounted to the floor, the SRS may activate.
        3. Work must be started at least 90 seconds after the power switch's power mode is changed to OFF and the negative (-) terminal cable is disconnected from the battery, even if only loosening the set bolts of the airbag sensor assembly.
      9. WIRE HARNESS AND CONNECTOR
      1. The SRS wire harness is integrated with the instrument panel wire harness assembly. All the connectors in the system are a standard yellow color. If the SRS wire harness becomes disconnected or the connector becomes broken, repair or replace it.
  7. ELECTRONIC CONTROL 
    1. REMOVAL AND INSTALLATION OF BATTERY TERMINAL
      NOTE: After disconnecting the negative (-) terminal, it is necessary to perform the initialization of certain systems. (see CUSTOMIZE PARAMETERS  )
      Fig 32: Removing Battery Negative Terminal
      G02916869Courtesy of © TOYOTA, LICENSE AGREEMENT TMS1002
      1. Before performing electronic work, disconnect the battery negative (-) terminal cable beforehand to prevent component and wire damage caused by accidental short circuits.
      2. When disconnecting the terminal cable, turn the ignition switch and lighting switch OFF and loosen the terminal nut completely. Perform these operations without twisting or prying the terminal. Remove the battery cable from the battery post.
      3. Clock settings, radio settings, DTCs and other data are erased when the battery cable is removed. Before removing the battery cable, record any necessary data.
      Fig 33: Handling Method Of Electronic Parts
      G02916870Courtesy of © TOYOTA, LICENSE AGREEMENT TMS1002
    2. HANDLING OF ELECTRONIC PARTS
      1. Do not open the cover or case of the ECU unless absolutely necessary. If the IC terminals are touched, the IC may be rendered inoperative by static electricity.
      2. To disconnect electronic connectors, pull the connector itself, not the wires.
      3. Be careful not to drop electronic components, such as sensors or relays. If they are dropped on a hard surface, they should be replaced.
      4. When cleaning the engine with steam, protect the electronic components, air filter and emission-related components from water.
      5. Never use an impact wrench to remove or install temperature switches or temperature sensors.
      6. When checking the resistance of a wire connector, insert the tester probe carefully to prevent terminals from bending.
  8. REMOVAL AND INSTALLATION OF FUEL CONTROL PARTS 
    1. PLACE FOR REMOVING AND INSTALLING OF FUEL SYSTEM PARTS
      1. Work in a place with good air ventilation that does not have welders, grinders, drills, electric motors, stoves, or any other ignition sources.
      2. Never work in a pit or near a pit as vaporized fuel will collect in those places.
    2. REMOVING AND INSTALLING OF FUEL SYSTEM PARTS
    1. Prepare a fire extinguisher before starting operation.
    2. To prevent static electricity, install a ground on the fuel changer, vehicle and fuel tank, and do not spray the area with water. The work surface will become slippery. Do not clean up spills with water as this will spread and gasoline and create a fire hazard.
    3. Avoid using electric motors, working lights and other electric equipment that can cause sparks or high temperatures.
    4. Avoid using iron hammers as they may create speaks.
    5. Dispose of fuel-contaminated shop rags separately using a fire resistant container.
  9. REMOVAL AND INSTALLATION OF ENGINE INTAKE PARTS 
    1. If any metal particle enters the inlet pass, this may damage the engine.
    2. When removing and installing the inlet system parts, cover the openings of the removed parts and engine openings. Use clean shop rags, gummed tape, or other suitable materials.
    3. When installing the inlet system parts, check that no metal particles have entered the engine or the installed part.
    Fig 34: Locating Inlet System Parts Cover
    G02916871Courtesy of © TOYOTA, LICENSE AGREEMENT TMS1002
  10. HANDLING OF HOSE CLAMPS 
    1. Before removing the hose, check the clamp position so that it can be reinstalled in the same position.
    2. Replace deformed or dented clamps with a new one.
    3. When reusing a hose, attach the clamp on the clamp track portion of the hose.
    4. For a spring type clamp, you may want to spread the tabs slightly after installation by pushing in the direction of the arrow marks as shown in the illustration.
    Fig 35: Removing Hose Clamps
    G02916872Courtesy of © TOYOTA, LICENSE AGREEMENT TMS1002
  11. FOR VEHICLES EQUIPPED WITH MOBILE COMMUNICATION SYSTEMS 
    1. Install the antenna as far away from the ECU and sensors of the vehicle electronic systems as possible.
    2. Install an antenna feeder at least 20 cm (7.87 in.) away from the ECU and sensors of the vehicle electronic systems. For details of the ECU and sensors locations, refer to the section on applicable components.
    3. Keep the antenna and feeder separate from other wirings as much as possible. This will prevent signals from the communication equipment from affecting vehicle equipment and vice-versa.
    4. Check that the antenna and feeder are correctly adjusted.
    5. Do not install high-powered mobile communication systems.
    Fig 36: Locating Mobile Communication System
    G02916873Courtesy of © TOYOTA, LICENSE AGREEMENT TMS1002
  12. FOR VEHICLES EQUIPPED WITH VEHICLE STABILITY CONTROL (Enhanced VSC) SYSTEM 
    1. NOTICES WHEN USING DRUM TESTER
      1. Before beginning testing, disable the Vehicle Skid Control (Enhanced VSC) system. To disable the Enhanced VSC, change the power switch's power mode to OFF and connect SST to terminals TS and CG of the DLC3.

      SST 09843-18040

      NOTE:
      • Confirm that the VSC warning lamp is blinking.
      • The Enhanced VSC system will be reset when the engine is restarted.
      • For safety, secure the vehicle with restraint chains when using a wheel dynamometer.
      Fig 37: Locating CG And TS Terminal Of DLC3
      G02916874Courtesy of © TOYOTA, LICENSE AGREEMENT TMS1002
    2. NOTICES OF RELATED OPERATIONS TO Enhanced VSC
      1. Do not make unnecessary installations and removals as this may affect the adjustment of Enhanced VSC related parts.
      2. Be sure to follow the Enhanced VSC system's instructions for work preparation and final confirmation of proper operation.
  13. FOR VEHICLES EQUIPPED WITH CATALYTIC CONVERTER 
    CAUTION: If a large amount of unburned gasoline or gasoline vapors flow into the converter, this may cause overheating and create a fire hazard. To prevent this, observe the following precautions.
    1. Use only unleaded gasoline.
    2. Avoid prolonged idling.

      Avoid idling the engine for more than 20 minutes.

    3. Avoid a spark jump test.
      1. Perform a spark jump test only when absolutely necessary. Perform this test as rapidly as possible.
      2. While testing, never rev the engine.
    4. Avoid a prolonged engine compression measurement.

      Engine compression measurements must be performed as rapidly as possible.

    5. Do not run the engine when the fuel tank is nearly empty. This may cause the engine to misfire and create an extra load on the converter.