LEMON Manuals: Even more car manuals for everyone: 1960-2025
Home >> Lexus >> 2002 >> ES 300 >> Repair and Diagnosis >> Steering >> Power Steering >> Steering Control System >> Vane Pump Assembly >> Overhaul
April 5, 2026: LEMON Manuals is launched! Read the announcement.

Vane Pump Assembly: Overhaul

NOTE:
  • When using a vise, do not over tighten.
  • When installing, coat the parts indicated by the arrows with power steering fluid. See VANE PUMP ASSEMBLY .
  1. Remove front wheel RH.
  2. Drain power steering fluid.
  3. Remove front fender liner RH.
  4. Remove front fender apron seal RH.
  5. Disconnect oil reservoir to pump hose No. 1.
    1. Remove the clip and disconnect the oil reservoir to pump hose No. 1.
      NOTE: Take care not to spill fluid on the V belt.
  6. Remove power steering oil pressure switch.
    1. Disconnect the connector.
    2. Remove the oil power steering pressure switch from the union bolt.
      NOTE: Be careful not to drop the oil power steering pressure switch.

      If the oil power steering pressure switch is dropped or strongly damaged, replace it with a new one.

  7. Disconnect pressure feed hose.
    1. Using a 22 mm spanner to hold the pressure port union, remove the union bolt and gasket.
      Fig 1: Disconnecting Pressure Feed Hose
      G01208911Courtesy of © TOYOTA, LICENSE AGREEMENT TMS1002
  8. Remove vane pump V belt.
    1. Loosen the 2 bolts and remove the vane pump V belt.
  9. Remove vane pump assembly.
    1. Remove the 2 bolts and vane pump assembly.
      Fig 2: Remove Vane Pump V Belt
      G01208912Courtesy of © TOYOTA, LICENSE AGREEMENT TMS1002
  10. Remove vane pump pulley (type a vane pump).
    1. Using SST, stop the vane pump pulley rotation and loosen the nut.

      SST 09960-10010 (09962-01000, 09963-01000)

    2. Remove the nut and vane pump pulley from the vane pump shaft.
    Fig 3: Removing Vane Pump Pulley
    G01208913Courtesy of © TOYOTA, LICENSE AGREEMENT TMS1002
  11. Remove power steering suction port union.
    1. Remove the bolt and power steering suction port union.
    2. Remove the O-ring from the power steering suction port union.
  12. Remove pressure port union.
    1. Remove the pressure port union.
    2. Remove the O-ring from the pressure port union.
  13. Remove flow control valve.
  14. Remove flow control valve compression spring.
  15. Remove vane pump bracket rear (type a vane pump).
    1. Remove the 2 bolts and pump bracket rear from the vane pump assembly.
  16. Remove vane pump bracket rear (type "B" vane pump).
    1. Remove the 2 bolts, 2 nuts and pump bracket rear from the vane pump assembly.
  17. Remove vane pump housing rear.
    1. Remove the 4 bolts and vane pump housing rear from the vane pump housing front.
    2. Remove the gasket.
    3. Remove the 2 O-rings from the vane pump housing rear.
  18. Remove vane pump side plate rear.
    1. Remove the wave washer from the side plate rear.
    2. Remove the side plate rear.
  19. Remove vane pump cam ring.
  20. Remove vane pump rotor.
    1. Remove the 10 vane pump plates from the vane pump rotor.
    2. Using a screwdriver, remove the vane pump shaft snap ring from the vane pump shaft.
    3. Remove the vane pump rotor.
    Fig 4: Removing Vane Pump Rotor
    G01208914Courtesy of © TOYOTA, LICENSE AGREEMENT TMS1002
  21. Remove vane pump shaft (type "A" vane pump).
  22. Remove w/pulley shaft sub-assembly (type "B" vane pump).
  23. Remove pump bracket front.
    1. Remove the bolt and pump bracket front from the pump housing front.
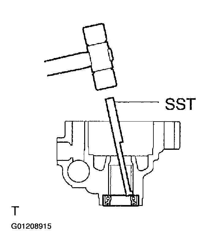
  24. Remove vane pump housing oil seal.
    1. Using SST and a hammer, tap out the vane pump housing oil seal from the vane pump housing front.

      SST 09631-10030

      NOTE: Be careful not to damage the bushing of the vane pump housing front.
      Fig 5: Removing Vane Pump Oil Seal
      G01208915Courtesy of © TOYOTA, LICENSE AGREEMENT TMS1002
  25. Inspect oil clearance.
    1. Using a micrometer and a caliper gauge, measure the oil clearance.
      1. Standard Clearance:  0.027-0.054 mm (0.0011-0.0021 in.)
      2. Maximum Clearance:  0.07 mm (0.0028 in.)

      If it is more than the maximum, replace the vane pump assembly.

      Fig 6: Inspecting Oil Clearance
      G01208916Courtesy of © TOYOTA, LICENSE AGREEMENT TMS1002
  26. Inspect vane pump rotor and vane plates.
    1. Using a micrometer, measure the height, thickness and length of the vane pump plates.

      Minimum Height:  8.6 mm (0.339 in.)

      Minimum Thickness:  1.397 mm (0.0550 in.)

      Minimum Length:  14.991 mm (0.5902 in.)

      Fig 7: Inspecting Vane Pump Rotor & Vane Plates
      G01208917Courtesy of © TOYOTA, LICENSE AGREEMENT TMS1002
    2. Using a feeler gauge, measure the clearance between the vane pump rotor groove and vane pump plate.

      Maximum Clearance:  0.03 mm (0.0012 in.)

      If it is more than the maximum, replace the vane pump assembly.

      Fig 8: Measuring Clearance Using A Feeler Gauge
      G01208918Courtesy of © TOYOTA, LICENSE AGREEMENT TMS1002
  27. Inspect flow control valve.
    1. Coat the flow control valve with power steering fluid and check that it falls smoothly into the flow control valve hole by its own weight.
      Fig 9: Inspect Flow Control Valve
      G01208919Courtesy of © TOYOTA, LICENSE AGREEMENT TMS1002
    2. Check the flow control valve for leakage. Close one of the holes and apply compressed air of 392-490 kPa (4-5 kgf/cm2 , 57-71 psi) into the opposite side hole, and confirm that air does not come out from the end holes.

      If necessary, replace the vane pump assembly.

      Fig 10: Checking Flow Control Valve For Leakage
      G01208920Courtesy of © TOYOTA, LICENSE AGREEMENT TMS1002
  28. Inspect flow control valve compression spring.
    1. Using vernier calipers, measure the free length of the flow control valve compression spring.

      Minimum Free Length:  32.24 mm (1.269 in.)

      If it is not within the specification, replace the vane pump assembly.

      Fig 11: Inspecting Flow Control Valve Compression Spring
      G01208921Courtesy of © TOYOTA, LICENSE AGREEMENT TMS1002
  29. Inspect pressure port union.

    If the union seat in the pressure port union is remarkably damaged and it may cause fluid leakage, replace the vane pump assembly.

  30. Install vane pump housing oil seal.
    1. Coat a new vane pump housing oil seal lip with power steering fluid.
    2. Using SST and a press, install a new vane pump housing oil seal.

      SST 09950-60010 (09951-00330), 09950-70010 (09951-07100)

      NOTE: Make sure that the vane pump housing oil seal is installed facing the correct direction.
      Fig 12: Installing Vane Pump Housing Oil Seal
      G01208922Courtesy of © TOYOTA, LICENSE AGREEMENT TMS1002
  31. Install pump bracket front.
    1. Install the pump bracket front with the bolt.

      Torque: 

      1. Type "A" Vane Pump:  43 N.m (438 kgf.cm, 32 ft.lbf)
      2. Type "B" Vane Pump:  44 N.m (449 kgf.cm, 32 ft.lbf)

  32. Install vane pump shaft (type "A" vane pump).
    1. Coat inside bushing surface of the pump housing front with power steering fluid.
    2. Gradually insert the vane pump shaft from the pulley side.
      NOTE: Do not damage the vane pump housing oil seal lip in the vane pump housing front.
      Fig 13: Locating Power Fluid
      G01208923Courtesy of © TOYOTA, LICENSE AGREEMENT TMS1002
  33. Install w/pulley shaft sub-assembly (type "B" vane pump).
    1. Coat inside bushing surface of the pump housing front with power steering fluid.
    2. Gradually insert the vane pump shaft from the pulley side.
      NOTE: Do not damage the vane pump housing oil seal lip in the vane pump housing front.
      Fig 14: Locating Power Steering Fluid
      G01208924Courtesy of © TOYOTA, LICENSE AGREEMENT TMS1002
  34. Install vane pump rotor
    1. Install the vane pump rotor.
    2. Using a snap ring expander, install a new vane pump shaft snap ring to the vane pump shaft.
    Fig 15: Installing Vane Pump Rotor
    G01208925Courtesy of © TOYOTA, LICENSE AGREEMENT TMS1002
  35. Install vane pump cam ring.
    1. Align the holes of the vane pump cam ring with 2 straight pins, and install the vane pump cam ring with inscribed mark facing outward.
      Fig 16: Installing Vane Pump Cam Ring
      G01208926Courtesy of © TOYOTA, LICENSE AGREEMENT TMS1002
    2. Coat 10 vane pump plates with power steering fluid.
    3. Install the vane pump plates with the round end facing outward.
    4. Install a new gasket.
    Fig 17: Installing Vane Pump Plates
    G01208927Courtesy of © TOYOTA, LICENSE AGREEMENT TMS1002
  36. Install vane pump side plate rear.
    1. Coat a new O-ring with power steering fluid and install it to the side plate rear.
    2. Align the groove of the cam ring with that of the side plate, install the side plate rear.
      Fig 18: Installing Vane Pump Side Plate Rear
      G01208928Courtesy of © TOYOTA, LICENSE AGREEMENT TMS1002
    3. Install the wave washer so that its protrusions fit into the slots in the side plate rear.
    Fig 19: Installing Wave Washer
    G01208929Courtesy of © TOYOTA, LICENSE AGREEMENT TMS1002
  37. Install vane pump housing rear.
    1. Coat a new O-ring with power steering fluid and install it to the vane pump housing rear.
    2. Install the pump housing rear with the 4 bolts.

      Torque:  24 N.m (245 kgf.cm, 18 ft.lbf)

  38. Measure power steering vane pump rotation torque (type "A" vane pump).
    1. Check that the vane pump rotates smoothly without abnormal noise.
    2. Temporarily install the pulley set nut.
    3. Using a torque wrench, check the vane pump rotating torque.

      Rotating Torque:  0.27 N.m (2.8 kgf.cm, 2.4 in.lbf) or less

    Fig 20: Measuring Power Steering Vane Pump Rotation Torque (Type "A")
    G01208930Courtesy of © TOYOTA, LICENSE AGREEMENT TMS1002
  39. Measure power steering vane pump rotation torque (type "B" vane pump).
    1. Check that the vane pump rotates smoothly without abnormal noise.
    2. Temporarily install the service bolt.

      Recommended Service Bolt: 

      1. Thread Diameter:  10 mm (0.39 in.)
      2. Thread Pitch:  1.25 mm (0.0492 in.)
      3. Bolt Length:  50 mm (1.97 in.)

    3. Using a torque wrench, check the vane pump rotating torque.

      Rotating Torque:  0.27 N.m (2.8 kgf.cm, 2.4 in.lbf) or less

      Fig 21: Measuring Power Steering Vane Pump Rotation Torque (Type "B")
      G01208931Courtesy of © TOYOTA, LICENSE AGREEMENT TMS1002
  40. Install vane pump bracket rear (type "A" vane pump).
    1. Install the pump bracket rear with the 2 bolts.

      Torque:  43 N.m (438 kgf.cm, 32 ft.lbf)

  41. Install vane pump bracket rear (type "B" vane pump).
    1. Install the pump bracket rear with the 2 bolts and 2 nuts.

      Torque:  44 N.m (449 kgf.cm, 32 ft.lbf)

  42. Install flow control valve compression spring.
    1. Coat the flow control valve compression spring with power steering fluid and install it.
  43. Install flow control valve.
    1. Coat the flow control valve with power steering fluid.
    2. Install the flow control valve.
  44. Install pressure port union.
    1. Coat a new O-ring with power steering fluid and install it to the pressure port union.
    2. Install the pressure port union.

      Torque:  83 N.m (846 kgf.cm, 61 ft.lbf)

  45. Install power steering suction port union.
    1. Coat a new O-ring with power steering fluid and install it to the power steering suction port union.
    2. Install the power steering suction port union with the bolt.

      Torque:  13 N.m (133 kgf.cm, 10 ft.lbf)

  46. Install vane pump pulley (type "A" vane pump).
    1. Install the vane pump pulley to the vane pump shaft.
    2. Using SST, stop the vane pump pulley rotation and install the nut.

      SST 09960-10010 (09962-01000, 09963-01000)

      Torque:  44 N.m (449 kgf.cm, 32 ft.lbf)

    Fig 22: Installing Vane Pump Pulley (Type "A")
    G01208932Courtesy of © TOYOTA, LICENSE AGREEMENT TMS1002
  47. Install vane pump assembly.
    1. Temporarily install the vane pump assembly with the 2 ("A" and "B") bolts.
  48. Install vane pump V belt.
    1. Install the vane pump V belt and adjust the V belt tension. See SERPENTINE BELT ROUTING & ALIGNMENT .
    2. Torque the bolt "A".

      Torque:  43 N.m (438 kgf.cm, 32 ft.lbf)

    3. Torque the bolt "B".

      Torque:  43 N.m (438 kgf.cm. 32 ft.lbf)

    Fig 23: Installing Vane Pump Assembly
    G01208933Courtesy of © TOYOTA, LICENSE AGREEMENT TMS1002
  49. Connect pressure feed hose.
    1. Using a 22 mm spanner to hold the pressure port union, connect the pressure feed tube assembly with the union bolt and a new gasket.

      Torque:  51.5 N.m (525 kgf.cm, 38 ft.lbf)

      NOTE: Make sure the stopper of the pressure feed tube touches the front bracket as shown in the illustration, then install the union bolt.
      Fig 24: Connecting Pressure Feed Hose
      G01208934Courtesy of © TOYOTA, LICENSE AGREEMENT TMS1002
  50. Install power steering oil pressure switch.
    1. Install the power steering oil pressure switch to the union bolt.

      Torque:  21 N.m (214 kgf.cm, 15 ft.lbf)

      NOTE: Be careful not to allow oil from being attached to the connector.
    2. Connect the connector.
  51. Connect oil reservoir to pump hose No. 1.
    1. Connect the oil reservoir to pump hose No. 1.
    2. Install the clip.
  52. Install front fender apron seal RH.
  53. Install front fender liner RH.
  54. Install front wheel RH.

    Torque:  103 N.m (1,050 kgf.cm, 76 ft.lbf)

  55. Bleed power steering fluid.
  56. Inspect fluid leak.