LEMON Manuals: Even more car manuals for everyone: 1960-2025
Home >> Lexus >> 2002 >> GS 430 >> Repair and Diagnosis >> Body & Frame >> Body, Cab Control Systems >> Body Control Systems >> Circuit Tests >> Anti-Theft Indicator Circuit >> Inspection Procedure
April 5, 2026: LEMON Manuals is launched! Read the announcement.

Inspection Procedure

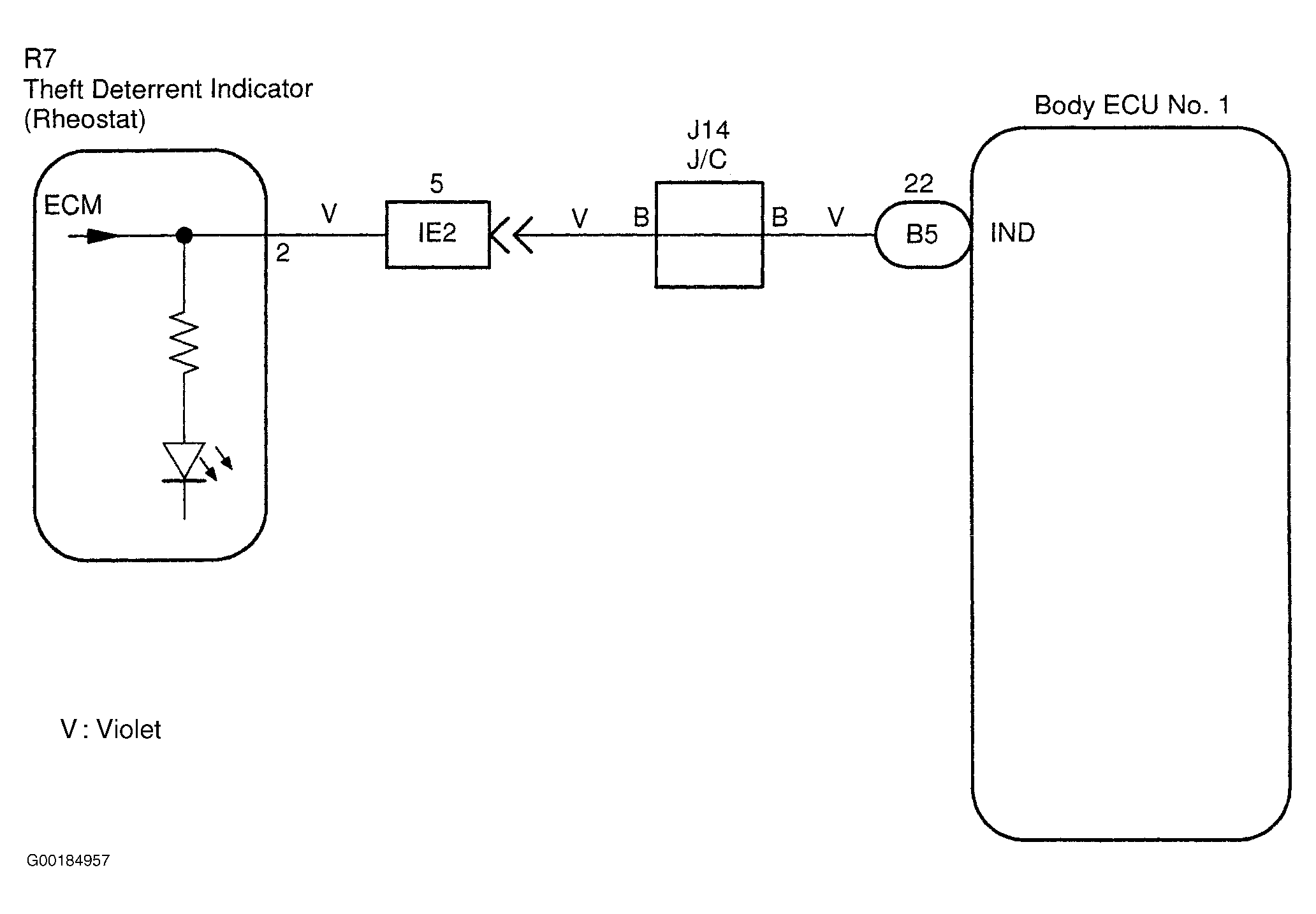
For circuit wiring diagram, see Fig 1.

NOTE: If using the hand-held tester, start the inspection from step  1 and if not using the hand-held tester, start from step  2.
  1. Check the anti-theft indicator using the hand-held tester. Connect the hand-held tester to DLC3. See Figure. Connect the terminals Tc and E1 of DLC1 located in the driver side of the engine compartment near the engine room junction block No. 3. See Figure. See CONNECTOR IDENTIFICATION . Check that the anti-theft indicator light can light in ACTIVE TEST. If the results are OK, perform the next test procedure of the problem symptom. See BODY ECU NO. 1 PROBLEM SYMPTOM INDEX  table. If the results are not OK, go to the next step.
  2. Check the anti-theft indicator. See ANTI-THEFT INDICATOR LIGHT under COMPONENT TESTS under ANTI-THEFT SYSTEMS article in DOOR LOCKS & ANTI-THEFT SYSTEMS. If the results are OK, go to the next step. If the results are not OK, replace the anti-theft indicator.
  3. Check for short to power, short to ground and continuity in the wiring harness and connector between the anti-theft indicator and body ECU No. 1. If the results are OK, perform the next test procedure of the problem symptom. See BODY ECU NO. 1 PROBLEM SYMPTOM INDEX  table. If the results are not OK, repair or replace the wiring harness or connector.
Fig 1: Anti-Theft Indicator Circuit Wiring Diagram
G00184957Courtesy of © TOYOTA, LICENSE AGREEMENT TMS1002