LEMON Manuals: Even more car manuals for everyone: 1960-2025
Home >> Lexus >> 2002 >> GS 430 >> Repair and Diagnosis >> External Pages >> Different car >> Section 323 (LEXUS Navigation System (Diagnostics)) >> Pre-Check >> Diagnosis System Mode
April 5, 2026: LEMON Manuals is launched! Read the announcement.

Diagnosis System Mode

WARNING: This page is about a different car, the 2003 Lexus GS 430 and 2003 Lexus GS 300. However, it is still accessible from the selected car via links, so may be relevant.

HINT:

Diagnosis System Mode is operated as follows.

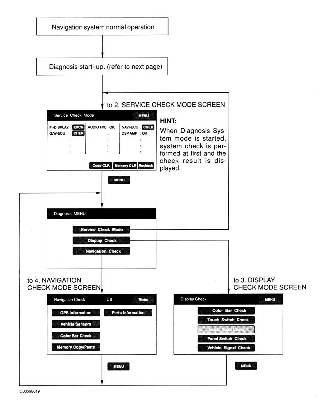
Fig 1: Identifying Diagnosis System Mode Flow Chart
G03598619Courtesy of © TOYOTA, LICENSE AGREEMENT TMS1002
  1. DIAGNOSIS START-UP

    To start the diagnosis menu, there are 3 ways: using a diagnosis check wire and using a switch.

  2. START-UP BY SWITCH OPERATION

    (light control switch)

    1. Vehicle speed is 0 km/h (0 mph).
    2. Parking brake switch is pressed.
    3. While pressing "INFO" switch, by turning the light control switch to OFF, TAIL, OFF, TAIL, and OFF the system is started up.
  3. START-UP BY SWITCH OPERATION (touch panel)
    1. Vehicle speed is 0 km/h (0 mph).
    2. Parking brake switch is pressed.
    3. Press the "INFO" switch to display the Screen Adjustment screen.
      Fig 2: Identifying INFO Switch
      G03598620Courtesy of © TOYOTA, LICENSE AGREEMENT TMS1002
    4. Repeatedly touch the upper and lower bottom parts of the left end of the screen 3 times.
    Fig 3: Identifying Concealed Touch Switch
    G03598621Courtesy of © TOYOTA, LICENSE AGREEMENT TMS1002
  4. FINISHING DIAGNOSIS SYSTEM MODE

    Turn the ignition switch from ACC to OFF to finish the mode. If it is started by switch operation.