LEMON Manuals: Even more car manuals for everyone: 1960-2025
Home >> Lexus >> 2002 >> GS 430 >> Repair and Diagnosis >> External Pages >> Different car >> Section 327 (Headlight Beam Level Control System) >> Inspection
April 5, 2026: LEMON Manuals is launched! Read the announcement.

Section 327 (Headlight Beam Level Control System): Inspection

WARNING: This page is about a different car, the 2003 Lexus GS 430 and 2003 Lexus GS 300. However, it is still accessible from the selected car via links, so may be relevant.
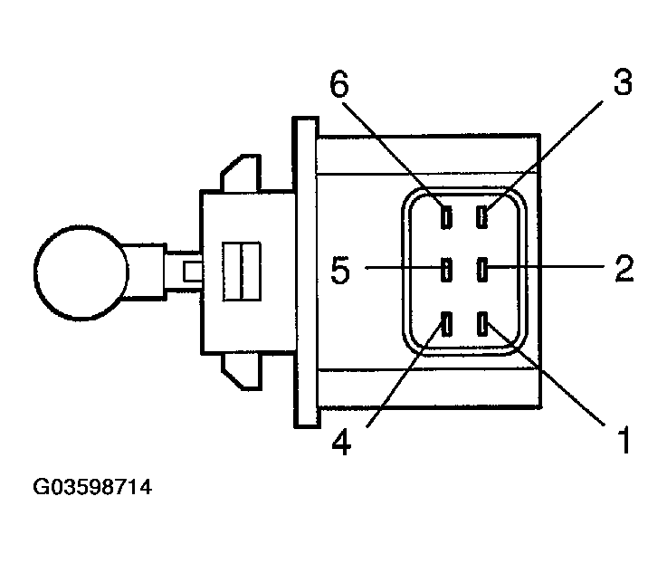
  1. INSPECT HEADLIGHT BEAM LEVEL CONTROL ACTUATOR RESISTANCE 
    1. Check that continuity exists between terminals 2 and 5.
    2. Check that resistance exists between terminals, as shown in HEADLIGHT BEAM LEVEL CONTROL ACTUATOR RESISTANCE  .
      HEADLIGHT BEAM LEVEL CONTROL ACTUATOR RESISTANCE

      Terminal Resistance (Ω)
      2 - 1 26 - 30
      2 - 3 26 - 30
      2 - 4 26 - 30
      2 - 6 26 - 30
      5 - 1 26 - 30
      5 - 3 26 - 30
      5 - 4 26 - 30
      5 - 6 26 - 30

      If resistance value is not as specified, replace the actuator.

      Fig 1: Identifying Terminals Of Headlight Beam Level Control Actuator
      G03598714Courtesy of © TOYOTA, LICENSE AGREEMENT TMS1002
  2. INSPECT FRONT HEIGHT CONTROL SENSOR 
    1. Connect 3 dry batteries of 1.5 V in series.
    2. Connect terminal 1 to the batteries' positive (+) terminal, and terminal 4 to the batteries' negative (-) terminal, then apply voltage about 4.5 V between terminals 1 and 4.
    3. Measure the voltage between terminals 2 and 4, when the height control sensor link is slowly moved up and down.
      FRONT HEIGHT CONTROL SENSOR VOLTAGE

      Sensor Link Position Voltage
      Max. Hl Approx. 4.05 V
      N Approx, 2.25 V
      Min. LO Approx, 0.45 V

      If voltage is not as specified, replace the height control sensor.

      Fig 2: Inspecting Front Height Control Sensor
      G03598715Courtesy of © TOYOTA, LICENSE AGREEMENT TMS1002
  3. INSPECT REAR HEIGHT CONTROL SENSOR 
    1. Connect 3 dry batteries of 1.5 V in series.
    2. Connect terminal 3 to the batteries' positive (+) terminal, and terminal 1 to the batteries' negative (-) terminal, then apply voltage about 4.5 V between terminals 1 and 3.
    3. Measure the voltage between terminals 1 and 2, when the height control sensor link is slowly moved up and down.
      REAR HEIGHT CONTROL SENSOR VOLTAGE

      Sensor Link Position Voltage
      Max. Hl Approx. 4.05 V
      N Approx. 2.25 V
      Min. LO Approx. 0.45 V

      If voltage is not as specified, replace the height control sensor.

      Fig 3: Inspecting Rear Height Control Sensor
      G03598716Courtesy of © TOYOTA, LICENSE AGREEMENT TMS1002
  4. Connector disconnected: INSPECT HEADLIGHT BEAM LEVEL CONTROL ECU CIRCUIT 

    Disconnect the connector from the ECU and inspect the connector on the wire harness side, as shown in Fig 4.

    Fig 4: Identifying Terminals Of Headlight Beam Level Control ECU Connector
    G03598717Courtesy of © TOYOTA, LICENSE AGREEMENT TMS1002
    HEADLIGHT BEAM LEVEL CONTROL ECU CONNECTOR SPECIFIED CONDITION

    Tester connection Condition Specified condition
    A1 - A5 Ignition switch OFF 26 - 30 Ω
    A1 - A6 Ignition switch OFF 26 - 30 Ω
    A1 - A7 Ignition switch OFF 26 - 30 Ω
    A1 - A8 Ignition switch OFF 26 - 30 Ω
    A4 - B4 ignition switch ON and light control switch HEAD Below 1.5 V
    B1 - B3 Ignition switch OFF 3.5 - 6.5 Ω
    B5 - B7 Ignition switch OFF 3.5 - 6.5 Ω
    A4 - Ground Ignition switch OFF Continuity

    If circuit is not as specified, perform the inspection on the following pages.

  5. Connector connected: INSPECT HEADLIGHT BEAM LEVEL CONTROL ECU CIRCUIT 

    Connect the connector from the ECU and inspect the connector, as shown in HEADLIGHT BEAM LEVEL CONTROL ECU CONNECTOR SPECIFIED CONDITION  .

    Fig 5: Identifying Terminals Of Headlight Beam Level Control ECU Connector
    G03598718Courtesy of © TOYOTA, LICENSE AGREEMENT TMS1002
    HEADLIGHT BEAM LEVEL CONTROL ECU CONNECTOR SPECIFIED CONDITION

    Tester connection Condition Specified condition
    A1 - A4 Ignition switch ON Battery positive voltage
    A1 - A5 Ignition switch ON, when stopping and bouncing the vehicle. Pulse generation
    A1 - A6 Ignition switch ON, when stopping and bouncing the.vehicle. Pulse generation
    A1 - A7 Ignition switch ON, when stopping and bouncing the vehicle. Pulse generation
    A1 - A8 Ignition switch ON, when stopping and bouncing the vehicle. Pulse generation
    B2 - B3 Ignition switch ON Approx. 2.5 V
    B6 - B7 Ignition switch ON Approx. 2.5 V
    B1 -B3 B5 - B7 Ignition switch ON 5 V

    If the circuit is not as specified, replace the ECU.

    Reference INSPECTION USING OSCILLOSCOPE 

    HINT:

    The correct waveform is as shown in Fig 6 .

    Fig 6: Identifying Pulse Generation Waveform Of Headlight Beam Level Control System
    G03598719Courtesy of © TOYOTA, LICENSE AGREEMENT TMS1002