LEMON Manuals: Even more car manuals for everyone: 1960-2025
Home >> Lexus >> 2002 >> GS 430 >> Repair and Diagnosis >> Restraints >> Restraints Control Systems >> Seat Belt >> Inspection
April 5, 2026: LEMON Manuals is launched! Read the announcement.

Seat Belt: Inspection

CAUTION: Replace the seat belt assembly (outer belt, inner belt, bolts, nuts or sill-bar) if it has been used in a severe impact. The entire assembly should be replaced even if damage is not obvious.
  1. All Seat belt type: RUNNING TEST (IN SAFE AREA) 
    1. Fasten the front seat belts.
    2. Drive the car at 10 mph (16 km/h) and slam on the brakes. Check that the belt locks and cannot be extended at this time.

    HINT:

    Conduct this test in a safe area. If the belt does not lock, remove the belt mechanism assembly and conduct the following static check. Also, whenever installing a new belt assembly, verify the proper operation before installation.

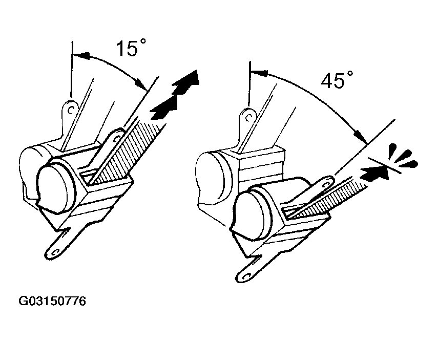
  2. Front seat belt (ELR): STATIC TEST 
    1. Make sure that the belt locks when pulled out quickly.
    2. Remove the locking retractor assembly.
    3. Tilt the retractor slowly.
    4. Make sure that the belt can be pulled out at a tilt of 15 degrees or less, and cannot be pulled out over 45 degrees of tilt.

      If a problem is found, replace the assembly.

  3. Rear seat belt (ALR/ELR): STATIC TEST 
    1. Make sure that the belt locks when pulled out quickly.
    2. Remove the locking retractor assembly.
    3. Pull out the whole belt and measure the length of the whole belt.

      Then retract the belt slightly and pull it out again.

    4. Make sure that the belt cannot be extended further.

      If a problem is found, replace the assembly.

      Fig 1: Testing Rear Seat Belt (ALR/ELR)
      G03150776Courtesy of © TOYOTA, LICENSE AGREEMENT TMS1002
    5. Retract the whole belt, then pull out the belt until 200 mm (7.87 in.) of belt remains retracted.
    6. Tilt the retractor slowly.
      Fig 2: Retracting Belt To Specified Length
      G03150777Courtesy of © TOYOTA, LICENSE AGREEMENT TMS1002
    7. Make sure that the belt can be pulled out at a tilt of 15 degrees or less, and cannot be pulled out at over 45 degrees of tilt.

      If a problem is found, replace the assembly.

      Fig 3: Testing Rear Seat Belt
      G03150778Courtesy of © TOYOTA, LICENSE AGREEMENT TMS1002