LEMON Manuals: Even more car manuals for everyone: 1960-2025
Home >> Lexus >> 2002 >> IS 300 Base, Automatic >> Repair and Diagnosis >> Engine Performance >> Adjustment >> Engine Mechanical >> Timing Belt >> Removal
April 5, 2026: LEMON Manuals is launched! Read the announcement.

Timing Belt: Removal

  1. REMOVE ENGINE UNDER COVER 
  2. DRAIN ENGINE COOLANT 
  3. REMOVE RADIATOR ASSEMBLY (See  REMOVAL  ) 
  4. M/T: 

    REMOVE DRIVE BELT TENSIONER ABSORBER 

    Remove the 2 nuts and absorber.

  5. REMOVE DRIVE BELT (See  REMOVAL & INSTALLATION  ) 
  6. REMOVE PS PUMP AND FRONT BRACKET 
    1. Remove the 3 bolts, plate washer and pump front bracket.
    2. Disconnect the vane pump from the bracket.
  7. REMOVE NO. 3 TIMING BELT COVER 

    Using a 5 mm hexagon wrench, remove the 4 bolts, oil filler cap, timing belt cover and gasket.

    Fig 1: Removing No. 3 Timing Belt Cover
    G00893516Courtesy of © TOYOTA, LICENSE AGREEMENT TMS1002
  8. REMOVE NO. 2 TIMING BELT COVER 

    Using a 5 mm hexagon wrench, remove 3 bolts, timing belt cover and gasket.

    Fig 2: Removing No. 2 Timing Belt Cover
    G00893517Courtesy of © TOYOTA, LICENSE AGREEMENT TMS1002
  9. REMOVE DRIVE BELT TENSIONER 

    Remove the 3 bolts and tensioner.

    NOTE: Be careful not to drop the bolts inside the timing belt cover.
    Fig 3: Removing Drive Belt Tensioner
    G00893518Courtesy of © TOYOTA, LICENSE AGREEMENT TMS1002
  10. LOOSEN CRANKSHAFT PULLEY BOLT 

    Using SST, loosen the pulley bolt.

    SST 09213-70011, 09330-00021

    Fig 4: Loosening Crankshaft Pulley Bolt
    G00893519Courtesy of © TOYOTA, LICENSE AGREEMENT TMS1002
  11. SET NO. 1 CYLINDER TO APPROX. 60° / BTDC COMPRESSION 
    1. Turn the crankshaft pulley, and align its groove with timing mark "0" of the No. 1 timing belt cover.
      Fig 5: Turning Crankshaft Pulley
      G00893520Courtesy of © TOYOTA, LICENSE AGREEMENT TMS1002
      NOTE: Always turn the crankshaft clockwise.
    2. Check that the timing marks (TDC mark) of the camshaft timing pulleys are aligned with the timing marks of the No. 4 timing belt cover.

      If not, turn the crankshaft 1 revolution (360°).

    3. Turn the crankshaft pulley 60° counterclockwise to place the sub timing mark (60° mark BTDC) on the crankshaft pulley at the timing mark "0" position of the No. 1 timing belt cover.
      Fig 6: Turning Crankshaft Pulley Counterclockwise
      G00893521Courtesy of © TOYOTA, LICENSE AGREEMENT TMS1002
      NOTE: If the timing belt is disengaged, having the crankshaft pulley at the wrong angle can cause the piston head and valve head to come into contact with each other when you remove the camshaft timing pulleys (steps 13 and 19), thus resulting damage. So, always set the crankshaft pulley at the correct angle.
    4. Check that the dot marks (60° mark BTDC) of the camshaft timing pulleys are aligned with the timing marks of the No. 4 timing belt cover.
    5. Remove the crankshaft pulley bolt.
      NOTE: Do not turn the crankshaft pulley.
      Fig 7: Removing Crankshaft Pulley Bolt
      G00893522Courtesy of © TOYOTA, LICENSE AGREEMENT TMS1002
  12. REMOVE TIMING BELT FROM CAMSHAFT TIMING PULLEYS 

    HINT:

    Re-using timing belt:

    Place matchmarks on the timing belt and camshaft timing pulleys as shown in Fig 8 .

    Fig 8: Placing Matchmarks On Timing Belt And Camshaft Timing Pulleys
    G00893523Courtesy of © TOYOTA, LICENSE AGREEMENT TMS1002
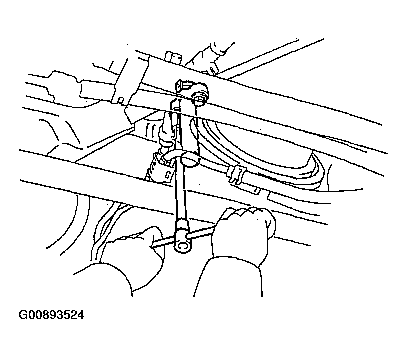
    1. Alternately loosen the 2 bolts, and remove them, the tensioner and dust boot.
      Fig 9: Removing Tensioner And Dust Boot
      G00893524Courtesy of © TOYOTA, LICENSE AGREEMENT TMS1002
    2. Disconnect the timing belt from the camshaft timing pulleys.
  13. REMOVE EXHAUST CAMSHAFT TIMING PULLEY 

    Using SST, remove the bolt and timing pulley.

    SST 09960-10010 (09962-01000, 09963-01000)

    Fig 10: Removing Bolt And Timing Pulley Using SST
    G00893525Courtesy of © TOYOTA, LICENSE AGREEMENT TMS1002
  14. REMOVE ENGINE COVER 

    Remove the 4 nuts and engine cover.

  15. REMOVE THROTTLE BODY AND INTAKE AIR CONNECTOR ASSEMBLY (See  VALVE CLEARANCE   ) 
  16. REMOVE NO. 1 CYLINDER HEAD COVER 
    1. Using a 5 mm hexagon wrench, remove the bolts, and disconnect the engine wire protector from the No. 2 cylinder head cover.
    2. Remove the nut, and disconnect the engine wire protector from the intake manifold.
    3. Remove the 2 bolts, and disconnect the high-tension cords with the clamp from the No. 2 cylinder head.
      Fig 11: Removing No. 1 Cylinder Head Cover
      G00893526Courtesy of © TOYOTA, LICENSE AGREEMENT TMS1002
    4. Remove the 2 nuts from the No. 1 cylinder head cover.
    5. Using a torx socket (E5), remove the 2 stud bolts.
      Fig 12: Removing Bolts Using Torx Socket
      G00893527Courtesy of © TOYOTA, LICENSE AGREEMENT TMS1002
    6. Remove the 6 bolts, No. 1 cylinder head cover and gasket.
  17. REMOVE CAMSHAFT TIMING OIL CONTROL VALVE (See  BASIC DIAGNOSTIC PROCEDURES  ) 
  18. DISCONNECT NO. 1 OIL PIPE 

    Remove the bolt, union bolt, oil control valve filter and 2 gaskets, and disconnect the No. 1 oil pipe from the No. 3 camshaft bearing cap.

    Fig 13: Removing Union Bolt
    G00893528Courtesy of © TOYOTA, LICENSE AGREEMENT TMS1002
  19. REMOVE VVT-i (INTAKE CAMSHAFT TIMING) PULLEY 
    NOTE:
    • The 5 bolts shown in Fig 14 determine the backlash of the gear in the timing pulley, so do not remove them.

      If any of the 5 bolts are removed, install a new camshaft timing pulley assembly.

    • When removing the straight screw plug, follow the prescribed procedure in order to avoid spilling oil on the timing system parts.
    Fig 14: Removing VVT-i Pulley (Intake Camshaft Timing) Pulley
    G00889216Courtesy of © TOYOTA, LICENSE AGREEMENT TMS1002
    1. Rotate the VVT-i pulley from left to right 2 to 3 times within its range of movement (30°) and use a waste cloth to collect the oil from the camshaft timing oil control valve installation hole.
      NOTE: Approximately 20 cc (1.2 cu in.) of oil will be ejected, so take care not to spill it.
    2. Holding the hexagon portion of camshaft with a wrench.
    3. Using a 14 mm hexagon wrench, remove the straight screw plug and seal washer.
      NOTE: Some oil may spill, so put a waster cloth below the plug white doing the operation.
      Fig 15: Removing Straight Screw Plug And Seal Washer
      G00889217Courtesy of © TOYOTA, LICENSE AGREEMENT TMS1002
    4. Using a 10 mm hexagon wrench, and remove the set bolt and VVT-i pulley.
    5. Remove the wrench.
  20. REMOVE CRANKSHAFT PULLEY 

    Using SST and bolt (diameter: 8 mm, pitch: 1.5 mm), remove the crankshaft pulley.

    1. SST 09950-50013 (09951-05010, 09552-05010, 09553-05020, 09554-05031)
    2. Bolt: Part No. 90119-18001
    Fig 16: Removing Crankshaft Pulley Using SST
    G00889218Courtesy of © TOYOTA, LICENSE AGREEMENT TMS1002
    NOTE: Do not turn the crankshaft pulley.
  21. REMOVE NO. 1 TIMING BELT COVER 

    Remove the 5 bolts, timing belt cover and gasket.

  22. REMOVE TIMING BELT GUIDE 
  23. REMOVE TIMING BELT 

    HINT:

    When re-using timing belt:

    Draw an arrow on the timing belt in the direction of engine revolution, and place matchmarks on the timing belt and crankshaft timing pulley.

    Fig 17: Drawing Arrow On Timing Belt
    G00889219Courtesy of © TOYOTA, LICENSE AGREEMENT TMS1002
  24. REMOVE IDLER PULLEY 

    Using a 10 mm hexagon wrench, remove the pivot bolt, plate washer and idler pulley.

    Fig 18: Removing Idler Pulley
    G00889220Courtesy of © TOYOTA, LICENSE AGREEMENT TMS1002
  25. REMOVE CRANKSHAFT TIMING PULLEY 
    1. Remove the bolt and timing belt plate.
    2. Remove the crankshaft timing pulley.

      If the pulley cannot be removed by hand, use SST and bolt (diameter: 8 mm, pitch: 1.5 mm) to remove the crankshaft timing pulley.

      1. SST 09950-50013 (09951-05010, 09952-05010, 09953-05020, 09954-05011)
      2. Bolt: Part No. 90119-18001
    Fig 19: Removing Crankshaft Timing Pulley
    G00889221Courtesy of © TOYOTA, LICENSE AGREEMENT TMS1002
    NOTE:
    • Do not scratch the sensor part the crankshaft timing pulley.
    • Do not turn the timing pulley.