LEMON Manuals: Even more car manuals for everyone: 1960-2025
Home >> Lexus >> 2002 >> IS 300 Base, Automatic >> Repair and Diagnosis >> Engine Performance >> Fuel Delivery >> Engine Mechanical >> Cylinder Block >> Inspection
April 5, 2026: LEMON Manuals is launched! Read the announcement.

Cylinder Block: Inspection

  1. CLEAN CYLINDER BLOCK 
    1. Remove the gasket material.

      Using a gasket scraper, remove all the gasket material from the cylinder block surface.

    2. Clean the cylinder block.

      Using a soft brush and solvent, thoroughly clean the cylinder block.

    Fig 1: Removing Gasket Material Using Gasket Scraper
    G00889452Courtesy of © TOYOTA, LICENSE AGREEMENT TMS1002
  2. INSPECT CYLINDER BLOCK SURFACE FOR FLATNESS 

    Using precision straight edge and feeler gauge, measure the top surfaces of the cylinder block for warpage.

    1. Maximum warpage: 0.07 mm (0.0028 in.) 
    Fig 2: Measuring Top Surfaces Of Cylinder Using Precision Straight Edge And Feeler
    G00889453Courtesy of © TOYOTA, LICENSE AGREEMENT TMS1002

    If warpage is greater than maximum, replace the cylinder block.

  3. INSPECT CYLINDER FOR VERTICAL SCRATCHES 

    Visually check the cylinder for vertical scratches.

    If deep scratches are present, replace the cylinder block.

    Fig 3: Inspecting Cylinder For Vertical Scratches
    G00889454Courtesy of © TOYOTA, LICENSE AGREEMENT TMS1002
  4. INSPECT CYLINDER BORE DIAMETER 

    Using a cylinder gauge, measure the cylinder bore diameter at positions A, B and C in the thrust and axial directions.

    1. Standard diameter: 86.000 - 86.013 mm (3.3858 - 3.3863 in.) 
    2. Maximum diameter: 86.02 mm (3.3866 in.) 
    Fig 4: Measuring Cylinder Bore Diameter At Positions
    G00889455Courtesy of © TOYOTA, LICENSE AGREEMENT TMS1002

    If the diameter is greater than maximum, replace the cylinder block.

  5. REMOVE CYLINDER RIDGE 

    If the wear is less than 0.2 mm (0.008 in.), using a ridge reamer, grind the top of the cylinder.

    Fig 5: Removing Cylinder Ridge
    G00889456Courtesy of © TOYOTA, LICENSE AGREEMENT TMS1002
  6. INSPECT MAIN BEARING CAP BOLTS 

    Using vernier calipers, measure the minimum diameter of the compressed thread at the measuring point.

    1. Standard diameter: 9.96 - 9.97 mm (0.3921 - 0.3925 in.) 
    2. Minimum diameter: 9.7 mm (0.382 in.) 
    Fig 6: Measuring Minimum Diameter Of Compressed Thread
    G00889457Courtesy of © TOYOTA, LICENSE AGREEMENT TMS1002

    If the diameter is less than minimum, replace the bolt.

  7. CLEAN PISTON 
    1. Using a gasket scraper, remove the carbon from the piston top.
      Fig 7: Removing Carbon From Piston Top Using Gasket Scraper
      G00889458Courtesy of © TOYOTA, LICENSE AGREEMENT TMS1002
    2. Using a groove cleaning tool or broken ring, clean the piston ring grooves.
      Fig 8: Cleaning Piston Ring Grooves
      G00889459Courtesy of © TOYOTA, LICENSE AGREEMENT TMS1002
    3. Using solvent and a brush, thoroughly clean the piston.
      NOTE: Do not use a wire brush.
  8. INSPECT PISTON OIL CLEARANCE 
    1. Using a micrometer, measure the piston diameter at right angles to the piston pin center line, 34 mm (1.34 in.) from the piston head.
      1. Piston diameter: 85.945 - 85.965 mm (3.3837 - 3.3844 in.) 
      Fig 9: Measuring Piston Diameter To Piston Pin Center Line From Piston Head
      G00889460Courtesy of © TOYOTA, LICENSE AGREEMENT TMS1002
    2. Measure the cylinder bore diameter in the thrust directions (See step 4).
    3. Subtract the piston diameter measurement from the cylinder bore diameter measurement.
      1. Standard oil clearance: 0.035 - 0.068 mm (0.0014 - 0.0027 in.) 
      2. Maximum oil clearance: 0.10 mm (0.0039 in.) 

    If the oil clearance is greater than maximum, replace all the 6 pistons. If necessary, replace the cylinder block.

  9. INSPECT PISTON RING GROOVE CLEARANCE 

    Using a feeler gauge, measure the clearance between new piston ring and the wall of the piston ring groove.

    Fig 10: Measuring Clearance Using Feeler Gauge
    G00889461Courtesy of © TOYOTA, LICENSE AGREEMENT TMS1002

    Ring groove clearance: 

    Fig 11: Ring Groove Clearance Chart
    G00889462Courtesy of © TOYOTA, LICENSE AGREEMENT TMS1002

    If the clearance is not as specified, replace the piston.

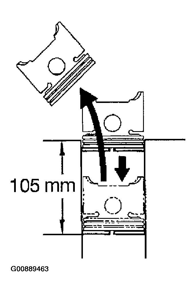
  10. INSPECT PISTON RING END GAP 
    1. Insert the piston ring into the cylinder bore.
      Fig 12: Inserting Piston Into Cylinder Bore
      G00889463Courtesy of © TOYOTA, LICENSE AGREEMENT TMS1002
    2. Using a piston, push the piston ring a little beyond the bottom of the ring travel, 105 mm (4.13 in.) from the top of the cylinder block.
    3. Using a feeler gauge, measure the ring end gap.
      Fig 13: Measuring Ring End Gap Using Feeler Gauge
      G00889464Courtesy of © TOYOTA, LICENSE AGREEMENT TMS1002

      Standard ring end gap: 

      Fig 14: Standard Ring End Gap Chart
      G00889465Courtesy of © TOYOTA, LICENSE AGREEMENT TMS1002

      Maximum ring end gap: 

      Fig 15: Maximum Ring End Gap Chart
      G00889466Courtesy of © TOYOTA, LICENSE AGREEMENT TMS1002

      If the end gap is greater than maximum, replace the piston ring. If the end gap is greater than maximum, even with a new piston ring, replace the cylinder block.

  11. INSPECT PISTON PIN FIT 

    At 80°C (176°F), you should be able to push the piston pin into the piston pin hole with your thumb.

    Fig 16: Inspecting Piston Pin Fit
    G00889467Courtesy of © TOYOTA, LICENSE AGREEMENT TMS1002
  12. INSPECT CONNECTING ROD ALIGNMENT 

    Using a feeler gauge and rod aligner, check the connecting rod alignment.

    • Check for out-of-alignment.
      1. Maximum out-of-alignment: 0.05 mm (0.0020 in.) per 100 mm (3.94 in.) 

      If out-of-alignment is greater than maximum, replace the connecting rod assembly.

      Fig 17: Checking For Out-Of-Alignment
      G00889468Courtesy of © TOYOTA, LICENSE AGREEMENT TMS1002
    • Check for twist.
      1. Maximum twist: 0.15 mm (0.0059 in.) per 100 mm (3.94 in.) 

    If twist is greater than maximum, replace the connecting rod assembly.

    Fig 18: Checking For Twist
    G00889469Courtesy of © TOYOTA, LICENSE AGREEMENT TMS1002
  13. INSPECT PISTON PIN OIL CLEARANCE 
    1. Using a caliper gauge, measure the inside diameter of the connecting rod bushing.
      1. Bushing inside diameter: 22.005 - 22.014 mm (0.8663 - 0.8667 in.) 
      Fig 19: Measuring Inside Diameter Of Connecting Rod Bushing
      G00889470Courtesy of © TOYOTA, LICENSE AGREEMENT TMS1002
    2. Using a micrometer, measure the piston pin diameter.
      1. Piston pin diameter: 21.997 - 22.006 mm (0.8660 - 0.8664 in.) 
      Fig 20: Measuring Piston Pin Diameter Using Micrometer
      G00889471Courtesy of © TOYOTA, LICENSE AGREEMENT TMS1002
    3. Subtract the piston pin diameter measurement from the bushing in side diameter measurement.
      1. Standard oil clearance: 0.005 - 0.011 mm (0.0002 - 0.0004 in.) 
      2. Maximum oil clearance: 0.05 mm (0.0020 in.) 

      If the oil clearance is greater than maximum, replace the bushing. If necessary, replace the piston and piston pin as a set.

  14. INSPECT CONNECTING ROD BOLTS 

    Using vernier calipers, measure the minimum diameter of the compressed bolt at the measuring point.

    1. Standard diameter: 8.1 - 8.3 mm (0.319 - 0.327 in.) 
    2. Minimum diameter: 8.0 mm (0.315 in.) 
    Fig 21: Measuring Diameter Of Connecting Rod Bolt Using Vernier Calipers
    G00889472Courtesy of © TOYOTA, LICENSE AGREEMENT TMS1002

    If the diameter is less than minimum, replace the connecting rod bolt.

  15. INSPECT CRANKSHAFT FOR RUNOUT 
    1. Place the crankshaft on V-blocks.
    2. Using a dial indicator, measure the circle runout at the center journal.
      1. Maximum circle runout: 0.06 mm (0.0024 in.) 
    Fig 22: Measuring Circle Runout Using Dial Indicator
    G00889473Courtesy of © TOYOTA, LICENSE AGREEMENT TMS1002

    If the circle runout is greater than maximum, replace the crankshaft.

  16. INSPECT MAIN JOURNALS AND CRANK PINS 
    1. Using a micrometer, measure the diameter of each main journal and crank pin.
      Fig 23: Measuring Diameter Of Each Main Journal And Crank Pin Using Micrometer
      G00889474Courtesy of © TOYOTA, LICENSE AGREEMENT TMS1002

      Main journal diameter: 

      Fig 24: Main Journal Diameter Chart
      G00889475Courtesy of © TOYOTA, LICENSE AGREEMENT TMS1002

      Crank pin diameter: 

      Fig 25: Crank Pin Diameter Chart
      G00889476Courtesy of © TOYOTA, LICENSE AGREEMENT TMS1002

      If the diameter is not as specified, check the oil clearance (See DISASSEMBLY  ).

    2. Check each main journal and crank pin for taper and out-of-round.
      1. Maximum taper and out-of round: 0.02 mm (0.0008 in.) 

    If the taper or out-of-round is greater than maximum, grind or replace the crankshaft.

  17. IF NECESSARY, GRIND AND HONE MAIN JOURNALS AND/OR CRANK PINS 
    • Grind and hone the main journals and/or crank pins to the finished undersized diameter (See procedure step  16).
    • Install new main journal and/or crank pin undersized bearings.