LEMON Manuals: Even more car manuals for everyone: 1960-2025
Home >> Lexus >> 2002 >> IS 300 Base, Automatic >> Repair and Diagnosis >> External Pages >> Different car >> Section 140 (Radiator) >> Radiator >> Components
April 5, 2026: LEMON Manuals is launched! Read the announcement.

Section 140 (Radiator): Radiator: Components

WARNING: This page is about a different car, the 2003 Lexus IS 300. However, it is still accessible from the selected car via links, so may be relevant.
Fig 1: Identifying Cooling System Components
G01314784Courtesy of © TOYOTA, LICENSE AGREEMENT TMS1002
Fig 2: Identifying Cooling System Components
G01314785Courtesy of © TOYOTA, LICENSE AGREEMENT TMS1002
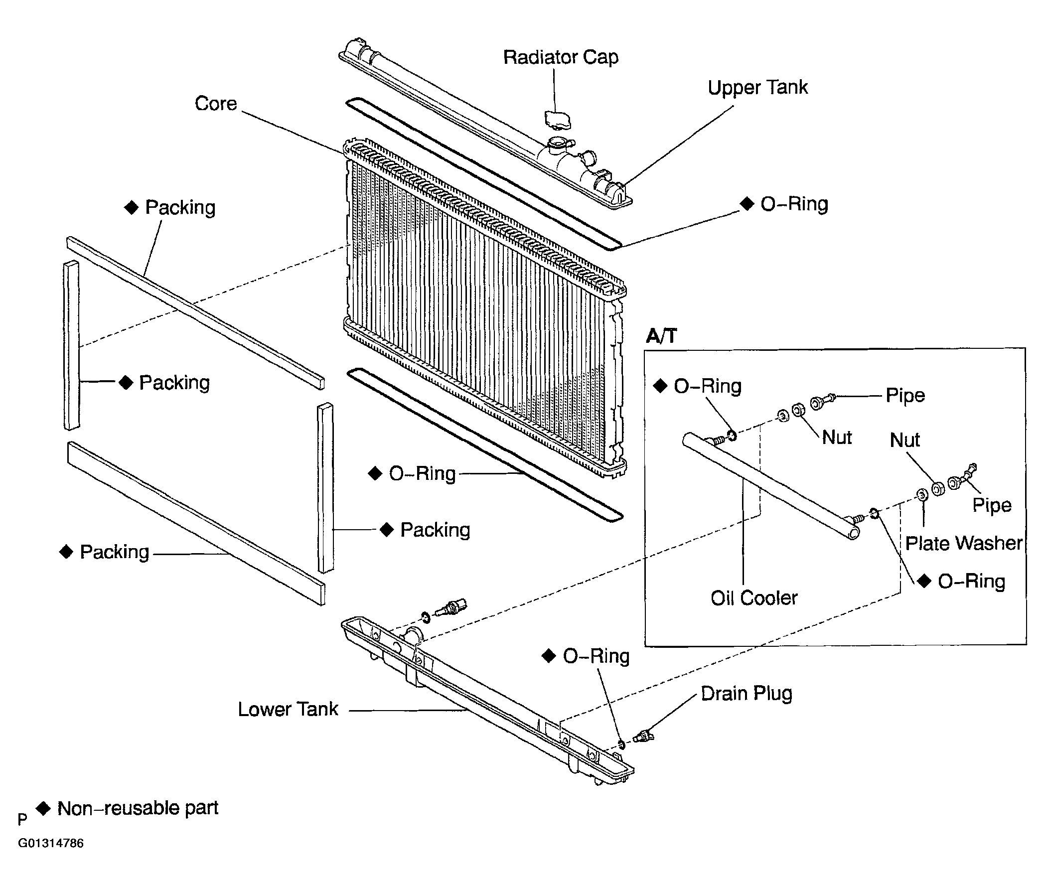
Fig 3: Exploded View Of Radiator
G01314786Courtesy of © TOYOTA, LICENSE AGREEMENT TMS1002