LEMON Manuals: Even more car manuals for everyone: 1960-2025
Home >> Lexus >> 2002 >> IS 300 SportCross >> Repair and Diagnosis >> Electrical >> Charging Systems >> Generator >> Inspection
April 5, 2026: LEMON Manuals is launched! Read the announcement.

Charging Systems: Generator: Inspection

  1. Inspect Voltage Regulator

    1. Using an ohmmeter, check the continuity between terminals F and B.

      Standard  : When the positive and negative poles between terminals F and B are exchanged, there is continuity in one way but no continuity in another way.

      If the continuity is not as specified, replace the regulator.

      Fig 1: Checking Continuity Between Terminals F & B
      G01179767Courtesy of © TOYOTA, LICENSE AGREEMENT TMS1002
    2. Using an ohmmeter, check the continuity between terminals F and E.

      Standard  : When the positive and negative poles between terminals F and E are exchanged, there is continuity in one way but no continuity in another way.

      If the continuity is not as specified, replace the regulator.

      Fig 2: Checking Continuity Between Terminals F & E
      G01179768Courtesy of © TOYOTA, LICENSE AGREEMENT TMS1002
  2. Inspect Rotor

    1. Check rotor for open circuit.

      Using an ohmmeter, check that there is continuity between the slip rings.

      Standard Resistance  : 2.1-2.5 ohms at 20°C (68°F)

      If there is no continuity, replace the rotor.

      Fig 3: Checking Rotor For Open Circuit
      G01179769Courtesy of © TOYOTA, LICENSE AGREEMENT TMS1002
    2. Check the rotor for ground.

      Using an ohmmeter, check that there is no continuity between the slip ring and rotor.

      If there is continuity, replace the rotor.

      Fig 4: Checking Rotor For Ground
      G01179770Courtesy of © TOYOTA, LICENSE AGREEMENT TMS1002
    3. Check that the slip rings are not rough or scored.

      If rough or scored, replace the rotor.

    4. Using vernier calipers, measure the slip ring diameter.

      Standard Diameter  : 14.2-14.4 mm (0.559-0.567 in.)

      Minimum Diameter  : 12.8 mm (0.504 in.)

    If the diameter is less than minimum, replace the rotor.

    Fig 5: Checking Slip Rings
    G01179771Courtesy of © TOYOTA, LICENSE AGREEMENT TMS1002
  3. Inspect Stator (Drive End Frame)

    1. Check the stator for open circuit.

      Using an ohmmeter, check that there is continuity between the coil leads.

      If there is no continuity, replace the drive end frame assembly.

      Fig 6: Checking Stator For Open Circuit
      G01179772Courtesy of © TOYOTA, LICENSE AGREEMENT TMS1002
    2. Check the stator for ground.

      Using an ohmmeter, check that there is no continuity between the coil lead and drive end frame.

    If there is continuity, replace the drive end frame assembly.

    Fig 7: Checking Stator For Ground
    G01179773Courtesy of © TOYOTA, LICENSE AGREEMENT TMS1002
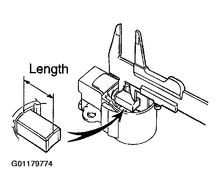
  4. Inspect Brushes

    Using vernier calipers, measure the exposed brush length.

    Standard Exposed Length  : 9.5-11.5 mm (0.374-0.453 in.)

    Minimum Exposed Length  : 1.5 mm (0.059 in.)

    If the exposed length is less than minimum, replace the brush holder assembly.

    Fig 8: Measuring Exposed Brush Length
    G01179774Courtesy of © TOYOTA, LICENSE AGREEMENT TMS1002
  5. Inspect Rectifiers (Rectifier Holder)

    1. Check the positive (+) rectifier.
      1. Using an ohmmeter, connect one tester probe to the positive (+) terminal and the other to each rectifier terminal.
      2. Reverse the polarity of the tester probes and repeat step (a).
      3. Check that one shows continuity and the other shows no continuity.

      If continuity is not as specified, replace the rectifier holder.

      Fig 9: Checking Positive Terminal
      G01179775Courtesy of © TOYOTA, LICENSE AGREEMENT TMS1002
    2. Check the negative (-) rectifier.
      1. Using an ohmmeter, connect one tester probe to each negative (-) terminal and the other to each rectifier terminal.
      2. Reverse the polarity of the tester probes and repeat step (b).
      3. Check that one shows continuity and the other shows no continuity.

      If continuity is not as specified, replace the rectifier holder.

      Fig 10: Checking Negative Terminal
      G01179776Courtesy of © TOYOTA, LICENSE AGREEMENT TMS1002
  6. Inspect Bearing

    Check the bearing is not rough or worn.

    If necessary, replace the bearing. See REPLACEMENT .