LEMON Manuals: Even more car manuals for everyone: 1960-2025
Home >> Lexus >> 2002 >> LS 430 >> Repair and Diagnosis >> Body & Frame >> Seats >> Front Seat >> Reassembly
April 5, 2026: LEMON Manuals is launched! Read the announcement.

Front Seat: Reassembly

  1. INSTALL SLIDE MOTOR 

    Install the slide motor with the 2 screws.

    Torque: 2.5 N.m (25 kgf.cm, 22 in.lbf) 

    Fig 1: Installing Slide Motor
    G03150719Courtesy of © TOYOTA, LICENSE AGREEMENT TMS1002
  2. INSTALL SEAT CUSHION SLIDE MOTOR 

    Install the seat cushion slide motor with the 2 screws.

    Torque: 2.5 N.m (25 kgf.cm, 22 in.lbf) 

  3. INSTALL FRONT SEAT TRAVEL NO. 1 LINK 
    1. Install the front seat travel No. 1 link with the bolt.
    2. Fig 2: Installing Seat Travel No. 1 Link
      G03150720Courtesy of © TOYOTA, LICENSE AGREEMENT TMS1002
    3. Employ the same manner described above to the other side.
  4. INSTALL SEAT CUSHION SPRING 
  5. INSTALL NO. 1 SEAT CUSHION PLATE 

    Install the No. 1 seat cushion plate with the 2 bolts.

    Fig 3: Installing No. 1 Seat Cushion Plate
    G03150721Courtesy of © TOYOTA, LICENSE AGREEMENT TMS1002
  6. INSTALL TILT MOTOR 

    Install the tilt motor with the 2 screws.

    Torque: 2.5 N.m (25 kgf.cm, 22 in.lbf) 

  7. INSTALL LIFTER MOTOR 

    Install the lifter motor with the 2 screws.

    Torque: 2.5 N.m (25 kgf.cm, 22 in.lbf) 

    Fig 4: Installing Lifter Motor
    G03150722Courtesy of © TOYOTA, LICENSE AGREEMENT TMS1002
  8. INSTALL RECLINING MOTOR 
    1. Install the reclining motor with the 2 screws to the bracket.
    2. Install the reclining motor assembly with the 2 bolts.
      Fig 5: Installing Reclining Motor
      G03150723Courtesy of © TOYOTA, LICENSE AGREEMENT TMS1002
  9. INSTALL POWER RECLINING ADJUSTER ASSEMBLY 

    Using a Torx socket wrench, install the power reclining adjuster assembly with the 4 Torx screws.

    Torx socket wrench: T40 (Part No. 09042-00020 or locally manufactured tool) 

    Torque: 19 N.m (195 kgf.cm, 14 ft.lbf) 

    Fig 6: Installing Power Reclining Adjuster Assembly
    G03150724Courtesy of © TOYOTA, LICENSE AGREEMENT TMS1002
  10. INSTALL RECLINING ADJUSTER INSIDE COVER 
    1. Install the reclining adjuster inside cover with the screw.
      Fig 7: Installing Reclining Adjuster Inside Cover
      G03150725Courtesy of © TOYOTA, LICENSE AGREEMENT TMS1002
    2. Employ the same manner described above to the other side.
  11. INSTALL SEAT CUSHION COVER 

    Install the seat cushion cover with new hog rings to the seat cushion pad.

    HINT:

    When installing hog ring, take care to prevent wrinkles as much as possible.

  12. INSTALL SEAT CUSHION FRAME 

    Set the seat cushion frame to the seat cushion cover with pad, then engage the seat cushion cover hooks.

  13. INSTALL SEAT CUSHION ASSEMBLY 

    Install the seat cushion assembly with the 4 bolts.

    Torque: 21 N.m (214 kgf.cm, 15 ft.lbf) 

    Fig 8: Installing Seat Cushion Assembly
    G03150726Courtesy of © TOYOTA, LICENSE AGREEMENT TMS1002
  14. INSTALL LOWER SEAT CUSHION SHIELD 

    Install the lower seat cushion shield with the 4 nuts.

    Fig 9: Installing Lower Seat Cushion Shield
    G03150727Courtesy of © TOYOTA, LICENSE AGREEMENT TMS1002
  15. Climate control seat: INSTALL AIR RESERVOIR ASSEMBLY 
    1. Install the air reservoir assembly with the bolt.
    2. Connect the connectors and engage the connector clamps.
    3. Engage the seat cushion cover hook.
      Fig 10: Installing Air Reservoir Assembly
      G03150728Courtesy of © TOYOTA, LICENSE AGREEMENT TMS1002
  16. INSTALL LUMBER SUPPORT ADJUSTER 
    1. Install the lumber support adjuster and spacer with the 2 bolts.

      Torque: 5.2 N.m (54 kgf.cm, 47 in.lbf) 

    2. Employ the same manner described above to the other side.
      Fig 11: Installing Lumber Support Adjuster
      G03150729Courtesy of © TOYOTA, LICENSE AGREEMENT TMS1002
  17. Climate control seat: INSTALL AIR DUCT 

    Install the air duct and bracket with the 2 screws to the seatback frame.

    Fig 12: Installing Air Duct
    G03150730Courtesy of © TOYOTA, LICENSE AGREEMENT TMS1002
  18. INSTALL HEADREST ADJUSTER 
    1. Install the headrest adjuster with the 3 bolts to the seat-back frame.

      Torque: 5.2 N.m (54 kgf.cm, 47 in.lbf) 

      Fig 13: Installing Headrest Adjuster
      G03150731Courtesy of © TOYOTA, LICENSE AGREEMENT TMS1002
    2. Engage the connector clamps.
  19. INSTALL SEATBACK COVER 

    Install the seatback cover with now hog rings to the seatback pad.

  20. INSTALL SEATBACK FRAME 
    1. Install the seatback frame to the seatback cover with pad.
    2. Install the seatback cover hook with the bolt.

      Torque: 5.2 N.m (54 kgf.cm, 47 in.lbf) 

      Fig 14: Installing Seatback Cover
      G03150732Courtesy of © TOYOTA, LICENSE AGREEMENT TMS1002
      NOTE: Do not damage the side AIRBAG assembly.
  21. INSTALL HEADREST SUPPORTS 
  22. INSTALL HEADREST 

    Install the headrest to the seatback assembly.

  23. INSTALL SEATBACK ASSEMBLY 
    1. Install the seatback assembly with the 4 bolts.

      Torque: 43 N.m (440 kgf.cm, 32 ft.lbf) 

      Fig 15: Installing Seatback Assembly
      G03150733Courtesy of © TOYOTA, LICENSE AGREEMENT TMS1002
    2. Connect the connectors and engage the clamps.
    3. Climate control seat:

      Connect the air duct and install it with the 3 screws.

  24. INSTALL SEATBACK BOARD 

    Install the seatback board as shown in Figure, then install the 2 screws.

  25. INSTALL POWER SEAT SWITCH 
  26. INSTALL FRONT SEAT CUSHION FRONT SHIELD 

    Slide the front seat cushion front shield rearward, then install it with the 4 screws.

    Fig 16: Installing Front Seat Cushion Front Shield
    G03150735Courtesy of © TOYOTA, LICENSE AGREEMENT TMS1002
  27. INSTALL FRONT SEAT CUSHION INNER SHIELD 

    Install the front seat cushion inner shield with the 3 screws.

    Fig 17: Installing Front Seat Cushion Inner Shield
    G03150736Courtesy of © TOYOTA, LICENSE AGREEMENT TMS1002
  28. INSTALL FRONT SEAT INNER BELT 

    Install the front seat inner belt with the nut.

    Torque: 42 N.m (430 kgf.cm, 31 ft.lbf) 

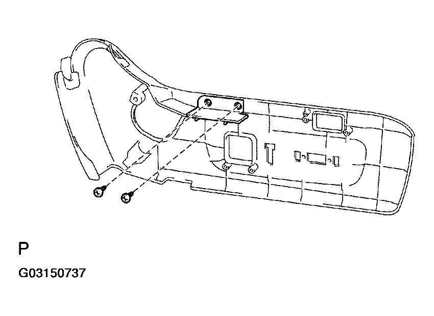
  29. INSTALL FRONT SEAT HINGE COVER 

    Install the front seat hinge cover with the 2 screws to the front seat cushion shield.

    Fig 18: Installing Front Seat Hinge Cover
    G03150737Courtesy of © TOYOTA, LICENSE AGREEMENT TMS1002
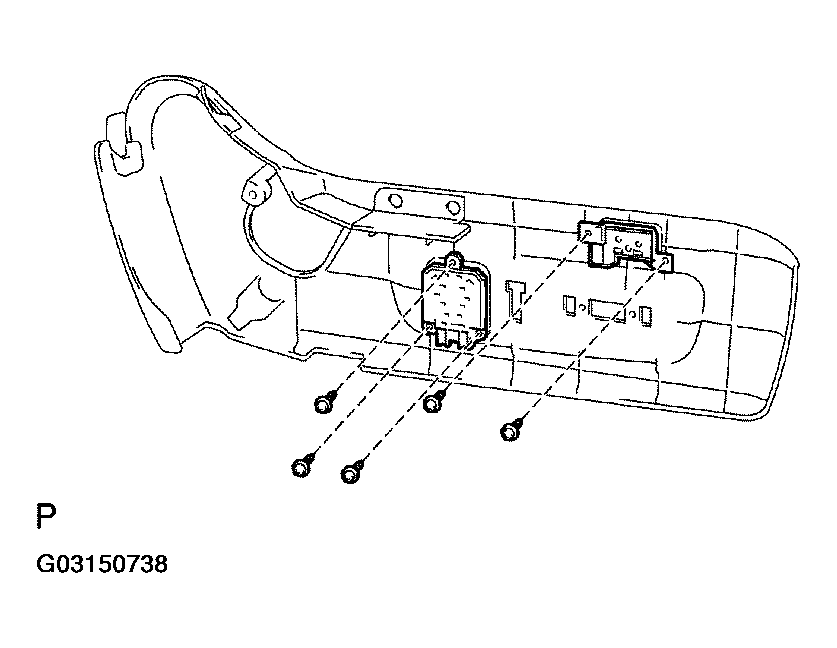
  30. INSTALL SEAT CUSHION SWITCH AND POWER LUMBER SUPPORT SWITCH 
    1. Install the seat cushion switch with the 2 screws.
    2. Install the power lumber support switch with the 3 screws.
    3. Connect the connectors.
      Fig 19: Installing Seat Cushion Switch & Power Lumber Support Switch
      G03150738Courtesy of © TOYOTA, LICENSE AGREEMENT TMS1002
  31. INSTALL FRONT SEAT CUSHION SHIELD 

    Install the front seat cushion shield with the 4 screws.

    Fig 20: Installing Front Seat Cushion Shield
    G03150739Courtesy of © TOYOTA, LICENSE AGREEMENT TMS1002
  32. INSTALL SEAT POSITION SENSOR ASSEMBLY 

    Install the seat position sensor assembly with a new bolt.

    Part No. 90119-06871 

    Torque: 8.0 N.m (82 kgf.cm, 71 in.lbf) 

    Fig 21: Installing Front Seat Sensor
    G03150740Courtesy of © TOYOTA, LICENSE AGREEMENT TMS1002
    NOTE:
    • Make sure the sensor assembly is installed with the specified torque.
    • If the sensor assembly has been dropped, or there are cracks, dents or other defects in the case, bracket or connector, replace the sensor assembly with a new one.
    • When installing the sensor assembly, take care that the SRS wiring does not interfere with other parts and is not pinched between other parts.
    • After installation, shake the sensor assembly to check that there is no looseness.
  33. INSTALL POWER SEAT SWITCH KNOBS 
  34. INSTALL FRONT SEAT UNDER TRAY RAIL 
  35. INSTALL FRONT SEAT UNDER TRAY 

    Install the front seat under tray with the 4 screws.