LEMON Manuals: Even more car manuals for everyone: 1960-2025
Home >> Lexus >> 2002 >> LS 430 >> Repair and Diagnosis >> External Pages >> Different car >> Section 162 (Air Conditioning System) >> Relay >> Inspection
April 5, 2026: LEMON Manuals is launched! Read the announcement.

Section 162 (Air Conditioning System): Relay: Inspection

WARNING: This page is about a different car, the 2003 Lexus LS 430. However, it is still accessible from the selected car via links, so may be relevant.
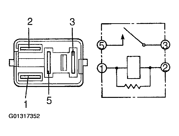
  1. MAGNETIC CLUTCH RELAY 
    1. Remove the magnetic clutch relay from engine room No. 1 R/B.
      Fig 1: Identifying Magnetic Clutch Relay
      G01317350Courtesy of © TOYOTA, LICENSE AGREEMENT TMS1002
    2. Inspect magnetic clutch relay continuity.
      Fig 2: Clutch Relay Continuity Specifications
      G01317351Courtesy of © TOYOTA, LICENSE AGREEMENT TMS1002
      Fig 3: Identifying Magnetic Clutch Relay Terminals
      G01317352Courtesy of © TOYOTA, LICENSE AGREEMENT TMS1002

    If continuity is not as specified, replace the relay.

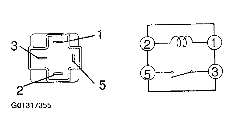
  2. COOLING FAN RELAY 
    1. Remove the cooling fan relay from fusible link block.
      Fig 4: Identifying Cooling Fan Relay
      G01317353Courtesy of © TOYOTA, LICENSE AGREEMENT TMS1002
    2. Inspect cooling fan relay continuity.
      Fig 5: Cooling Fan Relay Continuity Specifications
      G01317354Courtesy of © TOYOTA, LICENSE AGREEMENT TMS1002
      Fig 6: Identifying Cooling Fan Relay Terminals
      G01317355Courtesy of © TOYOTA, LICENSE AGREEMENT TMS1002

    If continuity is not as specified, replace the relays.